TOP
|
特許
|
意匠
|
商標
特許ウォッチ
Twitter
他の特許を見る
10個以上の画像は省略されています。
公開番号
2025165346
公報種別
公開特許公報(A)
公開日
2025-11-04
出願番号
2024069407
出願日
2024-04-22
発明の名称
流路形成部材、及び、流路形成構造
出願人
未来工業株式会社
代理人
個人
主分類
A01G
25/00 20060101AFI20251027BHJP(農業;林業;畜産;狩猟;捕獲;漁業)
要約
【課題】大雨の際においても、作業を要することなく通常の貯水量よりも高い水位とすることが可能な流路形成部材を提供する。
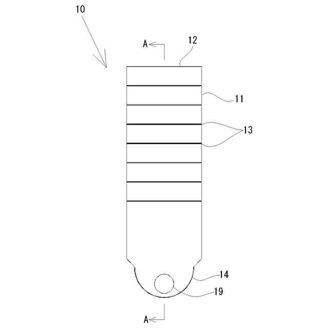
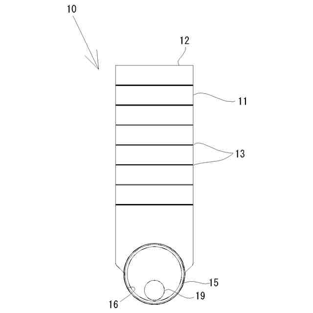
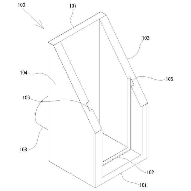
【解決手段】水田の落口桝100内への水の流入を制限する水位調整機構110が設けられている当該落口桝100内の、水位調整機構110と、落口桝100の内外を連通する排水路108と、の間に配置される流路形成部材である。筒状であり、水位調整機構110よりも上方に配置可能であり且つ水が流入可能な流入口12と、排水路108へ水を流出可能な流出口16と、を備え、流入口12と流出口16とを繋ぐオーバーフロー用流路が内部に形成されている。加えて、水位調整機構110を越えて落口桝100内に流入した水を、オーバーフロー用流路の流入口12と流出口16との間に合流させる合流口19が設けられており、流入口12およびオーバーフロー用流路の流路断面積は、合流口19の流路断面積よりも大きい。
【選択図】図15
特許請求の範囲
【請求項1】
水田の落口桝内への水の流入を制限する水位調整機構が設けられている当該落口桝内の、前記水位調整機構と、前記落口桝の内外を連通する排水路と、の間に配置される流路形成部材であって、
筒状であり、前記水位調整機構よりも上方に配置可能であり且つ水が流入可能な流入口と、前記排水路へ水を流出可能な流出口と、を備え、前記流入口と前記流出口とを繋ぐオーバーフロー用流路が内部に形成されており、
前記水位調整機構を越えて前記落口桝内に流入した水を、前記オーバーフロー用流路の前記流入口と前記流出口との間に合流させる合流口が設けられており、
前記流入口および前記オーバーフロー用流路の流路断面積は、前記合流口の流路断面積よりも大きい、流路形成部材。
続きを表示(約 780 文字)
【請求項2】
前記水路形成筒は、前記排水路に内嵌可能な接続筒を備え、前記流出口は前記接続筒に設けられている、請求項1に記載の流路形成部材。
【請求項3】
前記合流口の流路断面積は前記流出口の流路断面積よりも小さい、請求項2に記載の流路形成部材。
【請求項4】
前記接続筒の外周に、前記接続筒と前記排水路との相対的な回動を抑制する環状の滑り止め部材が外嵌されている、請求項2に記載の流路形成部材。
【請求項5】
前記オーバーフロー用流路の外周を構成する周壁には、肉厚が薄い肉薄部が形成されている、請求項1~4のいずれか1項に記載の流路形成部材。
【請求項6】
落口桝の対向する一対の側壁と、内外を連通する排水路とを備える落口桝における流路形成構造であって、
前記側壁の間に設けられ、落口桝内への水の流入を制限する水位調整機構と、
請求項1に記載の流路形成部材と、を有し、
前記流路形成部材は、前記流入口の位置が、前記水位調整機構よりも高く、且つ、前記落口桝が設置されている水田の畦よりも低い位置となるように、前記落口桝に取り付けられており、
前記合流口の流路断面積は、前記排水路の流路断面積よりも小さい、落口桝における流路形成構造。
【請求項7】
前記流路形成部材は、前記流出口が設けられ、前記排水路に内嵌可能な接続筒を備え、
前記接続筒の外面と前記排水路の内面との間には、相対的な回動を抑制する滑り防止部材が設けられており、
前記流路形成部材が前記接続筒の中心軸を軸心として回動した場合に、前記流路形成部材は前記落口桝に当接し、前記流入口は前記水位調整機構の上端よりも高い位置に維持される、請求項6に記載の流路形成構造。
発明の詳細な説明
【技術分野】
【0001】
本発明は、水田の落口桝に設置される流路形成部材、及び、その流路形成部材を備える流路形成構造に関する。
続きを表示(約 1,500 文字)
【背景技術】
【0002】
従来、水田の導水路には落口桝が設けられており、水田に貯水を行う場合には落口桝に対して木板等の水位調整機構を取り付けることにより水の流出を抑制し、水田から排水を行う場合には落口桝に取り付けられている水位調整機構を取り外している。
【0003】
また、水田の水位を容易に調整することが可能な水位調整装置として、特許文献1に記載の水位調整装置がある。特許文献1に記載の水位調整装置は、水田に設けられた落口桝内に嵌められた基準堰板にエルボ管が設けられており、エルボ管の高さを変更することで、水田の水位を調整することができる。この水位調整装置を利用するうえで、大雨が降った場合にはエルボ管に蓋を取り付けることで、エルボ管の上端よりも高い水位まで貯水が可能となっており、河川への排水量の急増を抑制することができる。また、基準堰板の上端近傍には、オーバーフロー孔が設けられており、エルボ管に蓋が取り付けられている状態で水位が上昇しすぎた場合にはオーバーフロー孔からの排水が行われるため、水田の畔からの越水を抑制することもできる。
【先行技術文献】
【特許文献】
【0004】
特開2023-121320号公報
【発明の概要】
【発明が解決しようとする課題】
【0005】
特許文献1に記載の水位調整装置では、大雨の際にはエルボ管に蓋を取り付ける作業が必要であり、その作業を行わない場合には、大雨の際の貯水効果を得ることができなかった。
【0006】
本発明は、上記課題を解決するためになされたものであり、その主たる目的は、大雨の際においても、作業を要することなく通常の貯水量よりも高い水位とすることが可能な流路形成部材を提供することにある。
【課題を解決するための手段】
【0007】
第1の構成は、水田の落口桝内への水の流入を制限する水位調整機構が設けられている当該落口桝内の、前記水位調整機構と、前記落口桝の内外を連通する排水路と、の間に配置される流路形成部材であって、筒状であり、前記水位調整機構よりも上方に配置可能であり且つ水が流入可能な流入口と、前記排水路へ水を流出可能な流出口と、を備え、前記流入口と前記流出口とを繋ぐオーバーフロー用流路が内部に形成されており、前記水位調整機構を越えて前記落口桝内に流入した水を、前記オーバーフロー用流路の前記流入口と前記流出口との間に合流させる合流口が設けられており、前記流入口および前記オーバーフロー用流路の流路断面積は、前記合流口の流路断面積よりも大きい。
【0008】
第1の構成では、水位調整機構よりも上方にオーバーフロー用流路の流入口を配置することができるため、大雨の際に水位調整機構の高さを変更することなく、オーバースロー水路の流入口の位置まで水を溜めることができる。また、水位が水位調整機構よりも高くなった場合において、水位が流入口の位置に到達する前に合流口を介した排水が可能である。したがって、合流口を介した排水により水位の上昇を緩やかにすることができるうえ、水位が流入口の位置に到達した場合には、合流口よりも流路断面積の大きいオーバーフロー用流路を介した排水により、水位のさらなる上昇を抑制することができる。
【0009】
第2構成は、第1の構成に加えて、前記排水路に内嵌可能な接続筒を備え、前記流出口は前記接続筒に設けられている。
【0010】
第2の構成では、流出口から排水路の内部へ排水可能であるため、排水の効率を向上させることができる。
(【0011】以降は省略されています)
この特許をJ-PlatPat(特許庁公式サイト)で参照する
関連特許
未来工業株式会社
結束具
29日前
未来工業株式会社
配線・配管材保持具
1日前
未来工業株式会社
スリーブ装置及び筒連結構造
16日前
未来工業株式会社
型枠形成補助具、型枠形成装置、及び型枠設置構造
29日前
個人
産卵床
8日前
個人
釣り用錘
26日前
個人
草刈り鋏
1か月前
個人
蠅捕獲器
1か月前
個人
平板植栽
9日前
個人
蜜蜂保護装置
1か月前
個人
果実袋
8日前
個人
噴霧器ノズル
24日前
個人
種子の製造方法
1か月前
個人
草刈機用回転刃
1か月前
個人
養殖器具
8日前
個人
移動体草刈り機
8日前
個人
昆虫捕集器
1か月前
個人
水田排水量調整器具
8日前
株式会社剛樹
釣り竿
22日前
個人
可動リップ付きルアー
29日前
個人
ブルーカーボンシステム
29日前
株式会社ナベル
表示システム
1か月前
個人
餌付き針の餌取り防止具
1か月前
井関農機株式会社
圃場作業機
1日前
井関農機株式会社
圃場作業機
29日前
個人
四足動物用装着具
1か月前
有限会社信英精密
括り罠
16日前
積水樹脂株式会社
シート止め具
8日前
みのる産業株式会社
除草機
1か月前
松山株式会社
収穫機
29日前
個人
粘着板で挟むネズミ捕り装置
8日前
みのる産業株式会社
除草機
1か月前
株式会社オーツボ
海苔箱船
1か月前
個人
網口高さのベクトル底引き網
8日前
井関農機株式会社
作業車両
1か月前
松山株式会社
収穫機
29日前
続きを見る
他の特許を見る