TOP
|
特許
|
意匠
|
商標
特許ウォッチ
Twitter
他の特許を見る
10個以上の画像は省略されています。
公開番号
2025167897
公報種別
公開特許公報(A)
公開日
2025-11-07
出願番号
2024072900
出願日
2024-04-26
発明の名称
型枠形成補助具、型枠形成装置、及び型枠設置構造
出願人
未来工業株式会社
代理人
個人
,
個人
主分類
E04G
9/10 20060101AFI20251030BHJP(建築物)
要約
【課題】型枠を容易に設置できる型枠形成補助具、型枠形成装置、及び型枠設置構造を提供すること。
【解決手段】型枠形成補助具30は、間隔決定部材31と、型枠板連結部材41とを有する。間隔決定部材31は、保護管の外径よりも広い間隔で対向する一対の直線部32を有するとともに、一対の直線部32の端部同士を繋ぐ繋部33を有する。型枠板連結部材41は、板状の基部43を有し、当該基部43を挟んで互いに反対方向に開口し、かつ互いに平行に延びて型枠板の端縁部を嵌め込み可能な一対の溝部47を有するとともに、直線部32を基部43に取り付ける取付部49を有する。そして、型枠形成補助具30は、一対の直線部32の各々を、取付部49を用いて基部43に取り付けることで、間隔決定部材31によって一対の型枠板連結部材41の間隔を定めることを可能とする。
【選択図】図5
特許請求の範囲
【請求項1】
埋設される管材を防護する防護コンクリートを形成する際、前記防護コンクリートの型枠の設置を補助するために用いられる型枠形成補助具であって、
前記型枠を形成するために前記管材を径方向に挟んで対向するように配置される型枠板を設置するために用いられ、
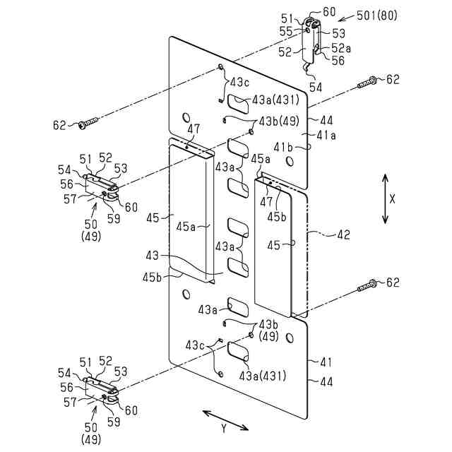
前記管材の外径よりも広い間隔で対向する一対の直線部を有するとともに、一対の前記直線部の端部同士を繋ぐ繋部を有するコ字状の間隔決定部材と、
板状の基部を有し、当該基部を挟んで互いに反対方向に開口し、かつ互いに平行に延びて前記型枠板の端縁部を嵌め込み可能な一対の溝部を有するとともに、前記直線部を前記基部に取り付ける取付部を有する型枠板連結部材と、を有し、
一対の前記直線部の各々を、前記取付部を用いて前記基部に取り付けることで、前記間隔決定部材によって一対の前記型枠板連結部材の間隔を定めることを可能とする型枠形成補助具。
続きを表示(約 2,200 文字)
【請求項2】
前記間隔決定部材は、棒状体を前記コ字状に折り曲げて形成され、
前記取付部は、
前記型枠板連結部材とは別部材であり、前記直線部を保持する保持部材と、
前記保持部材を取り付けるために前記基部に設けられた取付孔と、から構成され、
前記取付孔は、前記保持部材を異なる位置に変更して取り付け可能となるよう、又は複数の前記保持部材を取り付け可能となるように複数形成されている請求項1に記載の型枠形成補助具。
【請求項3】
埋設される管材を防護する防護コンクリートを形成する際、前記防護コンクリートの型枠を形成するために用いられる型枠形成装置であって、
前記型枠を形成するとともに、前記管材を径方向に挟んで対向するように配置される型枠板と、
前記型枠の設置を補助するために用いられる型枠形成補助具と、を有し、
前記型枠形成補助具は、
前記管材の外径よりも広い間隔で対向する一対の直線部を有するとともに、一対の前記直線部の端部同士を繋ぐ繋部を有するコ字状の間隔決定部材と、
板状の基部を有し、当該基部を挟んで互いに反対方向に開口し、かつ互いに平行に延びて前記型枠板の端縁部を嵌め込み可能な一対の溝部を有するとともに、前記直線部を前記基部に取り付ける取付部を有する型枠板連結部材と、を有し、
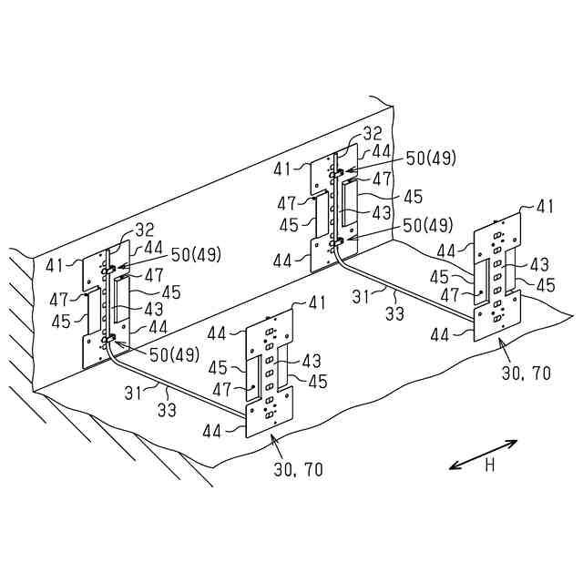
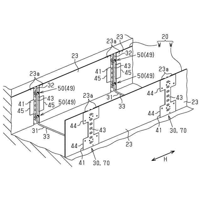
一対の前記型枠板連結部材と前記間隔決定部材とを組付けて形成された型枠支持具が、前記管材の敷設方向に離間して複数配置されるとともに、
前記敷設方向に隣り合い、かつ互いに向かい合って開口する前記溝部に前記型枠板の前記端縁部が嵌め込まれ、
前記型枠板が前記敷設方向に直交する対向方向に前記管材を挟んで配置され、
前記敷設方向に延在する複数の前記型枠板によって前記対向方向に対向する型枠壁が形成されていることを特徴とする型枠形成装置。
【請求項4】
前記敷設方向に隣り合う前記型枠支持具の前記型枠板連結部材は、接続装置によって前記敷設方向へ接続されている請求項3に記載の型枠形成装置。
【請求項5】
前記接続装置は、
前記敷設方向に直線状に延びる棒状の接続棒材と、
前記接続棒材を保持する保持部、及び前記保持部と一体であり、かつ前記基部に組付けられる組付部を有する接続装置用保持部材と、を有し、
前記接続装置用保持部材は、前記接続棒材を前記型枠板の板面に沿わせた状態に保持可能である請求項4に記載の型枠形成装置。
【請求項6】
前記基部は、前記対向方向に対向する一対の前記型枠板連結部材に架設されて前記防護コンクリートに埋設される架設部材を取り付け可能な架設部を有し、
前記架設部は、前記管材よりも上方で前記架設部材を取付可能とする位置に設けられている請求項3~請求項5のいずれか一項に記載の型枠形成装置。
【請求項7】
前記基部は、前記対向方向に対向する一対の前記型枠板連結部材に架設されて前記防護コンクリートに埋設される架設部材を取り付け可能な架設部を有し、
前記架設部は、前記管材よりも上方で、かつ複数箇所で前記架設部材を取付可能とする位置に設けられている請求項3~請求項5のいずれか一項に記載の型枠形成装置。
【請求項8】
埋設される管材を防護する防護コンクリートを形成する型枠を設置するための型枠設置構造であって、
前記型枠を形成するとともに、前記管材を径方向に挟んで対向するように配置される型枠板と、
前記型枠の設置を補助するために用いられる型枠形成補助具と、を有し、
前記型枠形成補助具は、
前記管材の外径よりも広い間隔で対向する一対の直線部を有するとともに、一対の前記直線部の端部同士を繋ぐ繋部を有するコ字状の間隔決定部材と、
板状の基部を有し、当該基部を挟んで互いに反対方向に開口し、かつ互いに平行に延びて前記型枠板の端縁部を嵌め込み可能な一対の溝部を有するとともに、前記直線部を前記基部に取り付ける取付部を有する型枠板連結部材と、を有し、
一対の前記型枠板連結部材と前記間隔決定部材とを組付けて形成された型枠支持具が、前記管材の敷設方向に離間して複数配置されるとともに、
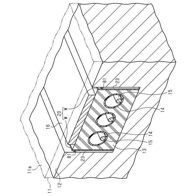
複数の前記繋部の上方に前記管材が配置されており、
前記敷設方向に隣り合い、かつ互いに向かい合って開口する前記溝部に前記型枠板の前記端縁部が嵌め込まれるとともに、前記型枠板が前記敷設方向に直交する対向方向において前記管材を挟んで配置され、
前記敷設方向に延在する複数の前記型枠板によって前記敷設方向に延在する一対の型枠壁が形成されていることを特徴とする型枠設置構造。
【請求項9】
前記対向方向に対向する一対の前記型枠板連結部材に架設されるとともに、前記繋部の上方に敷設された前記管材の上方で、かつ前記対向方向に横切る架設部材を有する請求項8に記載の型枠設置構造。
【請求項10】
一つの前記型枠板を挟む二つの前記型枠板連結部材は、直線状に延びる棒状の接続棒材によって前記管材の前記敷設方向に接続されており、前記接続棒材の端部は、前記管材の前記敷設方向に隣り合う他の前記接続棒材の端部と結合されている請求項9に記載の型枠設置構造。
発明の詳細な説明
【技術分野】
【0001】
本発明は、型枠形成補助具、型枠形成装置、及び型枠設置構造に関する。
続きを表示(約 2,100 文字)
【背景技術】
【0002】
例えば、道路には、路面を形成するアスファルト舗装面より下方に、管材が敷設されている(例えば、特許文献1参照)。管材には、例えば、送電ケーブルや通信ケーブル等の配線が挿通されるとともに、管材は、配線を保護する。管材は、アスファルト舗装面より下方に形成された防護コンクリートに埋設されている。そして、防護コンクリートは、道路上を走行する車両の荷重による管材の潰れを防止している。
【先行技術文献】
【特許文献】
【0003】
特開2007-37240号公報
【発明の概要】
【発明が解決しようとする課題】
【0004】
防護コンクリートは、型枠を設置した後、当該型枠の間にコンクリートを打設して形成されるが、型枠の設置は面倒である。
【課題を解決するための手段】
【0005】
上記問題点を解決するための型枠形成補助具は、埋設される管材を防護する防護コンクリートを形成する際、前記防護コンクリートの型枠の設置を補助するために用いられる型枠形成補助具であって、前記型枠を形成するために前記管材を径方向に挟んで対向するように配置される型枠板を設置するために用いられ、前記管材の外径よりも広い間隔で対向する一対の直線部を有するとともに、一対の前記直線部の端部同士を繋ぐ繋部を有するコ字状の間隔決定部材と、板状の基部を有し、当該基部を挟んで互いに反対方向に開口し、かつ互いに平行に延びて前記型枠板の端縁部を嵌め込み可能な一対の溝部を有するとともに、前記直線部を前記基部に取り付ける取付部を有する型枠板連結部材と、を有し、一対の前記直線部の各々を、前記取付部を用いて前記基部に取り付けることで、前記間隔決定部材によって一対の前記型枠板連結部材の間隔を定めることを可能とすることを要旨とする。
【0006】
型枠形成補助具において、前記間隔決定部材は、棒状体を前記コ字状に折り曲げて形成され、前記取付部は、前記型枠板連結部材とは別部材であり、前記直線部を保持する保持部材と、前記保持部材を取り付けるために前記基部に設けられた取付孔と、から構成され、前記取付孔は、前記保持部材を異なる位置に変更して取り付け可能となるよう、又は複数の前記保持部材を取り付け可能となるように複数形成されていてもよい。
【0007】
上記問題点を解決するための型枠形成装置は、埋設される管材を防護する防護コンクリートを形成する際、前記防護コンクリートの型枠を形成するために用いられる型枠形成装置であって、前記型枠を形成するとともに、前記管材を径方向に挟んで対向するように配置される型枠板と、前記型枠の設置を補助するために用いられる型枠形成補助具と、を有し、前記型枠形成補助具は、前記管材の外径よりも広い間隔で対向する一対の直線部を有するとともに、一対の前記直線部の端部同士を繋ぐ繋部を有するコ字状の間隔決定部材と、板状の基部を有し、当該基部を挟んで互いに反対方向に開口し、かつ互いに平行に延びて前記型枠板の端縁部を嵌め込み可能な一対の溝部を有するとともに、前記直線部を前記基部に取り付ける取付部を有する型枠板連結部材と、を有し、一対の前記型枠板連結部材と前記間隔決定部材とを組付けて形成された型枠支持具が、前記管材の敷設方向に離間して複数配置されるとともに、前記敷設方向に隣り合い、かつ互いに向かい合って開口する前記溝部に前記型枠板の前記端縁部が嵌め込まれ、前記型枠板が前記敷設方向に直交する対向方向に前記管材を挟んで配置され、前記敷設方向に延在する複数の前記型枠板によって前記対向方向に対向する型枠壁が形成されていることを要旨とする。
【0008】
型枠形成装置について、前記敷設方向に隣り合う前記型枠支持具の前記型枠板連結部材は、接続装置によって前記敷設方向へ接続されていてもよい。
型枠形成装置について、前記接続装置は、前記敷設方向に直線状に延びる棒状の接続棒材と、前記接続棒材を保持する保持部、及び前記保持部と一体であり、かつ前記基部に組付けられる組付部を有する接続装置用保持部材と、を有し、前記接続装置用保持部材は、前記接続棒材を前記型枠板の板面に沿わせた状態に保持可能であってもよい。
【0009】
型枠形成装置について、前記基部は、前記対向方向に対向する一対の前記型枠板連結部材に架設されて前記防護コンクリートに埋設される架設部材を取り付け可能な架設部を有し、前記架設部は、前記管材よりも上方で前記架設部材を取付可能とする位置に設けられていてもよい。
【0010】
型枠形成装置について、前記基部は、前記対向方向に対向する一対の前記型枠板連結部材に架設されて前記防護コンクリートに埋設される架設部材を取り付け可能な架設部を有し、前記架設部は、前記管材よりも上方で、かつ複数箇所で前記架設部材を取付可能とする位置に設けられていてもよい。
(【0011】以降は省略されています)
この特許をJ-PlatPat(特許庁公式サイト)で参照する
関連特許
未来工業株式会社
結束具
29日前
未来工業株式会社
スリーブ
1か月前
未来工業株式会社
保護カバー
1か月前
未来工業株式会社
配線・配管材保持具
1日前
未来工業株式会社
カバーおよび設置装置
1か月前
未来工業株式会社
スリーブ装置及び筒連結構造
16日前
未来工業株式会社
カバーおよび配線器具設置装置
1か月前
未来工業株式会社
取着体、及び配線用ポ-ル装置
1か月前
未来工業株式会社
流路形成部材、及び、流路形成構造
1か月前
未来工業株式会社
ボックスカバー及び配線ボックス装置
1か月前
未来工業株式会社
貫通孔用固定台座、及び固定台座装置
2か月前
未来工業株式会社
配線・配管材保持機構、及び保護カバー
1か月前
未来工業株式会社
配線ボックス装置及び配線ボックス設置構造
1か月前
未来工業株式会社
型枠形成補助具、型枠形成装置、及び型枠設置構造
29日前
未来工業株式会社
切断工具
1か月前
未来工業株式会社
固定体、設置体の固定構造、設置体固定装置及び固定体装置
1か月前
個人
接合構造
2か月前
個人
屋台
2か月前
個人
タッチミー
2か月前
個人
野良猫ハウス
3か月前
個人
転落防止用手摺
2か月前
個人
フェンス
3か月前
個人
安心補助てすり
1か月前
ニチハ株式会社
建築板
3か月前
個人
居住車両用駐車場
3か月前
個人
筋交自動設定装置
2か月前
個人
ベンリナアングル
2か月前
積水樹脂株式会社
柵体
2か月前
個人
免震建築構造
1日前
個人
熱抵抗多層断熱建材
3か月前
個人
柵
4か月前
個人
補強部材
3か月前
個人
身体用シェルター
2か月前
株式会社フジタ
合成床
1日前
個人
防災建築物
1か月前
株式会社シンケン
住宅
1か月前
続きを見る
他の特許を見る