TOP
|
特許
|
意匠
|
商標
特許ウォッチ
Twitter
他の特許を見る
10個以上の画像は省略されています。
公開番号
2025160432
公報種別
公開特許公報(A)
公開日
2025-10-22
出願番号
2025129167,2022012107
出願日
2025-08-01,2022-01-28
発明の名称
固定体、設置体の固定構造、設置体固定装置及び固定体装置
出願人
未来工業株式会社
代理人
個人
,
個人
主分類
A47B
97/00 20060101AFI20251015BHJP(家具;家庭用品または家庭用設備;コーヒーひき;香辛料ひき;真空掃除機一般)
要約
【課題】設置面に固定できる設置体の範囲を広げることができる固定体、設置体の固定構造、及び固定体装置を提供すること。
【解決手段】固定体10は、本体部20と、第1壁21及び第2壁22と、を有する。第1壁21及び第2壁22には、設置体Sに巻回される巻回バンド30を挿通可能な挿通孔29が形成されている。挿通孔29は長孔状である。挿通孔29は、第1壁21の立ち上がる第1縁部201の延びる方向へ、第2壁22から離れるように延びる。また、挿通孔29は、第2壁22の立ち上がる第2縁部202の延びる方向へ、第1壁21から離れるように延びる。挿通孔29の第1開口幅は、巻回バンド30におけるバンド本体31の幅よりも大きい。
【選択図】図5
特許請求の範囲
【請求項1】
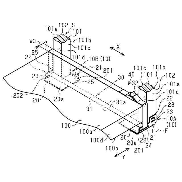
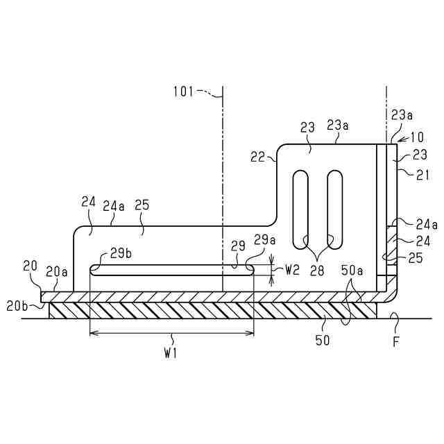
設置面に設置される設置体を前記設置面に固定するための固定体であって、
前記設置面と前記設置体との間に介在するとともに直交する2つの縁部を有する板状であり、かつ表面側に前記設置体が載置される載置面を有するとともに、裏面側が前記設置面に貼着される本体部と、
前記本体部の前記2つの縁部の各々から前記表面側に立ち上がる2つの壁と、を有し、
前記2つの壁の各々は、前記載置面に載置された前記設置体の外面に接触する当接面を有し、
前記2つの壁のうちの一方の壁には、前記設置体に巻回される巻回バンドを挿通可能な挿通孔が形成され、
前記挿通孔は長孔状であり、当該挿通孔は、前記一方の壁の立ち上がる前記縁部の延びる方向へ他方の壁から離れるように延び、前記挿通孔の長手方向への寸法は、前記載置面に載置された前記設置体に向けて前記挿通孔の前記長手方向に前記巻回バンドを前記挿通孔内で移動させて、前記巻回バンドの挿通位置を前記長手方向に変更可能となるように、前記一方の壁に形成された前記挿通孔に挿通される前記巻回バンドの幅よりも大きいことを特徴とする固定体。
続きを表示(約 1,100 文字)
【請求項2】
前記2つの壁のうちの他方の壁にも前記設置体に巻回される巻回バンドを挿通可能な挿通孔が形成され、前記他方の壁に形成された前記挿通孔は長孔状であり、当該挿通孔は、前記他方の壁の立ち上がる前記縁部の延びる方向へ前記一方の壁から離れるように延び、前記挿通孔の長手方向への寸法は、前記載置面に載置された前記設置体に向けて前記挿通孔の前記長手方向に前記巻回バンドを前記挿通孔内で移動させて、前記巻回バンドの挿通位置を前記長手方向に変更可能となるように、前記他方の壁に形成された前記挿通孔に挿通される前記巻回バンドの幅よりも大きい請求項1に記載の固定体。
【請求項3】
設置面に設置される設置体を固定体によって前記設置面に固定する設置体の固定構造であって、
前記固定体は請求項1又は請求項2に記載の固定体であり、
前記設置体は4本の脚部と、前記4本の脚部に掛け渡された棚板を複数段有するラックであり、前記設置面に沿い、かつ直交する2つの方向を第1方向と第2方向とすると、前記4本の脚部は、前記第1方向に並ぶ2本の脚部の組を前記第2方向に2つ備え、
前記4本の脚部の各々は、前記固定体の前記載置面にその全体が載置されるとともに、各固定体における前記本体部の裏面側は前記設置面に貼着されており、
前記第1方向に並ぶ2つの前記固定体同士は、前記2つの壁のうちのいずれかが、前記第1方向に並ぶように配置され、
前記第1方向に並ぶように配置された前記2つの壁に形成された前記挿通孔の各々には巻回バンドが挿通されるとともに、当該巻回バンドは前記設置体に巻回されて前記脚部に接触しており、
各固定体において、前記2つの壁のうち、前記巻回バンドとともに前記脚部を前記第2方向に挟んで位置する壁の前記当接面が前記脚部に接触していることを特徴とする設置体の固定構造。
【請求項4】
設置面に設置される設置体が有する4本の脚部の太さが異なる少なくとも2種類の設置体と、
請求項1又は請求項2に記載の固定体と、からなる設置体固定装置であって、
前記載置面の面積は、前記2種類の設置体のうちどちらの設置体の脚部も載置可能な大きさであり、
前記挿通孔の長手方向への寸法は、前記2種類の設置体の脚部の太さの差よりも大きいことを特徴とする設置体固定装置。
【請求項5】
設置面に設置される設置体を前記設置面に固定するための固定体と、
前記設置体に巻回される巻回バンドと、を有する固定体装置であって、
前記固定体は請求項1又は請求項2に記載の固定体である固定体装置。
発明の詳細な説明
【技術分野】
【0001】
本発明は、設置面に設置された設置体を設置面に固定するための固定体、設置体の固定構造、設置体固定装置及び固定体装置に関する。
続きを表示(約 2,300 文字)
【背景技術】
【0002】
ラックなどの設置体は、設置面上に設置されている。地震等を原因とした設置体の移動を抑制するため、設置体は固定体によって設置面に固定されている。
例えば特許文献1に開示される耐震固定器具は、被固定物としての機器を床面に固定する。機器は、下面の四隅にアジャスタを備える。アジャスタは、機器の下面に螺着されたねじ部と、ねじ部に一体の六角部及び台座部と、を有する。
【0003】
特許文献1の耐震固定器具は、板状体と、板状体の上面に設けられた固定用部材と、板状体の下面に貼着された衝撃吸収材と、を有する。
固定用部材は、板状体の上面に設けられた箱状体を備える。箱状体は、前面に開口する。また、箱状体は、天井部に切欠部を備える。切欠部は、箱状体の前面開口端から後方に向かって延びるU字状である。さらに、箱状体は、対向するボルト挿通穴を一対有する。
【0004】
耐震固定器具の使用状態では、板状体は、衝撃吸収材を介して床面に強固に固着される。固定用部材の切欠部には、アジャスタのねじ部が挿通されるとともに、箱状体の内部には六角部及び台座部が収容される。固定用部材のボルト挿通穴にはボルトが挿通されるとともに、ボルトにはナットが螺着される。
【0005】
このボルトは、ねじ部の前方に位置する。機器が箱状体から前方に滑り出ようとした際、機器のねじ部がボルトに接触する。この接触により、機器が箱状体から前方に滑り出るのを抑制する。また、箱状体の天井部は、六角部の上方に位置する。機器が上方へ移動しようとした際、六角部が天井部に接触する。この接触により、機器が上方へ移動するのを抑制する。これにより、耐震固定器具は、機器を床面に固定する。
【先行技術文献】
【特許文献】
【0006】
特開平11-299561号公報
【発明の概要】
【発明が解決しようとする課題】
【0007】
特許文献1の耐震固定器具は、箱状体に収容された六角部を天井部に接触させることによって機器の上方への移動を抑制する。このため、耐震固定器具は、六角部を有する機器でなければ上方への移動を抑制できない。つまり、耐震固定器具では、設置面に固定できる設置体の範囲が限られてしまっている。
【課題を解決するための手段】
【0008】
上記問題点を解決するための固定体は、設置面に設置される設置体を前記設置面に固定するための固定体であって、前記設置面と前記設置体との間に介在するとともに直交する2つの縁部を有する板状であり、かつ表面側に前記設置体が載置される載置面を有するとともに、裏面側が前記設置面に貼着される本体部と、前記本体部の前記2つの縁部の各々から前記表面側に立ち上がる2つの壁と、を有し、前記2つの壁の各々は、前記載置面に載置された前記設置体の外面に接触する当接面を有し、前記2つの壁のうちの一方の壁には、前記設置体に巻回される巻回バンドを挿通可能な挿通孔が形成され、前記挿通孔は長孔状であり、当該挿通孔は、前記一方の壁の立ち上がる前記縁部の延びる方向へ他方の壁から離れるように延び、前記挿通孔の長手方向への寸法は、前記載置面に載置された前記設置体に向けて前記挿通孔の前記長手方向に前記巻回バンドを前記挿通孔内で移動させて、前記巻回バンドの挿通位置を前記長手方向に変更可能となるように、前記一方の壁に形成された前記挿通孔に挿通される前記巻回バンドの幅よりも大きいことを要旨とする。
【0009】
固定体について、前記2つの壁のうちの他方の壁にも前記設置体に巻回される巻回バンドを挿通可能な挿通孔が形成され、前記他方の壁に形成された前記挿通孔は長孔状であり、当該挿通孔は、前記他方の壁の立ち上がる前記縁部の延びる方向へ前記一方の壁から離れるように延び、前記挿通孔の長手方向への寸法は、前記載置面に載置された前記設置体に向けて前記挿通孔の前記長手方向に前記巻回バンドを前記挿通孔内で移動させて、前記巻回バンドの挿通位置を前記長手方向に変更可能となるように、前記他方の壁に形成された前記挿通孔に挿通される前記巻回バンドの幅よりも大きくてもよい。
【0010】
上記問題点を解決するための設置体の固定構造は、設置面に設置される設置体を固定体によって前記設置面に固定する設置体の固定構造であって、前記固定体は請求項1又は請求項2に記載の固定体であり、前記設置体は4本の脚部と、前記4本の脚部に掛け渡された棚板を複数段有するラックであり、前記設置面に沿い、かつ直交する2つの方向を第1方向と第2方向とすると、前記4本の脚部は、前記第1方向に並ぶ2本の脚部の組を前記第2方向に2つ備え、前記4本の脚部の各々は、前記固定体の前記載置面にその全体が載置されるとともに、各固定体における前記本体部の裏面側は前記設置面に貼着されており、前記第1方向に並ぶ2つの前記固定体同士は、前記2つの壁のうちのいずれかが、前記第1方向に並ぶように配置され、前記第1方向に並ぶように配置された前記2つの壁に形成された前記挿通孔の各々には巻回バンドが挿通されるとともに、当該巻回バンドは前記設置体に巻回されて前記脚部に接触しており、各固定体において、前記2つの壁のうち、前記巻回バンドとともに前記脚部を前記第2方向に挟んで位置する壁の前記当接面が前記脚部に接触していることを要旨とする。
(【0011】以降は省略されています)
この特許をJ-PlatPat(特許庁公式サイト)で参照する
関連特許
未来工業株式会社
結束具
16日前
未来工業株式会社
取付体
2か月前
未来工業株式会社
スリーブ
26日前
未来工業株式会社
保護カバー
24日前
未来工業株式会社
カバーおよび設置装置
1か月前
未来工業株式会社
スリーブ装置及び筒連結構造
3日前
未来工業株式会社
カバーおよび配線器具設置装置
1か月前
未来工業株式会社
取着体、及び配線用ポ-ル装置
1か月前
未来工業株式会社
流路形成部材、及び、流路形成構造
19日前
未来工業株式会社
ボックスカバー及び配線ボックス装置
1か月前
未来工業株式会社
貫通孔用固定台座、及び固定台座装置
2か月前
未来工業株式会社
配線・配管材保持機構、及び保護カバー
1か月前
未来工業株式会社
配線ボックス装置及び配線ボックス設置構造
1か月前
未来工業株式会社
型枠形成補助具、型枠形成装置、及び型枠設置構造
16日前
未来工業株式会社
切断工具
24日前
未来工業株式会社
固定体、設置体の固定構造、設置体固定装置及び固定体装置
1か月前
個人
箸
1か月前
個人
家具
4か月前
個人
椅子
3か月前
個人
自助箸
7か月前
個人
掃除機
8か月前
個人
体洗い具
10か月前
個人
ソファー
2か月前
個人
屋外用箒
7か月前
個人
ハンガー
7か月前
個人
耳拭き棒
11か月前
個人
多用途紐
1か月前
個人
枕
8か月前
個人
掃除道具
8か月前
個人
掃除用具
3か月前
個人
枕
5か月前
個人
省煙消臭器
8か月前
個人
開閉トング
6か月前
個人
物品
3か月前
個人
掃除シート
9か月前
個人
片手代替具
11か月前
続きを見る
他の特許を見る