TOP
|
特許
|
意匠
|
商標
特許ウォッチ
Twitter
他の特許を見る
公開番号
2025160658
公報種別
公開特許公報(A)
公開日
2025-10-23
出願番号
2024063343
出願日
2024-04-10
発明の名称
配線・配管材保持機構、及び保護カバー
出願人
未来工業株式会社
代理人
個人
主分類
F16L
3/02 20060101AFI20251016BHJP(機械要素または単位;機械または装置の効果的機能を生じ維持するための一般的手段)
要約
【課題】
外径の異なる複数の配線・配管材の軸心位置を一致状態にして、その保持が可能である配線・配管材保持機構、及び保護カバーの提供を課題としている。
【解決手段】
基板部1に立設された一対の保持片Sと、当該一対の保持片Sの内側に立設された一対の付勢片Eとで配管材P
1
(P
2
)を保持する機構であって、小径の配管材P
1
を保持した状態を基準にして、一対の保持片S及び一対の付勢片Eの保持位置が両側方及び下方へ同一量だけ変位可能にすることで、外径の異なる複数の配管材の保持を可能とする。
【選択図】 図5
特許請求の範囲
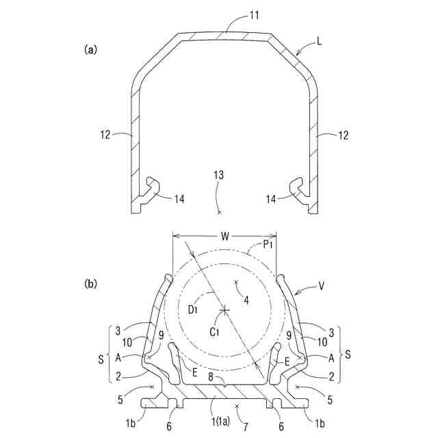
【請求項1】
基部と、
前記基部を基端として立設され、その間に配置された配線・配管材の上部外周面に先端側が当接し、当該配線・配管材を下方に向けて押圧可能なように対向配置された一対の保持片と、
前記基部における前記一対の保持片と同一側に形成され、前記一対の保持片の間に受け入れられた前記配線・配管材の下部外周面に当接して、当該配線・配管材を上方に向けて付勢する付勢片と、
を備え、前記一対の保持片と付勢片とが協働して前記配線・配管材を保持する配線・配管材保持機構であって、
外径の異なる少なくとも2種類の配線・配管材のいずれにも対応すべく、相対的に小径の前記配線・配管材を受け入れた際には、前記一対の保持片の各先端側と前記一対の付勢片とが前記配線・配管材に当接して、当該配線・配管材を保持し、
相対的に大径の前記配線・配管材を受け入れた場合には、前記小径の配線・配管材を保持した位置よりも、前記一対の保持片は、互いに先端が離間するようにその先端部が上部外方へ変位し、前記一対の付勢片が、前記一対の保持片の同量の変位量で下方へと変位し、前記一対の保持片の先端部内面と、下方に変位した前記一対の付勢片とが前記大径の配線・配管材に圧接して保持することを特徴とする配線・配管材保持機構。
続きを表示(約 1,000 文字)
【請求項2】
基部と、
前記基部を基端として立設され、その間に配置された配線・配管材の上部外周面に先端側が当接し、当該配線・配管材を下方に向けて押圧可能なように対向配置された一対の保持片と、
前記基部における前記一対の保持片と同一側に形成され、前記一対の保持片の間に受け入れられた前記配線・配管材の下部外周面に当接して、当該配線・配管材を上方に向けて付勢する付勢片と、
を備え、前記一対の保持片と付勢片とが協働して前記配線・配管材を保持する配線・配管材保持機構であって、
外径の異なる少なくとも2種類の配線・配管材のいずれにも対応すべく、相対的に小径の前記配線・配管材を受け入れた際には、前記一対の保持片の各先端側と前記一対の付勢片とが前記配線・配管材に当接して、当該配線・配管材を保持し、
相対的に大径の前記配線・配管材を受け入れた場合には、前記一対の保持片が、その基端部を傾動軸心として、その先端部が互いに離間する方向に移動すると共に、前記一対の付勢片が下方へと変位して、前記一対の保持片の先端部内面と、下方へ変位した前記一対の付勢片とが、前記大径の配線・配管材を圧接して保持することを特徴とする配線・配管材保持機構。
【請求項3】
基部と、
前記基部を基端として立設され、その間に配置された配線・配管材の上部外周面に先端側が当接し、当該配線・配管材を下方に向けて押圧可能なように対向配置された一対の保持片と、
前記基部における前記一対の保持片と同一側に形成され、前記一対の保持片の間に受け入れられた前記配線・配管材の下部外周面に当接して、当該配線・配管材を上方に向けて付勢する付勢片と、
を備え、前記一対の保持片と付勢片とが協働して前記配線・配管材を保持する配線・配管材保持機構であって、
前記一対の保持片には、傾動することで、先端側が互いに近接した位置から、互いに離間する位置への変位を可能とする傾動軸心部が基端側に設けられ、外径の異なる少なくとも2種類の配線・配管材のいずれを支持しても、その軸心を一致状態で保持可能であることを特徴とする配線・配管材保持機構。
【請求項4】
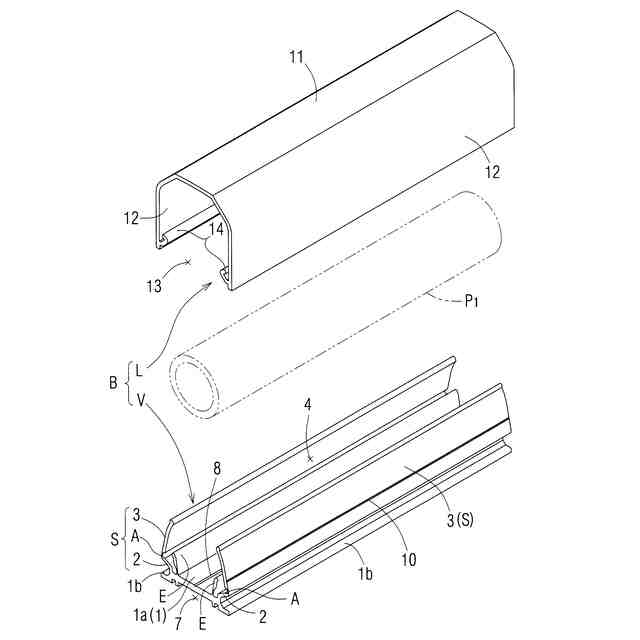
基台と、当該基台との組付けにより配線・配管材の収容空間を形成する蓋体と、から成る長尺状の保護カバーであって、
前記基台を基部として、前記収容空間内に請求項1ないし3のいずれかに記載の配線・配管材保持機構が設けられていることを特徴とする保護カバー。
発明の詳細な説明
【技術分野】
【0001】
本発明は、基部に立設された一対の保持片により配線・配管材を保持する配線・配管材保持機構、及び保護カバーに関するものである。
続きを表示(約 3,400 文字)
【背景技術】
【0002】
上記構成の配線・配管材の保護カバーとしては、特許文献1,2に記載のものが知られている。特許文献1に開示のものは、基台の基部に形成された一対の保持片を、中間に変形許容空間が存在する二重壁構造とすることで、外径の異なる複数種類の配線・配管材を、その軸心を一致状態にして保持可能にしている。このため、配線・配管材のサイズ(外径)に対して基台が無駄に大きくなって、保護カバーの内部の収容空間を有効に使用できない問題があった。
【0003】
特許文献2に開示の保護カバーは、基台の基部1に、配線・配管材の下端部外周面に当接して、当該配線・配管材の下部外周面の形状により大きく外方に弾性変形する一対の補助支持片17と、上端側のみが僅かに外方に弾性変形して、当該配線・配管材の上部外周面に当接する一対の保持片11とが形成され、外径の異なる複数の配線・配管材の支持において、一対の保持片11の変形量には大差がないが、一対の補助支持片17に大きな変形量の差を生じさせている。このため、保護カバーの内部の収容空間の有効利用は図られるが、配線・配管材の外径差により、大径の配線・配管材は、小径の配線・配管材に対して軸心位置が大きく下方に下がることで、収容状態の軸心位置が上下に大きく変化する。この結果、保護カバーどうしを接続するカバー継手における配線・配管材の支持位置である軸心位置を変更させる必要があるという問題があった。
【先行技術文献】
【特許文献】
【0004】
特開2007-292174号公報
特開2021-116864号公報
【発明の概要】
【発明が解決しようとする課題】
【0005】
本発明は、外径の異なる複数の配線・配管材の軸心位置を一致状態にして、その保持が可能であって、しかも収容空間の有効利用が可能である配線・配管材保持機構、及び保護カバーの提供を課題としている。
【課題を解決するための手段】
【0006】
上記課題を解決するための請求項1の発明は、
基部と、
前記基部を基端として立設され、その間に配置された配線・配管材の上部外周面に先端側が当接し、当該配線・配管材を下方に向けて押圧可能なように対向配置された一対の保持片と、
前記基部における前記一対の保持片と同一側に形成され、前記一対の保持片の間に受け入れられた前記配線・配管材の下部外周面に当接して、当該配線・配管材を上方に向けて付勢する付勢片と、
を備え、前記一対の保持片と付勢片とが協働して前記配線・配管材を保持する配線・配管材保持機構であって、
外径の異なる少なくとも2種類の配線・配管材のいずれにも対応すべく、相対的に小径の前記配線・配管材を受け入れた際には、前記一対の保持片の各先端側と前記一対の付勢片とが前記配線・配管材に当接して、当該配線・配管材を保持し、
相対的に大径の前記配線・配管材を受け入れた場合には、前記小径の配線・配管材を保持した位置よりも、前記一対の保持片は、互いに先端が離間するようにその先端部が上部外方へ変位し、前記一対の付勢片が、前記一対の保持片の同量の変位量で下方へと変位し、前記一対の保持片の先端部内面と、下方に変位した前記一対の付勢片とが前記大径の配線・配管材に圧接して保持することを特徴としている。
【0007】
請求項1の発明は、大径の配線・配管材を受け入れる場合には、仮想的に、小径の配線・配管材を受け入れた状態で、その軸心位置をそのままにして、配線・配管材の外径を徐々に大きくすると、一対の保持片は、互いに先端が離間するように、当該先端部が上部外方に変位させると共に、一対の付勢片は、前記一対の保持片と同一の変位量で下方に変位させるような状態で、当該大径の配線・配管材は、変位後の前記一対の保持片と一対の付勢片とで保持される。このように、大径の配線・配管材は、一対の保持片と一対の付勢片との双方が大きく弾性変形することで、換言すると、小径の配線・配管材を保持している保持空間が両側方及び下方に同一の変位量が拡張されることで、当該各保持片と各付勢片とで保持される構成であるので、外径の異なる少なくとも2種類の配線・配管材を、その軸心位置を常に一致状態にして保持可能となる。このため、請求項1の発明の配線・配管材保持機構を備えた基台と蓋体とから成る保護カバーどうしをカバー継手により接続する場合には、配線・配管材の外径が変化しても、同一のカバー継手により、保護カバーどうしの接続が可能となる。ここで、軸心位置が「一致状態」とは、異なる外径の配線・配管材の各軸心が完全に一致するか、又はほぼ一致した状態を示す。
【0008】
請求項2の発明は、
基部と、
前記基部を基端として立設され、その間に配置された配線・配管材の上部外周面に先端側が当接し、当該配線・配管材を下方に向けて押圧可能なように対向配置された一対の保持片と、
前記基部における前記一対の保持片と同一側に形成され、前記一対の保持片の間に受け入れられた前記配線・配管材の下部外周面に当接して、当該配線・配管材を上方に向けて付勢する付勢片と、
を備え、前記一対の保持片と付勢片とが協働して前記配線・配管材を保持する配線・配管材保持機構であって、
外径の異なる少なくとも2種類の配線・配管材のいずれにも対応すべく、相対的に小径の前記配線・配管材を受け入れた際には、前記一対の保持片の各先端側と前記一対の付勢片とが前記配線・配管材に当接して、当該配線・配管材を保持し、
相対的に大径の前記配線・配管材を受け入れた場合には、前記一対の保持片が、その基端部を傾動軸心として、その先端部が互いに離間する方向に移動すると共に、前記一対の付勢片が下方へと変位して、前記一対の保持片の先端部内面と、下方へ変位した前記一対の付勢片とが、前記大径の配線・配管材を圧接して保持することを特徴としている。
【0009】
請求項2の発明は、基部に設けられた一対の保持片と一対の付勢片とで、配線・配管材を保持する機構において、当該一対の保持片の基端部に、当該一対の保持片を外側に傾動させる傾動軸心が形成されているので、相対的に大径の前記配線・配管材を受け入れた場合において、一対の保持片の変位量を大きくできて、、当該請求項2の発明の配線・配管材保持機構を備えた基台と蓋体とから成る保護カバーの収容空間に配線・配管材を配設する場合に、当該収容空間は、無駄が少なくなって有効利用が可能となる。また、請求項1の発明と同様に、小径の配線・配管材を保持している保持空間が両側方及び下方に同一の変位量が拡張されるように、大径の配線・配管材の場合における各保持片と各付勢片との各変位量が特定値となるように、その形状を定めることで、外径の異なる少なくとも2種類の配線・配管材を、その軸心位置を常に一致状態にして保持可能となる。
【0010】
請求項3の発明は、
基部と、
前記基部を基端として立設され、その間に配置された配線・配管材の上部外周面に先端側が当接し、当該配線・配管材を下方に向けて押圧可能なように対向配置された一対の保持片と、
前記基部における前記一対の保持片と同一側に形成され、前記一対の保持片の間に受け入れられた前記配線・配管材の下部外周面に当接して、当該配線・配管材を上方に向けて付勢する付勢片と、
を備え、前記一対の保持片と付勢片とが協働して前記配線・配管材を保持する配線・配管材保持機構であって、
前記一対の保持片には、傾動することで、先端側が互いに近接した位置から、互いに離間する位置への変位を可能とする傾動軸心部が基端側に設けられ、外径の異なる少なくとも2種類の配線・配管材のいずれを支持しても、その軸心を一致状態で保持可能であることを特徴としている。
(【0011】以降は省略されています)
この特許をJ-PlatPat(特許庁公式サイト)で参照する
関連特許
未来工業株式会社
止着体
1か月前
未来工業株式会社
取付体
1か月前
未来工業株式会社
スリーブ
3日前
未来工業株式会社
保護カバー
1日前
未来工業株式会社
配管材保持具
1か月前
未来工業株式会社
配線・配管材保持具
1か月前
未来工業株式会社
カバーおよび設置装置
9日前
未来工業株式会社
台座及び配線・配管材保持装置
3か月前
未来工業株式会社
カバーおよび配線器具設置装置
9日前
未来工業株式会社
取着体、及び配線用ポ-ル装置
22日前
未来工業株式会社
配管材保持具及び配管材の保持構造
1か月前
未来工業株式会社
貫通孔用固定台座、及び固定台座装置
1か月前
未来工業株式会社
ボックスカバー及び配線ボックス装置
7日前
未来工業株式会社
固定体および配線・配管材保持具装置
2か月前
未来工業株式会社
単位体連結装置及び被覆除去工具装置
1か月前
未来工業株式会社
ケーブル保持具及び配線・配管材保持具
3か月前
未来工業株式会社
配線・配管材保持機構、及び保護カバー
8日前
未来工業株式会社
配線ボックス装置及び配線ボックス設置構造
7日前
未来工業株式会社
切断工具
1日前
未来工業株式会社
配線・配管材用巻回具及び配線・配管材用巻回具の巻回構造
1か月前
未来工業株式会社
固定体、設置体の固定構造、設置体固定装置及び固定体装置
9日前
個人
留め具
17日前
個人
鍋虫ねじ
2か月前
個人
回転伝達機構
2か月前
個人
ホース保持具
6か月前
個人
紛体用仕切弁
2か月前
個人
差動歯車用歯形
4か月前
個人
トーションバー
7か月前
個人
給排気装置
24日前
個人
ジョイント
1か月前
株式会社不二工機
電磁弁
4か月前
株式会社不二工機
電磁弁
5か月前
個人
地震の揺れ回避装置
3か月前
個人
回転式配管用支持具
8か月前
個人
ナット
1か月前
個人
ボルトナットセット
7か月前
続きを見る
他の特許を見る