TOP
|
特許
|
意匠
|
商標
特許ウォッチ
Twitter
他の特許を見る
10個以上の画像は省略されています。
公開番号
2025167301
公報種別
公開特許公報(A)
公開日
2025-11-07
出願番号
2024071783
出願日
2024-04-25
発明の名称
結束具
出願人
未来工業株式会社
代理人
個人
,
個人
,
個人
主分類
B65D
63/12 20060101AFI20251030BHJP(運搬;包装;貯蔵;薄板状または線条材料の取扱い)
要約
【課題】被保持物の保持を継続的に維持することができる結束具を提供する。
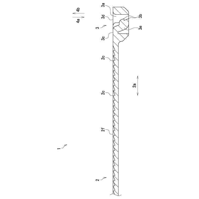
【解決手段】結束具1は、長手方向2aの少なくとも一部に可撓性を有して被保持物を取り囲む帯状部2と、その帯状部2の基端に繋がる締結部3とを備える。締結部3は、帯状部2がその先端2bから挿入されて貫通する挿入路3aと、挿入された帯状部2に係合して、その帯状部2の反挿入方向4bへの移動を規制する係合部3bとを有する。帯状部2は、係合領域2xと、その係合領域2xよりも帯状部2の先端側にある形状変更領域2yとを備える。係合領域2xには、締結部3の係合部3bと係合する被係合部2cが、帯状部2の長手方向2aに複数並んで設けられる。形状変更領域2yには、前記長手方向2aと直交する方向2dに延びる溝部2eが、前記長手方向2aに間隔をあけて複数設けられ、帯状部2は、溝部2eの部分で折り曲げ癖を付けることが可能となっている。
【選択図】 図6
特許請求の範囲
【請求項1】
被保持物を取り囲んで保持する結束具であって、
長手方向の少なくとも一部に可撓性を有して前記被保持物を取り囲む帯状部と、その帯状部の基端に繋がる締結部とを備え、
前記締結部は、前記帯状部がその先端から挿入されて貫通する挿入路と、挿入された前記帯状部に係合して、その帯状部が挿入される挿入方向とは反対の反挿入方向への移動を規制する係合部とを有し、
前記帯状部は、前記係合部と係合する被係合部が、帯状部の長手方向に複数並んで設けられた係合領域と、その係合領域よりも帯状部の先端側にあって、前記長手方向と直交する方向に延びる溝部が、前記長手方向に間隔をあけて複数設けられて、その溝部の部分で折り曲げ癖を付けることが可能な形状変更領域とを備える、結束具。
続きを表示(約 47 文字)
【請求項2】
前記帯状部は、直線状に形成されている、請求項1に記載の結束具。
発明の詳細な説明
【技術分野】
【0001】
この発明は、被保持物を取り囲んで保持する結束具に関するものである。
続きを表示(約 2,100 文字)
【背景技術】
【0002】
従来、被保持物としての線材を保持する結束具として、例えば、特許文献1に示される結束バンドがあった。図13に示されるように、この結束バンド11は、帯状のテール部12と、そのテール部12の基端に繋がる保持部13とを備えていた。ここで、保持部13には、テール部12が先端から挿入される挿通穴13aが設けられ、その挿通穴13aには、ラチェット13bが設けられていた。そして、テール部12には、ラチェット13bと噛み合う歯状のラック12aと、可撓性を持たせるためのV溝12bとが設けられていた。
【先行技術文献】
【特許文献】
【0003】
実開昭61-119952号公報
【発明の概要】
【発明が解決しようとする課題】
【0004】
ところで、前記従来の結束バンド11のテール部12は、ラック12aが設けられた領域と、V溝12bが設けられた領域が重なっており、V溝12bで折り曲げ癖が付いた部分が弱くなって経年劣化したとき、線材(被保持物)の保持を継続的に維持することが困難となる虞があった。
【0005】
この発明は、上記した従来の欠点を解決するためになされたものであり、その目的とするところは、被保持物の保持を継続的に維持することができる結束具を提供することにある。
【課題を解決するための手段】
【0006】
この発明に係る結束具は、前記目的を達成するために、次の構成からなる。すなわち、
請求項1に記載の発明に係る結束具は、被保持物を取り囲んで保持する結束具である。この結束具は、長手方向の少なくとも一部に可撓性を有して前記被保持物を取り囲む帯状部と、その帯状部の基端に繋がる締結部とを備える。ここで、前記締結部は、前記帯状部がその先端から挿入されて貫通する挿入路と、挿入された前記帯状部に係合して、その帯状部が挿入される挿入方向とは反対の反挿入方向への移動を規制する係合部とを有する。そして、前記帯状部は、前記係合部と係合する被係合部が、帯状部の長手方向に複数並んで設けられた係合領域と、その係合領域よりも帯状部の先端側にあって、前記長手方向と直交する方向に延びる溝部が、前記長手方向に間隔をあけて複数設けられて、その溝部の部分で折り曲げ癖を付けることが可能な形状変更領域とを備える。
【0007】
この結束具によると、帯状部は、締結部に設けられた係合部と係合する被係合部が並ぶ係合領域と、溝部が並ぶ形状変更領域とを備える。そこで、帯状部の先端が締結部に近づくように、溝部の部分で折り曲げ癖を付けて形状変更領域の帯状部の形状を変更させておくことで、帯状部を、締結部に設けられた挿入路に挿入しやすくなる。また、形状変更領域は、係合領域よりも帯状部の先端側にある。このため、この結束具で、被保持物を取り囲んで保持した後には、形状変更領域は、締結部の挿入路から出て、被保持物の保持とは無関係な位置にあり、折り曲げ癖が付いて弱くなった溝部の部分の経年劣化が、被保持物の保持に関係しない。
【0008】
また、請求項2に記載の発明に係る結束具は、請求項1に記載の結束具において、前記帯状部は、直線状に形成されている。
【発明の効果】
【0009】
この発明に係る結束具によれば、溝部が並ぶ形状変更領域を、被係合部が並ぶ係合領域よりも帯状部の先端側とすることで、折り曲げ癖が付いて弱くなった溝部の部分の経年劣化が、被保持物の保持に関係せず、被保持物の保持を継続的に維持することができる。
【図面の簡単な説明】
【0010】
この発明の一実施の形態の、折り曲げ癖を付ける前の結束具を示す斜視図である。
同じく、折り曲げ癖を付ける前の結束具を示す平面図である。
同じく、図2におけるA-A線による断面図である。
同じく、図3における、締結部側の部分拡大断面図である。
同じく、図3における、帯状部の先端側の部分拡大断面図である。
同じく、形状変更領域における帯状部の形状を弧状に変更した結束具を示す斜視図である。
同じく、形状変更領域における帯状部の形状を弧状に変更した結束具を示す正面図である。
同じく、形状変更領域における帯状部の形状を弧状に変更する過程を示す結束具の正面図である。
同じく、形状変更領域における帯状部の形状を鉤状に変更した結束具を示す斜視図である。
同じく、形状変更領域における帯状部の形状を鉤状に変更した結束具を示す正面図である。
同じく、帯状部を締結部の挿入路に通した結束具を示す斜視図である。
同じく、帯状部を締結部の挿入路に通した結束具の、一部を破断した要部拡大正面図である。
従来の結束バンドの、一部を破断した正面図である。
【発明を実施するための形態】
(【0011】以降は省略されています)
この特許をJ-PlatPat(特許庁公式サイト)で参照する
関連特許
未来工業株式会社
取付体
3か月前
未来工業株式会社
結束具
29日前
未来工業株式会社
スリーブ
1か月前
未来工業株式会社
保護カバー
1か月前
未来工業株式会社
配線・配管材保持具
1日前
未来工業株式会社
カバーおよび設置装置
1か月前
未来工業株式会社
スリーブ装置及び筒連結構造
16日前
未来工業株式会社
カバーおよび配線器具設置装置
1か月前
未来工業株式会社
取着体、及び配線用ポ-ル装置
1か月前
未来工業株式会社
流路形成部材、及び、流路形成構造
1か月前
未来工業株式会社
ボックスカバー及び配線ボックス装置
1か月前
未来工業株式会社
貫通孔用固定台座、及び固定台座装置
2か月前
未来工業株式会社
配線・配管材保持機構、及び保護カバー
1か月前
未来工業株式会社
配線ボックス装置及び配線ボックス設置構造
1か月前
未来工業株式会社
型枠形成補助具、型枠形成装置、及び型枠設置構造
29日前
未来工業株式会社
切断工具
1か月前
未来工業株式会社
固定体、設置体の固定構造、設置体固定装置及び固定体装置
1か月前
個人
束ね具
25日前
個人
収容箱
4か月前
個人
コンベア
6か月前
個人
段ボール箱
8か月前
個人
段ボール箱
8か月前
個人
容器
10か月前
個人
ゴミ収集器
8か月前
個人
バンド
3か月前
個人
土嚢運搬器具
9か月前
個人
角筒状構造体
6か月前
個人
宅配システム
8か月前
個人
楽ちんハンド
6か月前
個人
テープ引出機
25日前
個人
包装容器
2か月前
個人
お薬の締結装置
7か月前
個人
閉塞装置
11か月前
個人
コード類収納具
9か月前
個人
棒状体収容容器
29日前
個人
廃棄物収容容器
4か月前
続きを見る
他の特許を見る