TOP
|
特許
|
意匠
|
商標
特許ウォッチ
Twitter
他の特許を見る
10個以上の画像は省略されています。
公開番号
2025171728
公報種別
公開特許公報(A)
公開日
2025-11-20
出願番号
2024077360
出願日
2024-05-10
発明の名称
スリーブ装置及び筒連結構造
出願人
未来工業株式会社
代理人
個人
,
個人
主分類
F16L
5/00 20060101AFI20251113BHJP(機械要素または単位;機械または装置の効果的機能を生じ維持するための一般的手段)
要約
【課題】簡単な操作で全長を変更でき、かつ、所定長さに設定、変更後には一定長に安定して保持できるスリーブ装置を提供する。
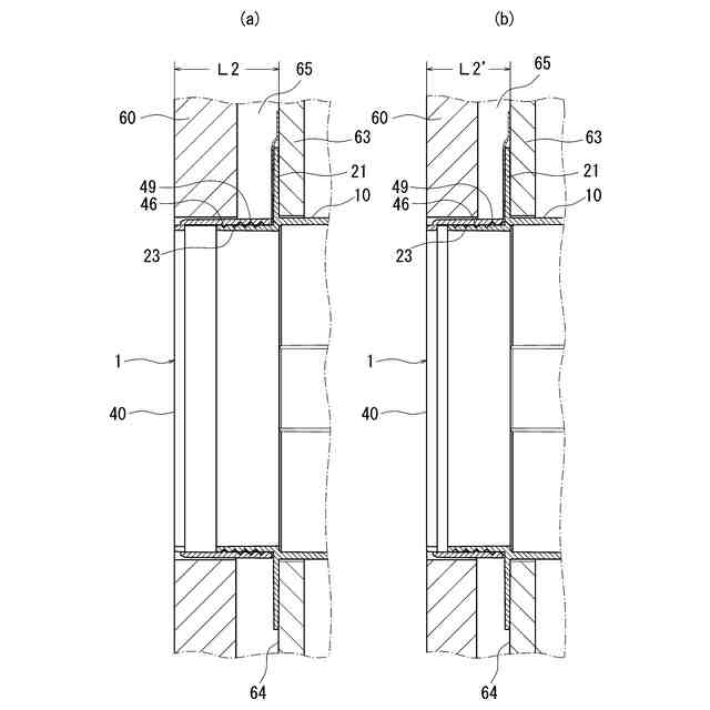
【解決手段】スリーブ装置1は、中空筒状の本体筒10と、本体筒10に取着された中空筒状の補助筒40と、からなる。本体筒10は、外面に複数の凹部23が形成され、凹部23よりも他端12側に本体筒側当接部24が設けられている。補助筒40は、弾性片45と、補助筒40が相対移動するのを抑制する位置と凹部23から抜け出す位置とに移動する係止部46と、本体筒側当接部24に当接する補助筒側当接部48を先端に有する係止位置調整部47と、を備える。スリーブ装置1は、両当接部が当接し、1の凹部23に入り込んだ係止部46が本体筒10の他端12側に隣接する別の凹部23に入り込む位置まで、補助筒40が本体筒10に対して移動するのが規制される。
【選択図】図1
特許請求の範囲
【請求項1】
中空筒状の本体筒と、
軸方向の一側が前記本体筒の一端よりも突出し、軸方向の他側が前記本体筒とで二重筒を構成した状態で当該本体筒に取着される中空筒状の補助筒と、
からなるスリーブ装置であって、
前記本体筒は、外面に軸方向に間隔をあけて2以上の凹部が形成され、当該凹部よりも他端側に本体筒側当接部が設けられ、
前記補助筒は、
内外方向に弾性変形する弾性片と、
当該弾性片に設けられ、前記凹部に入り込んで前記本体筒の他端側から一端側へ向けて前記補助筒が相対移動するのを抑制する位置と、前記凹部から抜け出す位置と、に移動する係止部と、
前記係止部よりも軸方向の他側に設けられ、前記本体筒側当接部に当接する補助筒側当接部を先端に有する係止位置調整部と、を備え、
前記本体筒側当接部と前記補助筒側当接部とが当接し、1の前記凹部に入り込んだ前記係止部が前記本体筒の他端側に隣接する別の前記凹部に入り込む位置まで、前記補助筒が前記本体筒の一端側から他端側へ移動するのが規制されることを特徴とするスリーブ装置。
続きを表示(約 1,000 文字)
【請求項2】
前記補助筒の係止位置調整部は、1または複数の切断指示線が付され、前記切断指示線に沿って軸方向の他側を切除することで露出した先端が新たな補助筒側当接部を構成し、
前記係止部が前記1の凹部よりも前記本体筒の他端側に位置する別の前記凹部に入り込んだ状態で、前記新たな補助筒側当接部と前記本体筒側当接部とが当接することを特徴とする請求項1に記載のスリーブ装置。
【請求項3】
前記本体筒の凹部は、3以上が軸方向に等間隔で並び、 前記補助筒の切断指示線は、前記3以上の凹部と同一の間隔で2以上付されていることを特徴とする請求項2に記載のスリーブ装置。
【請求項4】
前記本体筒側当接部及び前記補助筒側当接部の少なくとも一方は、前記軸方向を囲む環状に形成されていることを特徴とする請求項1乃至請求項3のいずれかに記載のスリーブ装置。
【請求項5】
前記本体筒は、当該本体筒を中心として環状に張り出すフランジ部が設けられ、当該フ
ランジ部における前記本体筒の一端側を向く面に前記本体筒側当接部が形成され、
前記係止位置調整部は、前記補助筒における前記本体筒とで二重筒を構成する重合筒部の周方向の一部から軸方向の他側に延出する細幅延出部により形成されていることを特徴とする請求項1乃至請求項3のいずれかに記載のスリーブ装置。
【請求項6】
中空筒状の第1筒と、
軸方向の一側が前記第1筒の一端よりも突出し、軸方向の他側が前記第1筒とで二重筒を構成した状態で連結される中空筒状の第2筒と、
からなる筒連結構造であって、
前記第1筒及び前記第2筒のうちの一方は、外面に軸方向に間隔をあけて2以上の凹部が設けられ、
前記第1筒及び前記第2筒のうちの他方は、
内外方向に弾性変形する弾性片と、
当該弾性片に設けられ、前記凹部に入り込んで前記第1筒の他端側から一端側へ向けて前記第2筒が相対移動するのを抑制する位置と、前記凹部から抜け出す位置と、に移動する係止部と、を備え、
前記第1筒が有する第1筒側当接部と前記第2筒が有する第2筒側当接部とが当接し、1の前記凹部に入り込んだ前記係止部が前記第1筒の他端側に隣接する別の前記凹部に入り込む位置まで、前記第2筒が前記第1筒の一端側から他端側へ移動するのが規制されることを特徴とする筒連結構造。
発明の詳細な説明
【技術分野】
【0001】
本発明は、建物の外壁に換気口や配線・配管材の通孔等を設けるために用いられるスリーブ装置及び筒連結構造に関するものである。
続きを表示(約 2,800 文字)
【背景技術】
【0002】
建物の外壁には、換気口、換気パイプ、ダクト、配線・配管材用の通孔や換気扇等を設けるために壁材を貫通するスリーブが設置されている。この種のスリーブとして、例えば、特許文献1に記載の配線・配管材用のスリーブが開示されている。このスリーブは、外壁に配線・配管材が通る貫通孔を形成するためのもので、外面にらせん溝を備えた中空状の内挿筒体と、内挿筒体の外周に被さる中空状の外装筒体とを備えている。外装筒体は、外方へと撓むことが可能な弾性片を備え、その弾性片は、内挿筒体のらせん溝と係合する係止部を有している。
【0003】
この係止部は、内挿筒体を外装筒体から引き抜く方向へのスライド移動を許容するように形成されており、これにより、スリーブは所定長さ引き伸ばすことが可能となっている。また、スリーブは、内挿筒体のらせん溝の沿う相対回動により長さを微調整することができるようになっている。すなわち、スリーブは、簡単な操作で全長を変更することができる。なお、外装筒体は、内挿筒体の外面を圧接するビスが取り付けられるビス取付部を備えており、これにより、外装筒体と内挿筒体との相対移動が規制されている。
【先行技術文献】
【特許文献】
【0004】
特開2009-264516号公報
【発明の概要】
【発明が解決しようとする課題】
【0005】
しかし、特許文献1に記載のスリーブは、係止部が、内挿筒体を外装筒体へ挿入する方向へのスライド移動を制限しているとともに、外装筒体のビス取付部にビスを取り付けることにより、外装筒体と内挿筒体との相対移動が規制されてはいるものの、ビスの締め込みが不十分であると、スリーブの伸縮及び内外両筒体の相対回動が規制されず、スリーブの全長が変化してしまうおそれがあった。それによりスリーブの全長が短くなると、スリーブの端部と壁材との間に隙間が生じてしまうので、換気、防水等の効果が低下してしまうこととなる。
【0006】
そこで、本発明は、簡単な操作で全長を変更でき、かつ、所定長さに設定、変更後には一定長に安定して保持できるスリーブ装置及び筒連結構造の提供を課題とするものである。
【課題を解決するための手段】
【0007】
請求項1のスリーブ装置は、
中空筒状の本体筒と、
軸方向の一側が前記本体筒の一端よりも突出し、軸方向の他側が前記本体筒とで二重筒状態を構成した状態で当該本体筒に取着される中空筒状の補助筒と、
からなるスリーブ装置であって、
前記本体筒は、外面に、軸方向に間隔をあけて2以上の凹部が形成され、当該凹部よりも他端側に本体筒側当接部が設けられ、
前記補助筒は、
内外方向に弾性変形する弾性片と、
当該弾性片に設けられ、前記凹部に入り込んで前記本体筒の他端側から一端側へ向けて前記補助筒が相対移動するのを抑制する位置と、前記凹部から抜け出す位置と、に移動する係止部と、
前記係止部よりも軸方向の他側に設けられ、前記本体筒側当接部に当接する補助筒側当接部を先端に有する係止位置調整部と、を備え、
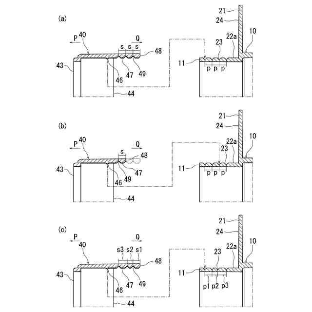
前記本体筒側当接部と前記補助筒側当接部とが当接し、1の前記凹部に入り込んだ前記係止部が前記本体筒の他端側に隣接する別の前記凹部に入り込む位置まで、前記補助筒が前記本体筒の一端側から他端側へ移動するのが規制されるものである。
これにより、本体筒に対して補助筒を押し込んで係止部を凹部に入り込ませて抜け止め状態に取着できるとともに、取着時の本体筒側当接部と補助筒側当接部との当接によりその後の押し込み移動を規制することができる。
【0008】
請求項2のスリーブ装置は、特に、補助筒の係止位置調整部には、1または複数の切断指示線が付され、前記切断指示線に沿って他側を切除することで、露出した先端が新たな補助筒側当接部を構成し、
係止部が1の凹部よりも本体筒の他端側に位置する別の凹部に入り込んだ状態で、当該新たな補助筒側当接部と前記本体筒側当接部とが当接する。
これにより、係止位置調整部の切除で、係止部をどの凹部と係止させるかを変更でき、本体筒に対する補助筒の押し込み量を変更することができる。
請求項3のスリーブ装置は、特に、本体筒の凹部が、3以上が軸方向に等間隔で並び、補助筒の切断指示線は、3以上の凹部の間隔と同一の間隔で2以上付されている。
これにより、係止部が凹部に係止する位置を3段階以上設定し、調整することができる。
【0009】
請求項4のスリーブ装置は、特に、本体筒側当接部及び補助筒側当接部の少なくとも一方が、軸方向を囲む環状に形成されている。
この場合、環状の形成によって組付ける相対向きの自由度が増し、作業性が良い。
請求項5のスリーブ装置は、特に、本体筒に、これを中心として環状に張り出すフランジ部が設けられ、フランジ部における本体筒の一端側を向く面に本体筒側当接部が形成され、
係止位置調整部は、補助筒における本体筒とで二重筒を構成する重合筒部の周方向の一部から軸方向の他側に延出する細幅延出部により形成されている。
この場合、係止位置調整部は、周方向の一部から延出して設けられているので、環状に設けられているものより切断作業を楽に行うことができる。
【0010】
請求項6の筒連結構造は、
中空筒状の第1筒と、
軸方向の一側が前記第1筒の一端よりも突出し、軸方向の他側が前記第1筒と二重筒を構成した状態で連結される中空筒状の第2筒と、
からなる筒連結構造であって、
前記第1筒及び前記第2筒のうちの一方は、外面に軸方向に間隔をあけて2以上の凹部が設けられ、
前記第1筒及び前記第2筒のうちの他方は、
内外方向に弾性変形する弾性片と、
当該弾性片に設けられ、前記凹部に入り込んで前記第1筒の他端側から一端側へ向けて前記第2筒が相対移動するのを抑制する位置と、前記凹部から抜け出す位置と、に移動する係止部と、を備え、
前記第1筒が有する第1筒側当接部と前記第2筒が有する第2筒側当接部とが当接し、1の前記凹部に入り込んだ前記係止部が前記第1筒の他端側に隣接する別の前記凹部に入り込む位置まで、前記第2筒が前記第1筒の一端側から他端側へ移動するのが規制されるものである。
【発明の効果】
(【0011】以降は省略されています)
この特許をJ-PlatPat(特許庁公式サイト)で参照する
関連特許
未来工業株式会社
結束具
16日前
未来工業株式会社
取付体
2か月前
未来工業株式会社
スリーブ
26日前
未来工業株式会社
保護カバー
24日前
未来工業株式会社
配線・配管材保持具
2か月前
未来工業株式会社
カバーおよび設置装置
1か月前
未来工業株式会社
スリーブ装置及び筒連結構造
3日前
未来工業株式会社
取着体、及び配線用ポ-ル装置
1か月前
未来工業株式会社
カバーおよび配線器具設置装置
1か月前
未来工業株式会社
流路形成部材、及び、流路形成構造
19日前
未来工業株式会社
貫通孔用固定台座、及び固定台座装置
2か月前
未来工業株式会社
単位体連結装置及び被覆除去工具装置
2か月前
未来工業株式会社
ボックスカバー及び配線ボックス装置
1か月前
未来工業株式会社
配線・配管材保持機構、及び保護カバー
1か月前
未来工業株式会社
配線ボックス装置及び配線ボックス設置構造
1か月前
未来工業株式会社
型枠形成補助具、型枠形成装置、及び型枠設置構造
16日前
未来工業株式会社
切断工具
24日前
未来工業株式会社
固定体、設置体の固定構造、設置体固定装置及び固定体装置
1か月前
個人
留め具
1か月前
個人
鍋虫ねじ
2か月前
個人
紛体用仕切弁
2か月前
個人
ホース保持具
7か月前
個人
回転伝達機構
3か月前
個人
差動歯車用歯形
5か月前
個人
トーションバー
7か月前
個人
給排気装置
1か月前
個人
ジョイント
2か月前
個人
ナット
18日前
株式会社不二工機
電磁弁
4か月前
株式会社不二工機
電磁弁
6か月前
個人
地震の揺れ回避装置
4か月前
個人
ボルトナットセット
8か月前
個人
ナット
2か月前
個人
ゲート弁バルブ
3日前
個人
吐出量監視装置
2か月前
柿沼金属精機株式会社
分岐管
3か月前
続きを見る
他の特許を見る