TOP
|
特許
|
意匠
|
商標
特許ウォッチ
Twitter
他の特許を見る
10個以上の画像は省略されています。
公開番号
2025151455
公報種別
公開特許公報(A)
公開日
2025-10-09
出願番号
2024052891
出願日
2024-03-28
発明の名称
取着体、及び配線用ポ-ル装置
出願人
未来工業株式会社
代理人
個人
主分類
H02G
7/00 20060101AFI20251002BHJP(電力の発電,変換,配電)
要約
【課題】
被取着体の一対の取着溝の内側面に形成されたエッジ部に対する取着体の摺動摩擦抵抗の増大により、被取着体に対する取着体の一対の取着溝の溝形成方向に対する位置決めを確実にすることである。
【解決手段】
配線用ポールPの外筒体Aに対するナット板Nの圧接配置状態において、当該ナット板Nにおける前記外筒体Aのエッジ部37と重合する部分に前後方向に貫通する長孔6がプレス打抜き加工により形成されることで、当該長孔6における打抜き方向の先端側にバリ9が残存形成され、当該ナット板Nの前記圧接配置の途中において、前記バリ9が潰されて前記エッジ部37との間に挟まることで、当該ナット板Nの前記外筒体Aの開口部32の形成方向に沿った摺動摩擦抵抗を増大させる。
【選択図】 図6
特許請求の範囲
【請求項1】
被取着体に圧接配置されて取着される金属板から成る取着体であって、
前記被取着体は、先端が所定間隔で対向して一方向に延びる一対の前方板部と、当該一対の前方板部の先端の間に形成された開口部と、前記一対の前方板部の後方に所定間隔をおいて配置される一対の後方圧接部と、前記開口部の開口幅よりも広い間隔をおいて前記一対の前方板部と前記一対の後方圧接部とを繋ぐように配置された一対の側方圧接部とで形成される一対の取着溝が対向配置された取着空間が形成され、
前記取着体は、短手方向の寸法は前記開口部の幅よりも狭いと共に、長手方向の寸法は、前記各取着溝に対向形成された各側方圧接部に圧接可能な長さを有し、
前記開口部から前記取着体の全体を前記取着空間に挿入した後に、前記一対の前方板部の背面側又は前記一対の後方圧接部の少なくとも一方に形成された各エッジ部に摺接させつつ、当該取着体を所定方向に回動させて、長手方向の両端面の一部を前記各側方圧接部にそれぞれ回動規制状態で圧接させると共に、引寄せボルトにより手前側に引き寄せ、前面の一部を前記一対の前方板部の背面側に圧接させることで前記取着空間に当該取着体が圧接配置されるものであり、
当該圧接配置状態において、前記取着体における前記エッジ部と重合する部分に、前後方向に貫通する貫通孔がプレス打抜き加工により形成され、当該貫通孔における打抜き方向の先端側にバリが残存形成されており、
当該取着体の前記圧接配置の途中において、前記バリが潰されて前記エッジ部との間に挟まることで、当該取着体の前記開口部の形成方向に沿った摺動摩擦抵抗を増大させることを特徴とする取着体。
続きを表示(約 370 文字)
【請求項2】
前記取着体の短手方向の片端部又は両端部には、前記バリが形成された側を示すための表裏識別部が長手方向に沿って形成されていることを特徴とする請求項1に記載の取着体。
【請求項3】
前記取着体は細長比の大きな平行四辺形状をなし、長手方向の両端の短手方向に沿った両端の圧接面は、外側に凸のわん曲面に形成され、
前記被取着体の各側方圧接部は、前記開口部の開口面に対して鋭角をなす傾斜面状に形成され、
圧接配置状態において、前記圧接面における板厚方向に沿った一方の角部は、前記側方圧接部に喰い込んで圧接されることを特徴とする請求項1又は2に記載の取着体。
【請求項4】
前記取着空間を備えた配線用ポールと、請求項1ないし3のいずれかに記載の取着体とから成る配線用ポール装置。
発明の詳細な説明
【技術分野】
【0001】
本発明は、一対の取着溝が対向配置された取着空間に回動操作で取着される取着体、及び配線用ポ-ル装置に関するものである。
続きを表示(約 2,400 文字)
【背景技術】
【0002】
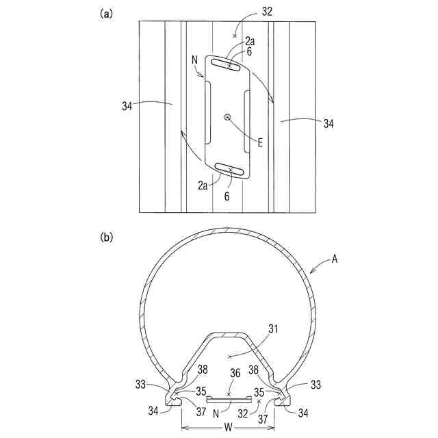
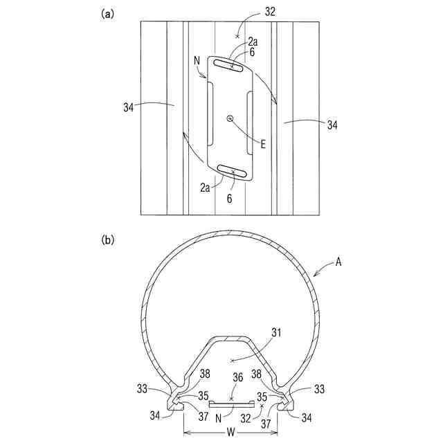
特許文献1に示されるように、地上に立設された配線用ポ-ルにボックスを取付け可能にするために、当該配線用ポ-ルには、先端が所定間隔をおいて対向配置された左右一対の前方板部が上下方向に形成されることで、当該一対の前方板部の間に開口部が、前記配線用ポールの立設方向に沿って形成され、正面形状が長方形状の挟持ベースVは、前記開口部に対して縦長配置された挟持ベースVを当該開口部を通して奥側に配置した後に、所定方向にほぼ90°回動させることで、当該挟持ベースVの長手方向の両端部を、前記一対の前方板部の背面側に形成された左右一対の嵌着溝35に挿入嵌着させることで、当該配線用ポールに挟持ベースVを取着させていた。
【0003】
そして、前記挟持ベースVの長手方向の両端部の背面側に設けられた弾性片4を、前記嵌着溝35を形成する当接部36に弾接させ、その弾性反発力により前記挟持ベースVを、前記嵌着溝35の手前側の内側面に形成された先鋭当接部37に弾接させることで、当該挟持ベースVの前記嵌着溝35の形成方向に沿った配置位置を定めていた。しかし、弾性片4の弾性反発力のみでは、一対の嵌着溝35に対する挟持ベースVの位置決めは不十分で、当該嵌着溝35内を落下してしまう場合があり、その改善が望まれていた。
【先行技術文献】
【特許文献】
【0004】
特開2022-12872号公報
【発明の概要】
【発明が解決しようとする課題】
【0005】
本発明は、被取着体の一対の取着溝の内側面に形成されたエッジ部に対する当該取着体の摺動摩擦抵抗の増大により、被取着体に対する取着体の一対の取着溝の溝形成方向に対する位置決めを確実にすることを課題としている。
【課題を解決するための手段】
【0006】
上記課題を解決するための請求項1の発明は、
被取着体に圧接配置されて取着される金属板から成る取着体であって、
前記被取着体は、先端が所定間隔で対向して一方向に延びる一対の前方板部と、当該一対の前方板部の先端の間に形成された開口部と、前記一対の前方板部の後方に所定間隔をおいて配置される一対の後方圧接部と、前記開口部の開口幅よりも広い間隔をおいて前記一対の前方板部と前記一対の後方圧接部とを繋ぐように配置された一対の側方圧接部とで形成される一対の取着溝が対向配置された取着空間が形成され、
前記取着体は、短手方向の寸法は前記開口部の幅よりも狭いと共に、長手方向の寸法は、前記各取着溝に対向形成された各側方圧接部に圧接可能な長さを有し、
前記開口部から前記取着体の全体を前記取着空間に挿入した後に、前記一対の前方板部の背面側又は前記一対の後方圧接部の少なくとも一方に形成された各エッジ部に摺接させつつ、当該取着体を所定方向に回動させて、長手方向の両端面の一部を前記各側方圧接部にそれぞれ回動規制状態で圧接させると共に、引寄せボルトにより手前側に引き寄せ、前面の一部を前記一対の前方板部の背面側に圧接させることで前記取着空間に当該取着体が圧接配置されるものであり、
当該圧接配置状態において、前記取着体における前記エッジ部と重合する部分に、前後方向に貫通する貫通孔がプレス打抜き加工により形成され、当該貫通孔における打抜き方向の先端側にバリが残存形成されており、
当該取着体の前記圧接配置の途中において、前記バリが潰されて前記エッジ部との間に挟まることで、当該取着体の前記開口部の形成方向に沿った摺動摩擦抵抗を増大させることを特徴としている。
【0007】
請求項1の発明によれば、被取着体の開口部に取着体を、当該取着体の長手方向が当該開口部の形成方向に沿うようにして、当該取着体を前記被取着体の取着空間に配置し、この状態で当該取着体を所定方向に回動させると、当該取着体の長手方向の両端部は、被取着体の各取着溝に挿入されて、当該取着溝を構成する各側方圧接部に圧接される。ここで、当該圧接配置状態において、前記取着体における前記エッジ部と重合する部分に前後方向に貫通する貫通孔がプレス打抜き加工により形成されることで、当該貫通孔における打抜き方向の先端側にバリが残存形成され、当該取着体の前記圧接配置の途中において、前記バリが潰されて前記エッジ部との間に挟まることで、当該取着体の前記開口部の形成方向に沿った摺動摩擦抵抗が増大されて、被取着体の開口部の形成方向に沿って取着体がずれ移動しなくなる。
【0008】
請求項2の発明は、請求項1の発明において、前記取着体の短手方向の片端部又は両端部には、前記バリが形成された側を示すための表裏識別部が長手方向に沿って形成されていることを特徴としている。
【0009】
請求項2の発明によれば、取着体に形成された表裏識別部により、取着体の貫通孔の打抜き方向の先端側に残存形成された微少なバリの形成側を誤りなく判断できて、取着体における当該バリが形成された面と、被取着体の取着溝内に形成されたエッジ部とを確実に対向配置させられる。
【0010】
請求項3の発明は、請求項1又は2の発明において、前記取着体は細長比の大きな平行四辺形状をなし、長手方向の両端の短手方向に沿った両端の圧接面は、外側に凸のわん曲面に形成され、
前記被取着体の各側方圧接部は、前記開口部の開口面に対して鋭角をなす傾斜面状に形成され、
圧接配置状態において、前記圧接面における板厚方向に沿った一方の角部は、前記側方圧接部に喰い込んで圧接されることを特徴としている。
(【0011】以降は省略されています)
この特許をJ-PlatPat(特許庁公式サイト)で参照する
関連特許
未来工業株式会社
結束具
1か月前
未来工業株式会社
スリーブ
1か月前
未来工業株式会社
保護カバー
1か月前
未来工業株式会社
配線・配管材保持具
2日前
未来工業株式会社
カバーおよび設置装置
1か月前
未来工業株式会社
スリーブ装置及び筒連結構造
17日前
未来工業株式会社
カバーおよび配線器具設置装置
1か月前
未来工業株式会社
取着体、及び配線用ポ-ル装置
1か月前
未来工業株式会社
流路形成部材、及び、流路形成構造
1か月前
未来工業株式会社
ボックスカバー及び配線ボックス装置
1か月前
未来工業株式会社
貫通孔用固定台座、及び固定台座装置
2か月前
未来工業株式会社
配線・配管材保持機構、及び保護カバー
1か月前
未来工業株式会社
配線ボックス装置及び配線ボックス設置構造
1か月前
未来工業株式会社
型枠形成補助具、型枠形成装置、及び型枠設置構造
1か月前
未来工業株式会社
切断工具
1か月前
未来工業株式会社
固定体、設置体の固定構造、設置体固定装置及び固定体装置
1か月前
個人
電気を重力で発電装置
1か月前
個人
高圧電気機器の開閉器
18日前
キヤノン電子株式会社
モータ
1か月前
キヤノン電子株式会社
モータ
1か月前
コーセル株式会社
電源装置
1か月前
株式会社アイドゥス企画
減反モータ
18日前
トヨタ自動車株式会社
モータ
1か月前
株式会社デンソー
端子台
11日前
株式会社デンソー
回転電機
2日前
株式会社ダイヘン
送配電装置
2日前
個人
二次電池繰返パルス放電器用印刷基板
1か月前
本田技研工業株式会社
回転電機
4日前
富士電機株式会社
電力変換装置
2日前
株式会社不二越
空冷式油圧装置
2日前
ローム株式会社
半導体集積回路
9日前
富士電機株式会社
電力変換装置
2日前
矢崎総業株式会社
給電装置
10日前
トヨタ自動車株式会社
固定子の加熱装置
1か月前
矢崎総業株式会社
電源回路
17日前
株式会社日立製作所
回転電機
9日前
続きを見る
他の特許を見る