TOP
|
特許
|
意匠
|
商標
特許ウォッチ
Twitter
他の特許を見る
10個以上の画像は省略されています。
公開番号
2025176916
公報種別
公開特許公報(A)
公開日
2025-12-05
出願番号
2024083326
出願日
2024-05-22
発明の名称
配線・配管材保持具
出願人
未来工業株式会社
代理人
弁理士法人広江アソシエイツ特許事務所
主分類
F16L
3/12 20060101AFI20251128BHJP(機械要素または単位;機械または装置の効果的機能を生じ維持するための一般的手段)
要約
【課題】係止解除操作における操作性を改善した配線・配管材保持具を提供する。
【解決手段】配線・配管材保持具は、第1保持片と、第2保持片とを備える。第2保持片は、保持空間の外側から第1保持片に重合する。第1保持片の外面および第2保持片の内面には、第1保持片および第2保持片の重合を維持するように互いに係止する第1係止部および第2係止部が設けられる。第1係止部および第2係止部は、第2係止部が第1係止部に対して保持空間の外側に相対移動することにより係止状態が解除されるように構成される。第2係止歯列は、第2保持片の基端側に位置する1または複数の基端側係止歯と、第2保持片の先端側に位置する1または複数の先端側係止歯とから構成され、第1係止歯列の一の係止歯と基端側係止歯とが係合したときの係合深さが、第1係止歯列の一の係止歯と先端側係止歯とが係合したときの係合深さよりも小さい。
【選択図】図10
特許請求の範囲
【請求項1】
配線・配管材を保持するための配線・配管材保持具であって、
基端から先端に延在する第1保持片と、
基端から先端に延在し、前記第1保持片と協働して配線・配管材を包囲して配設方向に沿わせて保持するように前記第1保持片に接続された第2保持片とを、備え、
前記第1保持片の先端部位と前記第2保持片の先端部位とが重合することで、前記配線・配管材を包囲する環状の保持空間が形成され、前記第2保持片は、前記保持空間の外側から前記第1保持片に重合し、
前記第1保持片の外面および前記第2保持片の内面には、それぞれ、前記第1保持片および前記第2保持片の重合を維持するように互いに係止する第1係止部および第2係止部が設けられ、
前記第1係止部および前記第2係止部は、前記第1保持片および前記第2保持片の重合量を増加させる進行方向の相対移動を許容し、前記重合量を減少させる後退方向の相対移動を規制し、かつ、前記第2係止部が前記第1係止部に対して前記保持空間の外側に相対移動することにより係止状態が解除されるように構成され、
前記第1係止部は、重合の進行方向に複数形成された複数の係止歯からなる第1係止歯列からなり、前記第2係止部は、重合の進行方向に複数形成された複数の係止歯からなる第2係止歯列からなり、前記重合量が増加することによって互いに係合する係止歯が入れ替わり、
前記第2係止歯列は、前記第2保持片の基端側に位置する1または複数の基端側係止歯と、前記第2保持片の先端側に位置する1または複数の先端側係止歯とから構成され、前記第1係止歯列の一の係止歯と前記基端側係止歯とが係合したときの係合深さが、前記第1係止歯列の前記一の係止歯と前記先端側係止歯とが係合したときの係合深さよりも小さいことを特徴とする配線・配管材保持具。
発明の詳細な説明
【技術分野】
【0001】
本発明は、配線・配管材を保持する配線・配管材保持具に関する。
続きを表示(約 4,300 文字)
【背景技術】
【0002】
従来、建物の構築面や造営材の柱面などの壁面に固定され、該壁面に対して配線・配管材を支持及び配設する用途で種々の配線・配管材保持具が用いられている。
【0003】
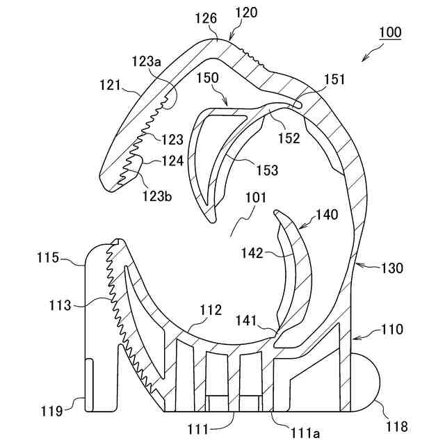
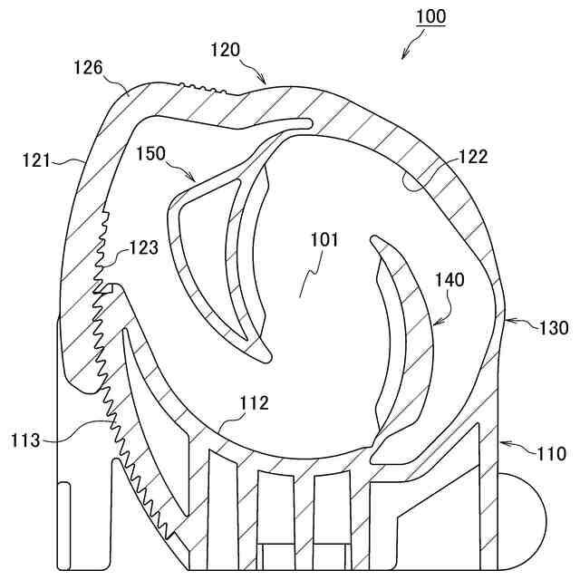
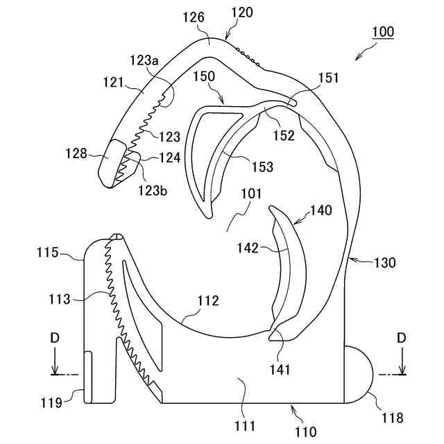
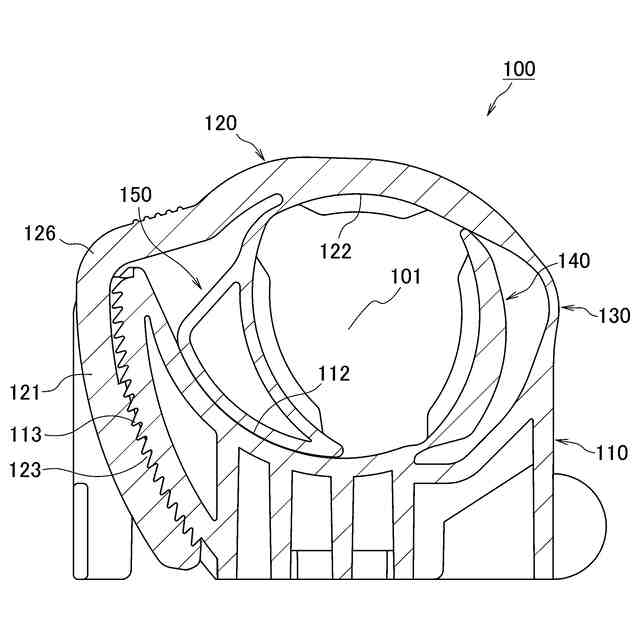
例えば、特許文献1は、配線・配管材を把持して壁面等の構造物に固定するための配線・配管材固定具を開示する。以下、当該段落において、()内に特許文献1の符号を示す。配線・配管材保持具(100)は、第1保持片(110)と、配線・配管材(P)を包囲して配設方向に沿わせて保持するように第1保持片(110)に接続された第2保持片(120)とを備える。第2保持片(120)は、保持空間(101)の外側から第1保持片(110)に重合する。第1保持片(110)の外面および第2保持片(120)の内面には、第1保持片(110)および第2保持片(120)の重合を維持するように互いに係止する第1係止歯列(113)および第2係止歯列(123)が設けられる。第1係止歯列(113)および第2係止歯列(123)は、第1保持片(110)および第2保持片(120)の重合量を増加させる進行方向の相対移動を許容し、重合量を減少させる後退方向の相対移動を規制し、かつ、第2係止歯列(123)が第1係止歯列(123)に対して保持空間(101)の外側に相対移動することにより係止状態が解除されるように構成される。第2保持片(120)には、保持する配線・配管材(P)の外周面に対して隙間を介して対向するように配設方向に張り出した解除操作部(128)が設けられている。解除操作工程では、操作工具(T)の先端部(または指先)を、配線・配管材(P)の外周面と、これに対向して延びる解除操作部(128)との隙間に差し込む。次に、操作工具(T)を配線・配管材(P)の外周面および解除操作部(128)の2点に当接させる。配線・配管材(P)の外周面との接点を支点とし、解除操作部(128)との接点を作用点とするように、操作工具(T)を配線・配管材(P)の周方向に傾動操作する。すると、操作工具(T)の先端で解除操作部(128)を配線・配管材(P)の径方向外側に持ち上げて、第2係止歯列(123)を第1係止歯列(113)から径方向外側に離間させることができる。こうして、第1係止歯列(113)および第2係止歯列(123)の係止歯による係止状態が解除される。この状態で、操作工具(T)を隙間から引き抜くことにより、係止解除操作が完了する。
【先行技術文献】
【特許文献】
【0004】
特開2023-53584号公報
【発明の概要】
【発明が解決しようとする課題】
【0005】
特許文献1の配線・配管材保持具は、保持する配線・配管材の外周面に対して隙間を介して対向するように配線・配管材の配設方向に張り出した解除操作部を設けたことにより、配線・配管材に干渉されることなく係止解除操作を行うことを容易とするものである。しかしながら、従来(特許文献1)の配線・配管材保持具では、第1および第2係止歯列の係止状態を解除操作する際、外側の第2保持片の先端部位を第1保持片の先端部位から離間させるように径方向外側に変形させるとき、相対的に小さい操作量で第2係止歯列の先端寄りの係止歯を第1係止歯列の係止歯から離間させることが可能である一方で、基端寄りの係止歯を第1係止歯列の係止歯から離間させるには、相対的に大きい操作量が必要となる。そのため、ユーザーは、第2係止歯列の先端側の係止歯を係止解除した後、第2保持片をより一層大きく外側に離間変形させることが求められ、操作性が低下することが問題であった。すなわち、従来の配線・配管材保持具において、係止解除における操作性を改善することが課題として挙げられる。
【0006】
本発明は、上記課題を解決するためになされたものであり、その目的は、係止解除操作における操作性を改善した配線・配管材保持具を提供することにある。
【課題を解決するための手段】
【0007】
本発明の一形態の配線・配管材保持具は、配線・配管材を保持するための配線・配管材保持具であって、
基端から先端に延在する第1保持片と、
基端から先端に延在し、前記第1保持片と協働して配線・配管材を包囲して配設方向に沿わせて保持するように前記第1保持片に接続された第2保持片とを、備え、
前記第1保持片の先端部位と前記第2保持片の先端部位とが重合することで、前記配線・配管材を包囲する環状の保持空間が形成され、前記第2保持片は、前記保持空間の外側から前記第1保持片に重合し、
前記第1保持片の外面および前記第2保持片の内面には、それぞれ、前記第1保持片および前記第2保持片の重合を維持するように互いに係止する第1係止部および第2係止部が設けられ、
前記第1係止部および前記第2係止部は、前記第1保持片および前記第2保持片の重合量を増加させる進行方向の相対移動を許容し、前記重合量を減少させる後退方向の相対移動を規制し、かつ、前記第2係止部が前記第1係止部に対して前記保持空間の外側に相対移動することにより係止状態が解除されるように構成され、
前記第1係止部は、重合の進行方向に複数形成された複数の係止歯からなる第1係止歯列からなり、前記第2係止部は、重合の進行方向に複数形成された複数の係止歯からなる第2係止歯列からなり、前記重合量が増加することによって互いに係合する係止歯が入れ替わり、
前記第2係止歯列は、前記第2保持片の基端側に位置する1または複数の基端側係止歯と、前記第2保持片の先端側に位置する1または複数の先端側係止歯とから構成され、前記第1係止歯列の一の係止歯と前記基端側係止歯とが係合したときの係合深さが、前記第1係止歯列の前記一の係止歯と前記先端側係止歯とが係合したときの係合深さよりも小さいことを特徴とする。
【発明の効果】
【0008】
本発明の一形態の配線・配管材保持具によれば、第1係止歯列の一の係止歯と第2係止歯列の基端側係止歯とが係合したときの(重合の進行方向に直交する方向の)係合深さが、第1係止歯列の一の(同一の)係止歯と第2係止歯列の先端側係止歯とが係合したときの係合深さよりも小さい。これにより、第2係止部を保持空間の外側に相対移動させるように操作した際、基端側係止歯を一の係止歯から離間させるのに必要な操作量を効果的に軽減させ、先端側係止歯および基端側係止歯の係止解除完了のタイミング(操作時点)を近付けることができる。つまり、係止解除操作において、先端側係止歯を一の係止歯から離間させる第2保持片の先端部位の操作量に加えて、第2保持片の先端部位をさらに外側に変形させる追加の操作量を効果的に軽減または省略させることができる。したがって、本発明の配線・配管材保持具は、係止解除操作をより容易とし、その操作性を改善するものである。
【図面の簡単な説明】
【0009】
本発明の一実施形態の配線・配管材保持具の(a)一方向から見た概略斜視図、および(b)反対方向から見た概略斜視図。
図1の配線・配管材保持具の正面図。
図1の配線・配管材保持具の(a)平面図、(b)左側面図、(c)右側面図および(d)底面図。
図3の配線・配管材保持具のA-A断面図。
図3の配線・配管材保持具のB-B断面図。
図3の配線・配管材保持具のC-C断面図。
図2の配線・配管材保持具のD-D断面図。
図1の配線・配管材保持具の小径用保持空間を形成した形態を示す概略断面図。
図1の配線・配管材保持具の大径用保持空間を形成した形態を示す概略断面図。
図4の配線・配管材保持具において、第1係止歯列および第2係止歯列を示す部分拡大図。
図9の配線・配管材保持具において、第1係止歯列および第2係止歯列の係合状態を示す部分拡大図。
図11の配線・配管材保持具の係合状態を解除する際の第2係止歯列の第1係止歯列に対する相対動作を示す模式図。
図10の配線・配管材保持具において、第1係止歯列および第2係止歯列の係合状態を示す部分拡大図。
図13の配線・配管材保持具の係合状態を解除する際の第2係止歯列の第1係止歯列に対する相対動作を示す模式図。
本発明の一実施形態の配線・配管材保持具による設置構造を示す概略斜視図。
図15の設置構造の正面図。
図16の設置構造のE-E断面図。
図16の設置構造のF-F断面図。
図17の設置構造において、対応最大径の配線・配管材を保持する形態を示す概略断面図。
図17の設置構造において、中間径の配線・配管材を保持する形態を示す概略断面図。
図15の配線・配管材保持具の設置構造において、工具を用いて第1係止部および第2係止部の係止状態を解除する方法を示す概略斜視図。
図21の方法において、(a)操作工具を解除操作部と配線・配管材外周面との間に差し込む工程、および、(b)操作工具を配線・配管材外周面を支点として傾動させる工程を示す。
本発明の別実施形態(第2実施形態)の配線・配管材保持具の概略断面図。
図23の配線・配管材保持具の部分拡大図。
図23の配線・配管材保持具の小径用保持空間を形成した形態を示す概略断面図。
図25の配線・配管材保持具の係合状態を解除する際の第2係止歯列の第1係止歯列に対する相対動作を示す模式図。
【発明を実施するための形態】
【0010】
以下、本発明の一実施形態について図面を参照しつつ説明する。なお、以下の説明において参照する各図の形状は、好適な形状寸法を説明する上での概念図又は概略図であり、寸法比率等は実際の寸法比率とは必ずしも一致しない。つまり、本発明は、図面における寸法比率に限定されるものではない。また、本発明における上下左右の方向は、相対的な位置を示す概念にすぎず、これらを入れ替えて適用可能であることは言うまでもない。
(【0011】以降は省略されています)
この特許をJ-PlatPat(特許庁公式サイト)で参照する
関連特許
未来工業株式会社
結束具
29日前
未来工業株式会社
スリーブ
1か月前
未来工業株式会社
保護カバー
1か月前
未来工業株式会社
配線・配管材保持具
1日前
未来工業株式会社
スリーブ装置及び筒連結構造
16日前
未来工業株式会社
流路形成部材、及び、流路形成構造
1か月前
未来工業株式会社
配線ボックス装置及び配線ボックス設置構造
1か月前
未来工業株式会社
型枠形成補助具、型枠形成装置、及び型枠設置構造
29日前
未来工業株式会社
切断工具
1か月前
個人
留め具
1か月前
個人
鍋虫ねじ
3か月前
個人
回転伝達機構
4か月前
個人
紛体用仕切弁
3か月前
個人
差動歯車用歯形
5か月前
個人
給排気装置
2か月前
個人
ジョイント
2か月前
個人
ナット
2か月前
個人
地震の揺れ回避装置
4か月前
株式会社不二工機
電磁弁
5か月前
個人
ナット
1か月前
株式会社不二工機
電磁弁
6か月前
個人
ゲート弁バルブ
16日前
個人
吐出量監視装置
3か月前
カヤバ株式会社
緩衝器
1か月前
柿沼金属精機株式会社
分岐管
3か月前
カヤバ株式会社
ダンパ
5か月前
兼工業株式会社
バルブ
1か月前
カヤバ株式会社
緩衝器
5か月前
カヤバ株式会社
緩衝器
5か月前
カヤバ株式会社
ダンパ
5か月前
株式会社奥村組
制振機構
2か月前
株式会社ニフコ
クリップ
2か月前
株式会社奥村組
制振機構
2か月前
株式会社タカギ
水栓装置
4か月前
株式会社ノーリツ
分配弁
2か月前
株式会社不二工機
電動弁
2か月前
続きを見る
他の特許を見る