TOP
|
特許
|
意匠
|
商標
特許ウォッチ
Twitter
他の特許を見る
10個以上の画像は省略されています。
公開番号
2025161270
公報種別
公開特許公報(A)
公開日
2025-10-24
出願番号
2024064318
出願日
2024-04-11
発明の名称
配線ボックス装置及び配線ボックス設置構造
出願人
未来工業株式会社
代理人
個人
,
個人
主分類
H02G
3/12 20060101AFI20251017BHJP(電力の発電,変換,配電)
要約
【課題】配線器具を異なる向きで設置できる配線ボックス装置を提供する。
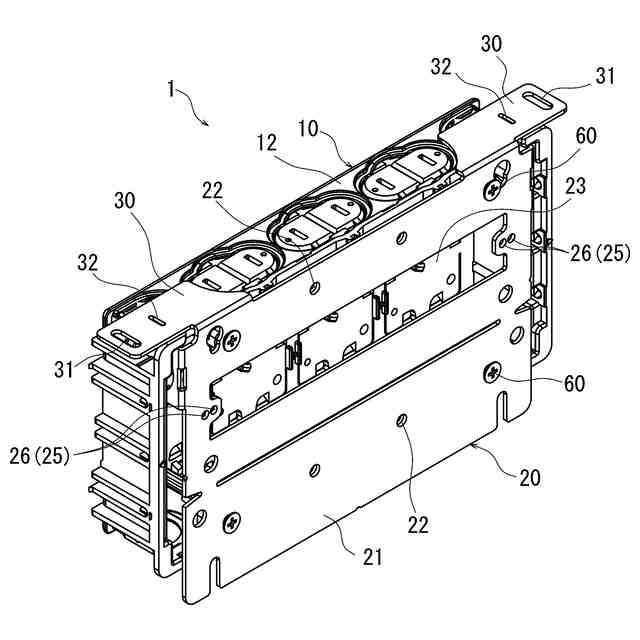
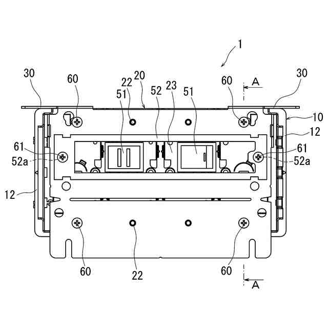
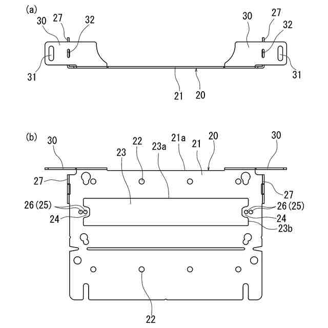
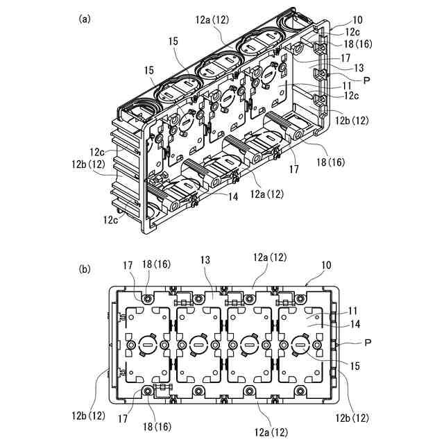
【解決手段】配線ボックス装置1は、配線器具を固定可能な第1器具固定部を有する配線ボックス10と、第1器具固定部に螺着可能なビス60で配線ボックス10に取着可能な取着部22、及び配線器具が固定される第2器具固定部25を有するボックスカバー20と、からなる。第1器具固定部は、上下方向に対向する一対の雌ネジ部を一組として、四組備え、第2器具固定部25は、対向する一対の雌ネジ部26,26を一組として、一組備えている。そして、ボックスカバー20は、第2器具固定部25の一対の雌ネジ部26,26の対向方向が第1方向と直交するように配線ボックス10に取着可能となっている。ボックスカバー20の透孔23内には配線器具が配置される。
【選択図】図1
特許請求の範囲
【請求項1】
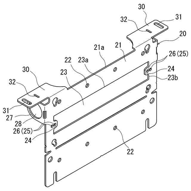
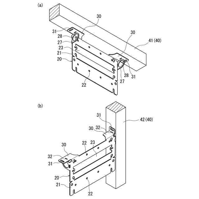
内部空間を囲む周壁を有し、当該周壁の少なくとも一方の端部側に内部を外方に臨ませる開口が形成され、前記一方側に配置される配線器具が直接または器具枠を介して固定可能な第1器具固定部を有する配線ボックスと、
前記配線ボックスの一方の端部側に取着可能な取着部と、前記配線器具が直接または器具枠を介して固定される第2器具固定部と、を有するボックスカバーと、からなり、
前記第1器具固定部は、第1方向に対向する一対の雌ネジ部を一組として、一組備え、または前記第1方向と直交する方向に並設された複数組を備え、
前記第2器具固定部は、対向する一対の雌ネジ部を一組として、一組備え、または当該一対の対向方向と直交する方向に並設された複数組を備え、
前記第2器具固定部の一対の雌ネジ部の対向方向が前記第1方向と直交するように、前記ボックスカバーを前記配線ボックスに取着可能であることを特徴とする配線ボックス装置。
続きを表示(約 770 文字)
【請求項2】
前記第1器具固定部は、前記第1方向に対向する一対の雌ネジ部を一組として、前記第1方向と直交する方向に並設された複数組を備え、
前記第2器具固定部は、前記第1器具固定部の一対の雌ネジ部よりも大きい間隔で対向する前記一対の雌ネジ部を一組として、一組備え、または当該一対の対向方向と直交する方向に並設された複数組を備えていることを特徴とする請求項1に記載の配線ボックス装置。
【請求項3】
前記ボックスカバーは、前記第1器具固定部に螺着されるビスによって、前記配線ボッ
クスに取着可能であることを特徴とする請求項1または請求項2に記載の配線ボックス装置。
【請求項4】
前記第2器具固定部は、対向する一対の雌ネジ部が一組のみであり、前記第1器具固定部の一対の対向中間位置よりも前記第1方向にずれていることを特徴とする請求項3に記載の配線ボックス装置。
【請求項5】
長方形状の底壁、及び当該底壁を基端側として立設し、先端側に前記底壁と対向する開口を形成する長方形枠状の周壁を有する有底箱状を成した配線ボックスの前記開口にボックスカバーが取着された配線ボックス設置構造であって、
前記ボックスカバーは、その閉鎖部が前記開口の一部を閉鎖し、前記配線ボックスの内部空間を外部に臨ませる長方形状の透孔の長辺の延びる方向が前記配線ボックスの長辺側に位置して対向する長辺側周壁に沿う状態で、前記配線ボックスに取着されており、
前記透孔内に配置される配線器具を固定するための器具固定部が、当該透孔の対向する
短辺側にそれぞれ形成され、
前記透孔は、前記配線ボックスの対向する長辺側周壁の一方に偏って配置されていることを特徴とする配線ボックス設置構造。
発明の詳細な説明
【技術分野】
【0001】
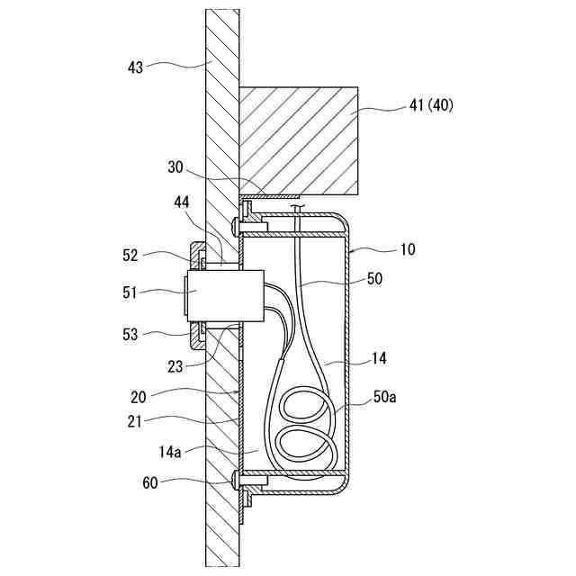
本発明は、建物の壁面にスイッチ、コンセント等の配線器具を設置するための配線ボックス装置及び配線ボックス設置構造に関するものである。
続きを表示(約 2,200 文字)
【背景技術】
【0002】
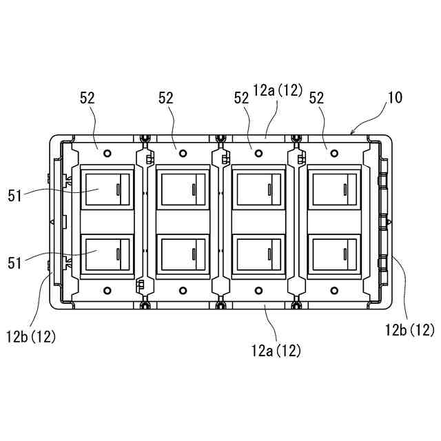
建物の間仕切壁や洗面化粧台、OAデスク等の壁面には照明器具のスイッチやコンセント等の配線器具が設置されている。配線器具は、壁裏に設置された配線ボックスに器具枠を介して設置されることが多い。配線器具の設置に関して、特許文献1に記載の配線ボックスが開示されている。この配線ボックスは、矩形状の底壁の周縁に周壁が立設され、周壁の先端部に開口が形成された矩形箱状に形成されており、対向する一対の器具固定部を有する。配線器具は、これを保持する器具枠を壁表に配置し、配線ボックスの器具固定部に対応して器具枠に設けられた一対の挿通孔にビスを挿通し、壁孔を通して壁裏の配線ボックスの器具固定部に螺着することにより、壁面に設置される。
【0003】
また、特許文献2には、配線ボックス装置が記載されている。この配線ボックス装置は、器具固定部を有さない配線ボックスと、対向する一対の器具固定部を有して配線ボックスの開口に取着されるボックスカバーと、からなり、配線器具は、これを保持する器具枠に設けられた一対の挿通孔にビスを挿通し、壁孔を通して壁裏のボックスカバーの器具固定部に螺着することにより、壁面に設置される。
【先行技術文献】
【特許文献】
【0004】
特開2023-053845号公報
特開2017-034771号公報
【発明の概要】
【発明が解決しようとする課題】
【0005】
しかし、特許文献1に記載の配線ボックスは、対向する一対の器具固定部の向きやピッチが定められており、配線器具の設置向きやピッチを変更するときは、別の配線ボックスを用意する必要があった。
【0006】
また、特許文献2に記載の配線ボックス装置においても、対向する一対の器具固定部のピッチが異なる場合は、それに対応して配線器具を設置することはできなかった。また、この配線ボックス装置において、配線ボックスの開口の形状が正方形であれば、ボックスカバーの取付向きを変更して組み付けることで、器具固定部の対向向きを変更することはできるが、配線ボックスの開口の形状が長方形であると、当然ながらボックスカバーの取付向きを変更して配線ボックスに取り付けることはできない。したがって、この配線ボックス装置も、配線ボックスに対するボックスカバーの器具固定部の対向向きを変更できず、したがって、配線器具の向きを変更して設置することはできなかった。
【0007】
そこで、本発明は、配線ボックスに対して配線器具を異なる向きでも設置できる配線ボックス装置及び配線ボックス設置構造の提供を課題とするものである。
【課題を解決するための手段】
【0008】
請求項1の配線ボックス装置は、内部空間を囲む周壁を有し、当該周壁の少なくとも一方の端部側に内部を外方に臨ませる開口が形成され、前記一方側に配置される配線器具が直接または器具枠を介して固定可能な第1器具固定部を有する配線ボックスと、
前記第1器具固定部に螺着可能なビスで前記配線ボックスの一方の端部側に取着可能な取着部と、前記配線器具が直接または器具枠を介して固定される第2器具固定部と、を有するボックスカバーと、からなり、
前記第1器具固定部は、第1方向に対向する一対の雌ネジ部を一組として、一組備え、または前記第1方向と直交する方向に並設された複数組を備え、
前記第2器具固定部は、対向する一対の雌ネジ部を一組として、一組備え、または当該一対の対向方向と直交する方向に並設された複数組を備え、
前記第2器具固定部の一対の雌ネジ部の対向方向が前記第1方向と直交するように、前記ボックスカバーを前記配線ボックスに取着可能なものである。
これによれば、配線ボックスに、第1器具固定部とは異なる向きで第2器具固定部を形成できる。また、配線ボックスは、第1器具固定部を有するので、単独で配線器具の固定に使用することもできる。
【0009】
請求項2の配線ボックス装置は、特に、第1器具固定部が、第1方向に対向する一対の雌ネジ部を一組として、前記第1方向と直交する方向に並設された複数組を備え、
第2器具固定部が、第1器具固定部の一対の雌ネジ部よりも大きい間隔で対向する前記一対の雌ネジ部を一組として、一組備え、または当該一対の対向方向と直交する方向に並設された複数組を備えている。
これにより、配線ボックスに固定可能な器具よりも大きい間隔が必要な器具を固定することが可能である。
【0010】
請求項3の配線ボックス装置は、特に、ボックスカバーが、第1器具固定部に螺着されるビスによって、配線ボックスに取着可能なものである。
これにより、配線ボックスが有する第1器具固定部を、これにビスを螺着してボックスカバーを取着するための取着部としても利用できるため、ボックスカバーを取り付けるための専用の取着部は不要であり、専用の取着部を設けることによりそれが邪魔になることもないし、その分配線ボックスの内部空間を広くできる。
(【0011】以降は省略されています)
この特許をJ-PlatPat(特許庁公式サイト)で参照する
関連特許
未来工業株式会社
結束具
17日前
未来工業株式会社
取付体
2か月前
未来工業株式会社
スリーブ
27日前
未来工業株式会社
保護カバー
25日前
未来工業株式会社
配線・配管材保持具
2か月前
未来工業株式会社
カバーおよび設置装置
1か月前
未来工業株式会社
スリーブ装置及び筒連結構造
4日前
未来工業株式会社
取着体、及び配線用ポ-ル装置
1か月前
未来工業株式会社
カバーおよび配線器具設置装置
1か月前
未来工業株式会社
流路形成部材、及び、流路形成構造
20日前
未来工業株式会社
貫通孔用固定台座、及び固定台座装置
2か月前
未来工業株式会社
ボックスカバー及び配線ボックス装置
1か月前
未来工業株式会社
配線・配管材保持機構、及び保護カバー
1か月前
未来工業株式会社
配線ボックス装置及び配線ボックス設置構造
1か月前
未来工業株式会社
型枠形成補助具、型枠形成装置、及び型枠設置構造
17日前
未来工業株式会社
切断工具
25日前
未来工業株式会社
固定体、設置体の固定構造、設置体固定装置及び固定体装置
1か月前
個人
電気を重力で発電装置
18日前
個人
高圧電気機器の開閉器
5日前
キヤノン電子株式会社
モータ
17日前
キヤノン電子株式会社
モータ
25日前
日星電気株式会社
ケーブル組立体
1か月前
コーセル株式会社
電源装置
26日前
トヨタ自動車株式会社
モータ
17日前
株式会社アイドゥス企画
減反モータ
5日前
株式会社デンソー
回転機
1か月前
株式会社kaisei
発電システム
1か月前
個人
二次電池繰返パルス放電器用印刷基板
1か月前
株式会社ミツバ
回転電機
1か月前
株式会社デンソー
電力変換装置
1か月前
株式会社デンソー
電力変換装置
1か月前
株式会社デンソー
非接触受電装置
1か月前
矢崎総業株式会社
電源回路
4日前
株式会社ダイヘン
インバータ装置
1か月前
トヨタ自動車株式会社
固定子の加熱装置
28日前
トヨタ自動車株式会社
ステータの製造装置
18日前
続きを見る
他の特許を見る