TOP
|
特許
|
意匠
|
商標
特許ウォッチ
Twitter
他の特許を見る
10個以上の画像は省略されています。
公開番号
2025161269
公報種別
公開特許公報(A)
公開日
2025-10-24
出願番号
2024064317
出願日
2024-04-11
発明の名称
ボックスカバー及び配線ボックス装置
出願人
未来工業株式会社
代理人
個人
,
個人
主分類
H02G
3/12 20060101AFI20251017BHJP(電力の発電,変換,配電)
要約
【課題】大型の配線ボックスにも対応して組付けできるとともに、大型の配線ボックスが配置できないような狭い箇所にも対応できるボックスカバーを提供する。
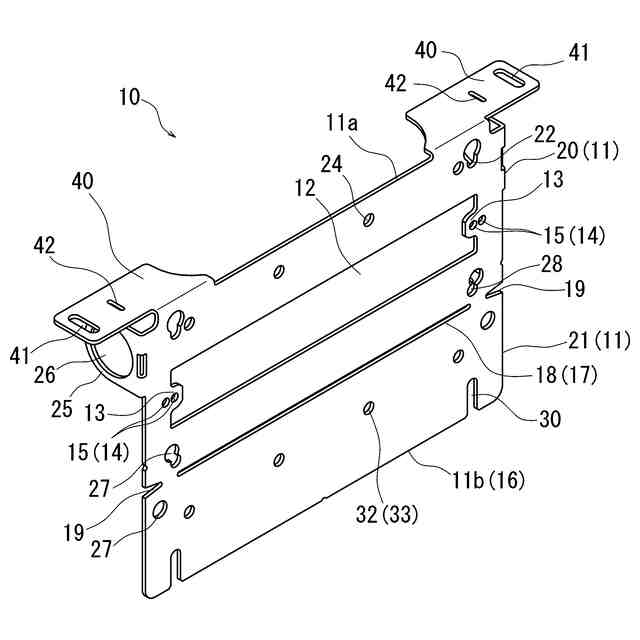
【解決手段】ボックスカバー10は、内部空間を囲む周壁52を有し、開口が形成された配線ボックス50に組付けられ、開口を覆うとともに一部に内部空間を外部と連通させる透孔12が貫通形成された閉塞部11と、透孔12内に位置するように配線器具が取着される器具取着部14と、構造物へ固定可能な固定部41と、を有する。閉塞部11は、透孔12と離れて位置する1の端縁16と透孔12との間に、透孔12から1の端縁16までの長さを短くすべく折り曲げまたは切断するのを容易とする容易部17を形成した。これにより、ボックスカバー10を小型化でき、狭い箇所でもボックスカバー10及び配線ボックス装置1を設置することができる。
【選択図】図1
特許請求の範囲
【請求項1】
内部空間を囲む周壁を有し当該周壁の少なくとも一方の端部側に内部を外方に臨ませる開口が形成された配線ボックスに組み付けられてまたは単独で使用されるボックスカバーであって、
一部に透孔が貫通形成された閉塞部と、前記透孔内に位置するように配線器具が取着される器具取着部と、を有し、
前記閉塞部は、前記透孔と離れて位置する1の端縁と前記透孔との間に、当該透孔から前記1の端縁までの長さを短くすべく折り曲げまたは切断するのを容易とする容易部が形成されていることを特徴とするボックスカバー。
続きを表示(約 1,000 文字)
【請求項2】
前記容易部は、前記閉塞部を貫通する直線状に延びた貫通溝を有することを特徴とする請求項1に記載のボックスカバー。
【請求項3】
前記貫通溝を挟んだ両側にドライバーの先端を挿入可能な貫通孔が設けられていることを特徴とする請求項2に記載のボックスカバー。
【請求項4】
前記閉塞部の、前記容易部よりも前記1の端縁と反対側には、構造物へ固定するための固定部が設けられていることを特徴とする請求項1乃至請求項3のいずれかに記載のボックスカバー。
【請求項5】
前記閉塞部の容易部から1の端縁の間には、当該閉塞部を貫通し構造物に打ち込まれる固着体が通過する固着部が設けられていることを特徴とする請求項1乃至請求項3のいずれかに記載のボックスカバー。
【請求項6】
内部空間を囲む周壁を有し、当該周壁の少なくとも一方の端部側に内部を外方に臨ませる開口が形成された配線ボックスであって、前記開口が相対的に大きい大型配線ボックス、及び相対的に小さい小型配線ボックスと、
請求項1乃至請求項3のいずれかに記載のボックスカバーと、からなり、
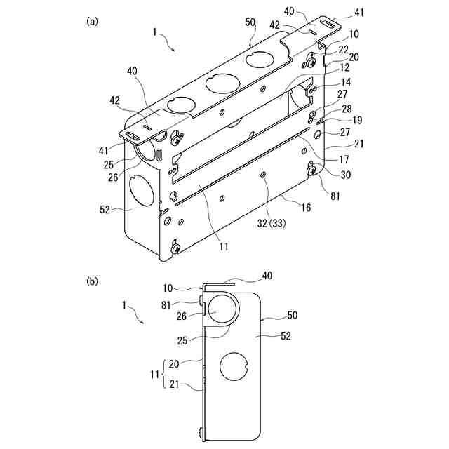
前記ボックスカバーの閉塞部は、前記大型配線ボックスの開口の全体を覆う大きさであり、当該閉塞部の、前記容易部よりも前記1の端縁と反対側の大きさは、前記小型配線ボックスの開口の全体を覆う大きさに形成されていることを特徴とする配線ボックス装置。
【請求項7】
前記容易部に沿って折り曲げた状態で前記小型配線ボックスに組付けた際に、前記容易部よりも前記1の端縁の側は、前記小型配線ボックスの周壁の外側に位置することを特徴とする請求項6に記載の配線ボックス装置。
【請求項8】
内部空間を囲む周壁を有し、当該周壁の少なくとも一方の端部側に内部を外方に臨ませる開口が形成された配線ボックスと、
透孔が貫通形成された板状の本体を備え、前記透孔内に位置するように配線器具が取着される器具取着部と、前記配線ボックスの一方の端部側に組付けられる組付け部と、を有するボックスカバーと、
からなる配線ボックス装置であって、
前記本体は、前記配線ボックスの開口より面積が小さく、前記配線ボックスに組付けられた状態で前記開口の一部のみと重合し、
前記開口の前記本体と重合していない箇所は、折り曲げまたは切断を容易とする容易部で前記本体と連結された覆い部が重合することを特徴とする配線ボックス装置。
発明の詳細な説明
【技術分野】
【0001】
本発明は、建物の壁材や住設機器、家具等の壁面にスイッチ、コンセント等の配線器具を設置するためのボックスカバー及び配線ボックス装置に関するものである。
続きを表示(約 2,000 文字)
【背景技術】
【0002】
建物の間仕切壁や洗面化粧台、OAデスク等の壁面には照明器具のスイッチやコンセント等の配線器具が設置されており、その設置について、特許文献1に記載のボックスカバーが開示されている。このボックスカバーは、図14(a)に示すように、配線器具が取り付けられる本体部91と、本体部91を構造物である建物の柱や胴縁に固定する固定部92と、を備えており、図14(b)に示すように、配線ボックス50に組付けられて配線ボックス50の開口を覆っている。ボックスカバー90は、本体部91に、配線器具が取り付けられる透孔93が形成され、透孔93の突起片に設けられた取付部94に、配線器具を保持する配線器具取付枠が取り付けられて、配線器具が設置されるようになっている。
【0003】
このボックスカバー90を使用して配線器具を壁材に設置するときは、ボックスカバー90を柱や胴縁61に取り付け、配線ボックス50の内部にケーブル70を引き込んでおき、壁材に形成した透孔からケーブル70を壁表側に引き出し、配線器具と接続した後、引き出したケーブル70の余長部を壁裏側に押し戻し、配線器具を配線器具取付枠を介して透孔93に取り付けている。
【先行技術文献】
【特許文献】
【0004】
特開2022-14760号公報
【発明の概要】
【発明が解決しようとする課題】
【0005】
しかし、従来のボックスカバー90は、これに取着された配線ボックス50の内側空間が狭いと、配線器具を壁材に設置する際に、一旦壁材の壁孔から壁表側に引き出して配線器具と接続したケーブル70を押し戻す余長部を配線ボックス50の内部空間に収容する作業がむずかしく、手間取ることがある。そこで、この配線ボックスに替えて内側空間が広い大型の配線ボックス50を使用することが考えられる。しかし、その場合、周辺の設置スペースの点から大型の配線ボックス50を設置することができなかったり、ボックスカバー90と配線ボックス50との組付けに使用するビスの取付位置が異なるためにボックスカバー90を組み付けることができないことがある。また、そもそも、このボックスカバー90で大型の配線ボックス50の開口全体を覆うことはできない。そのため、大型の配線ボックス50に対応する別途のボックスカバー90を用意する必要も出てくる。なお、ボックスカバー90を大小の配線ボックス50に兼用して使用する大型のものとすれば、設置スペースが小さい箇所にはそれを設置できないこともある。
【0006】
そこで、本発明は、ケーブルの余長部の収容空間を確保できる大型の配線ボックスにも対応して組付けできるとともに、大型の配線ボックスを配置できないような狭い箇所にも対応できるボックスカバー及び配線ボックス装置の提供を課題とするものである。
【課題を解決するための手段】
【0007】
請求項1のボックスカバーは、内部空間を囲む周壁を有し当該周壁の少なくとも一方の端部側に内部を外方に臨ませる開口が形成された配線ボックスに組み付けられてまたは単独で使用されるものであって、
一部に透孔が貫通形成された閉塞部と、前記透孔内に位置するように配線器具が取着される器具取着部と、を有し、
前記閉塞部は、前記透孔と離れて位置する1の端縁と前記透孔との間に、当該透孔から前記1の端縁までの長さを短くすべく折り曲げまたは切断するのを容易とする容易部が形成されている。
これにより、閉塞部を容易部で折り曲げまたは除去することにより、閉塞部を縮小でき、ボックスカバー及び配線ボックス装置を狭い箇所にも対応して設置することができる。
【0008】
請求項2のボックスカバーは、特に、容易部が、閉塞部を貫通する直線状に延びた貫通溝を有する。
これにより、容易部を簡易な構成で簡単に形成することができる。
請求項3のボックスカバーは、特に、貫通溝を挟んだ両側にドライバーの先端を挿入可能な貫通孔が設けられている。
これにより、容易部での折り曲げ作業をし易い。
【0009】
請求項4のボックスカバーは、特に、閉塞部の、容易部よりも1の端縁と反対側には、構造物へ固定するための固定部が設けられている。
これにより、ボックスカバーを単独でも使用することができる。
【0010】
請求項5のボックスカバーは、特に、閉塞部の容易部から1の端縁の間に、当該閉塞部を貫通し構造物に打ち込まれる固着体が通過する固着部が設けられている。
これにより、閉塞部を折り曲げることで、構造物に固定される固定部を形成でき、ボックスカバーを単独でも使用することができる。
(【0011】以降は省略されています)
この特許をJ-PlatPat(特許庁公式サイト)で参照する
関連特許
未来工業株式会社
結束具
16日前
未来工業株式会社
取付体
2か月前
未来工業株式会社
スリーブ
26日前
未来工業株式会社
保護カバー
24日前
未来工業株式会社
配線・配管材保持具
2か月前
未来工業株式会社
カバーおよび設置装置
1か月前
未来工業株式会社
スリーブ装置及び筒連結構造
3日前
未来工業株式会社
取着体、及び配線用ポ-ル装置
1か月前
未来工業株式会社
カバーおよび配線器具設置装置
1か月前
未来工業株式会社
流路形成部材、及び、流路形成構造
19日前
未来工業株式会社
貫通孔用固定台座、及び固定台座装置
2か月前
未来工業株式会社
ボックスカバー及び配線ボックス装置
1か月前
未来工業株式会社
配線・配管材保持機構、及び保護カバー
1か月前
未来工業株式会社
配線ボックス装置及び配線ボックス設置構造
1か月前
未来工業株式会社
型枠形成補助具、型枠形成装置、及び型枠設置構造
16日前
未来工業株式会社
切断工具
24日前
未来工業株式会社
固定体、設置体の固定構造、設置体固定装置及び固定体装置
1か月前
個人
単極モータ
1か月前
個人
電気を重力で発電装置
17日前
個人
高圧電気機器の開閉器
4日前
キヤノン電子株式会社
モータ
24日前
キヤノン電子株式会社
モータ
16日前
株式会社アイシン
ロータ
1か月前
株式会社アイシン
ロータ
1か月前
コーセル株式会社
電源装置
25日前
日星電気株式会社
ケーブル組立体
1か月前
トヨタ自動車株式会社
モータ
16日前
株式会社アイドゥス企画
減反モータ
4日前
株式会社デンソー
回転機
1か月前
個人
二次電池繰返パルス放電器用印刷基板
1か月前
株式会社kaisei
発電システム
1か月前
株式会社デンソー
電力変換装置
1か月前
株式会社ミツバ
回転電機
1か月前
株式会社デンソー
電力変換装置
1か月前
株式会社デンソー
非接触受電装置
1か月前
株式会社ダイヘン
インバータ装置
1か月前
続きを見る
他の特許を見る