TOP
|
特許
|
意匠
|
商標
特許ウォッチ
Twitter
他の特許を見る
10個以上の画像は省略されています。
公開番号
2025159815
公報種別
公開特許公報(A)
公開日
2025-10-22
出願番号
2024062595
出願日
2024-04-09
発明の名称
カバーおよび配線器具設置装置
出願人
未来工業株式会社
代理人
弁理士法人広江アソシエイツ特許事務所
主分類
H02G
3/12 20060101AFI20251015BHJP(電力の発電,変換,配電)
要約
【課題】周壁部の前後長さが可変であり、且つ、配線材の取り回し性を改善したカバーを提供する。
【解決手段】カバーは、建造物の壁に対して、前方を壁表に向けた状態で壁裏または壁孔に設置されるものである。カバーは、前端から後端に延在し、壁裏で内部空間を画定し、前端に内部空間を壁表に臨ませる開口部を有する周壁部と、周壁部の前端側で周壁部の外周面から外側へと延出する延出板部と、を備える。周壁部には、前端から連続して延在するとともに前後方向に変形しない非変形領域と、非変形領域の後側に並んで配置され、前後方向に伸縮変形する変形領域とが設けられている。非変形領域には、配線材を内部空間に導入するための導入部が形成されている。
【選択図】図1
特許請求の範囲
【請求項1】
建造物の壁に対して、前方を壁表に向けた状態で壁裏または壁孔に設置されるカバーであって、
前端から後端に延在し、壁裏で内部空間を画定し、前端に前記内部空間を壁表に臨ませる開口部を有する周壁部と、
前記周壁部の前端側で前記周壁部の外周面から外側へと延出する延出板部と、を備え、
前記周壁部には、前端から連続して延在するとともに前後方向に変形しない非変形領域と、前記非変形領域の後側に並んで配置され、前後方向に伸縮変形する変形領域とが設けられ、前記非変形領域には、配線材を前記内部空間に導入するための導入部が形成されていることを特徴とするカバー。
続きを表示(約 1,500 文字)
【請求項2】
前記非変形領域には、前後方向に延びる複数の補強リブが設けられ、隣接する前記補強リブの間に前記導入部が挟まれていることを特徴とする請求項1に記載のカバー。
【請求項3】
前記変形領域は、前後に伸縮可能な蛇腹形状を成し、前後方向の自然長が、最大伸長長さの半分よりも大きいことを特徴とする請求項1または2に記載のカバー。
【請求項4】
建造物の壁に穿設された壁孔に対して配線器具を設置するための配線器具設置装置であって、
請求項1または2に記載のカバーと、
前記壁孔に対して設置されるとともに前記配線器具が固定される配線器具固定体と、を備え、
前記カバーは、前記周壁部の後端を閉塞する底壁部をさらに備え、前記開口部から前記配線器具固定体を前記内部空間に収容可能であり、
前記変形領域は、前後に伸縮可能な蛇腹形状を成しており、
前記変形領域が自然長であるとき、前記内部空間に収容された前記配線器具固定体の後端と前記底壁部とが前後方向に離間し、前記変形領域が、前記自然長から前記底壁部を前方に移動させるように短縮変形可能であることを特徴とする配線器具設置装置。
【請求項5】
建造物の壁に穿設された壁孔に対して配線器具を設置するための配線器具設置装置であって、
請求項1または2に記載のカバーと、
前記壁孔に対して設置されるとともに前記配線器具が固定される配線器具固定体と、を備え、
前記カバーは、前記周壁部の後端面を閉塞する底壁部をさらに備え、前記開口部から前記配線器具固定体を前記内部空間に収容可能であり、
前記配線器具固定体は、側壁部と、前記側壁部の前方で開口する前面開口部と、前記配線器具を前記前面開口部を介して固定するための配線器具取付部と、前記側壁部の内外に配線材を挿通可能とする通孔部と、を備え、
前記カバーの前記内部空間に前記配線器具固定体の前記側壁部を収容するとともに、前記カバーの前記開口部および前記配線器具固定体の前記前面開口部を同一平面上に配置した状態で、前記導入部と前記通孔部とが内外方向に少なくとも部分的に連通することを特徴とする配線器具設置装置。
【請求項6】
前記配線器具固定体は、前後方向に第1の長さで延在する深型固定体と、前後方向に前記第1の長さよりも小さい第2の長さで延在する浅型固定体とから構成され、前記深型固定体および前記浅型固定体のいずれか一方が選択されて使用され、
前記深型固定体および前記浅型固定体は、前記カバーの前記開口部および前記前面開口部を同一平面上に配置した状態で、前記導入部と前記通孔部とが内外方向に少なくとも部分的に連通するように構成されていることを特徴とする請求項5に記載の配線器具設置装置。
【請求項7】
建造物の壁に穿設された壁孔に対して配線器具を設置するための配線器具設置装置であって、
請求項1または2に記載のカバーと、
前記壁孔に対して設置されるとともに前記配線器具が固定される配線器具固定体と、を備え、
前記配線器具固定体は、側壁部と、前記側壁部の前方で開口する前面開口部と、前記側壁部の内外に配線材を挿通可能とする通孔部と、を備え、
前記カバーは、前記前面開口部を介して前記側壁部の内部に配置された状態で、前記カバーの延出板部と前記配線器具固定体の前面とが当接するように構成され、
前記カバーが前記側壁部の内部に配置された状態で、前記導入部と前記通孔部とが内外方向に少なくとも部分的に連通することを特徴とする配線器具設置装置。
発明の詳細な説明
【技術分野】
【0001】
本発明は、建造物の壁に穿設された壁孔に対して設置されるカバー、および、該カバーを備える配線器具設置装置に関する。
続きを表示(約 2,700 文字)
【背景技術】
【0002】
一般に、建造物の壁にコンセントやスイッチ等の配線器具が壁に対して設置される際、壁に壁孔が形成され、該壁を介して配線器具が壁表に臨むように配置され、壁裏空間に配線された配線材が配線器具に接続される。この設置構造に対して、壁孔を介した壁表側の室内への音漏れを抑えたり、壁裏の冷気や暖気などの気流や塵埃類などが壁表側の室内へと流入することを抑えたりすることを目的として、配線器具設置用の壁孔を隙間無く閉塞する措置が必要となる。
【0003】
例えば、特許文献1は、壁内に配設されたボックス内部と室内側とを遮断するためのボックス用防塵パッキンを開示する。以下、当該段落において、()内に特許文献1の符号を示す。防塵パッキン(P1)は、例えば、軟質PVC等の軟質合成樹脂材、或いは合成ゴム、或いは天然ゴムから成るゴム材で成形されていて、一面が開口された箱状の本体(1)と、該本体(1)の開口の全周にその外方に向けて設けられた固定フランジ板(2)とから成る。防塵パッキン(P1)の本体(1)を構成する底壁(3)には、電線が気密状態で挿通可能な複数個の筒状の電線挿通部(4)が一体に設けられており、該本体(1)の周壁(5)は、蛇腹構造に成形されて伸縮可能になっている。このため、防塵パッキン(P1)は、その固定フランジ板(2)と底壁(3)との間の間隔(L)、即ち、その本体(1)の深さが可変となる。固定フランジ板(2)には、一対の固定ビス挿入穴(6)が設けられている。電線挿通部(4)は、底壁(3)の内側に突設されていて、その外側の部分に外部と遮断するための薄板(4a)が一体成形されており、該薄板(4a)は、使用時に破られる。防塵パッキン(P1)の使用例は、以下のとおりである。壁裏に設置されたボックス(B1)の外部において、防塵パッキン(P1)の固定フランジ板(2)と、コンセント(10)を取付けている器具取付け金枠(11)との間に押え板(7)を配置して、防塵パッキン(P1)の電線挿通部(4)の外側から内側に向けて、電線管(12)から引き出された電線(13)を挿通して、該電線(13)の先端部を配線器具であるコンセント(10)に接続させる。その後に、電線(13)と接続されたコンセント(10)を防塵パッキン(P1)の本体(1)に挿入すると、コンセント(10)の厚さが該本体(1)の深さよりも小さい場合には、該本体(1)はそのままの状態を維持し、コンセント(10)の厚さが該本体(1)の深さよりも大きい場合には、該本体(1)は必要最小長さだけ伸長される。そして、防塵パッキン(P1)の本体(1)をボックス(B1)内に挿入させると共に、コンセント(10)を該防塵パッキン(P1)の本体(1)に挿入させると、防塵パッキン(P1)の本体(1)がそのままの状態を維持している場合には、その周壁(5)は、ボックス(B1)内に収容された電線(13)の余長部の量、その曲がり具合などに応じて適宜圧縮される。
【先行技術文献】
【特許文献】
【0004】
特開平7-274346号公報
【発明の概要】
【発明が解決しようとする課題】
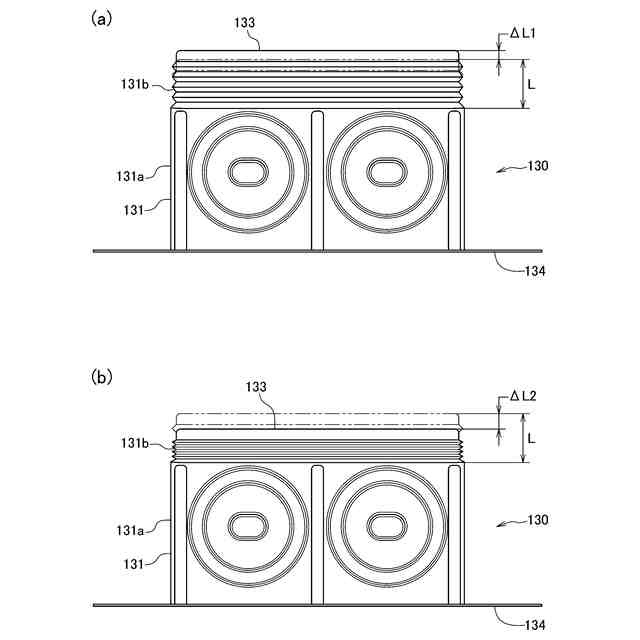
【0005】
特許文献1のカバー(防塵パッキン)は、カバー本体の周壁部が伸縮可能な構造となっていることで、本体の深さが壁孔の貫通する前後方向に可変となっている。しかしながら、このようなカバーでは、周壁部全体が蛇腹形状であることから、電線挿通部の形成箇所を、カバー本体の底壁の一面に定めるほかなく、配線材の取り回しに自由度がないことが課題として挙げられる。特には、壁裏では前後方向のスペースが狭い場合が多く、底壁の電線挿通部を介して配線材がカバー内に導入される際、配線材の屈折角度が急になり、配線材の取り回しが困難になることが問題であった。
【0006】
本発明は、上記課題を解決するためになされたものであり、本発明の目的は、カバーの周壁部の前後長さが可変であり、且つ、配線材の取り回し性を改善したカバー、および、該カバーを備える配線器具設置装置を提供することにある。
【課題を解決するための手段】
【0007】
(構成1)
構成1のカバーは、建造物の壁に対して、前方を壁表に向けた状態で壁裏または壁孔に設置されるカバーであって、
前端から後端に延在し、壁裏で内部空間を画定し、前端に前記内部空間を壁表に臨ませる開口部を有する周壁部と、
前記周壁部の前端側で前記周壁部の外周面から外側へと延出する延出板部と、を備え、
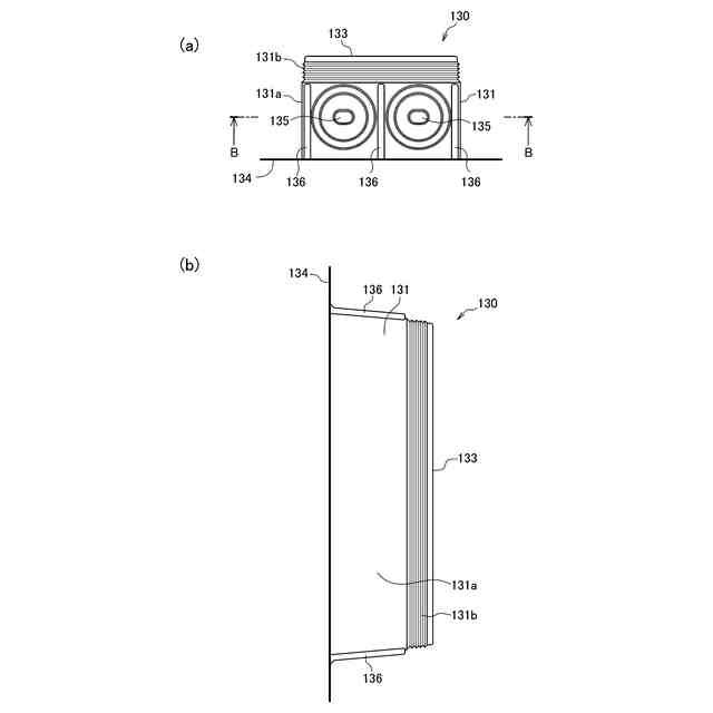
前記周壁部には、前端から連続して延在するとともに前後方向に変形しない非変形領域と、前記非変形領域の後側に並んで配置され、前後方向に伸縮変形する変形領域とが設けられ、前記非変形領域には、配線材を前記内部空間に導入するための導入部が形成されていることを特徴とする。
【0008】
(構成2)
構成2のカバーは、構成1のカバーにおいて、前記非変形領域には、前後方向に延びる複数の補強リブが設けられ、隣接する前記補強リブの間に前記導入部が挟まれていることを特徴とする。
【0009】
(構成3)
構成3のカバーは、構成1または2のカバーにおいて、前記変形領域は、前後に伸縮可能な蛇腹形状を成し、前後方向の自然長が、最大伸長長さの半分よりも大きいことを特徴とする。
【0010】
(構成4)
構成4の配線器具設置装置は、建造物の壁に穿設された壁孔に対して配線器具を設置するための配線器具設置装置であって、
構成1から3のいずれかの構成のカバーと、
前記壁孔に対して設置されるとともに前記配線器具が固定される配線器具固定体と、を備え、
前記カバーは、前記周壁部の後端を閉塞する底壁部をさらに備え、前記開口部から前記配線器具固定体を前記内部空間に収容可能であり、
前記変形領域は、前後に伸縮可能な蛇腹形状を成しており、
前記変形領域が自然長であるとき、前記内部空間に収容された前記配線器具固定体の後端と前記底壁部とが前後方向に離間し、前記変形領域が、前記自然長から前記底壁部を前方に移動させるように短縮変形可能であることを特徴とする。
(【0011】以降は省略されています)
この特許をJ-PlatPat(特許庁公式サイト)で参照する
関連特許
未来工業株式会社
結束具
16日前
未来工業株式会社
取付体
2か月前
未来工業株式会社
スリーブ
26日前
未来工業株式会社
保護カバー
24日前
未来工業株式会社
配線・配管材保持具
2か月前
未来工業株式会社
カバーおよび設置装置
1か月前
未来工業株式会社
スリーブ装置及び筒連結構造
3日前
未来工業株式会社
取着体、及び配線用ポ-ル装置
1か月前
未来工業株式会社
カバーおよび配線器具設置装置
1か月前
未来工業株式会社
流路形成部材、及び、流路形成構造
19日前
未来工業株式会社
貫通孔用固定台座、及び固定台座装置
2か月前
未来工業株式会社
ボックスカバー及び配線ボックス装置
1か月前
未来工業株式会社
配線・配管材保持機構、及び保護カバー
1か月前
未来工業株式会社
配線ボックス装置及び配線ボックス設置構造
1か月前
未来工業株式会社
型枠形成補助具、型枠形成装置、及び型枠設置構造
16日前
未来工業株式会社
切断工具
24日前
未来工業株式会社
固定体、設置体の固定構造、設置体固定装置及び固定体装置
1か月前
個人
単極モータ
1か月前
個人
高圧電気機器の開閉器
4日前
個人
電気を重力で発電装置
17日前
キヤノン電子株式会社
モータ
16日前
キヤノン電子株式会社
モータ
24日前
株式会社アイシン
ロータ
1か月前
株式会社アイシン
ロータ
1か月前
コーセル株式会社
電源装置
25日前
日星電気株式会社
ケーブル組立体
1か月前
株式会社アイドゥス企画
減反モータ
4日前
トヨタ自動車株式会社
モータ
16日前
株式会社デンソー
回転機
1か月前
個人
二次電池繰返パルス放電器用印刷基板
1か月前
株式会社kaisei
発電システム
1か月前
株式会社デンソー
電力変換装置
1か月前
株式会社デンソー
電力変換装置
1か月前
株式会社ミツバ
回転電機
1か月前
矢崎総業株式会社
電源回路
3日前
トヨタ自動車株式会社
固定子の加熱装置
27日前
続きを見る
他の特許を見る