TOP
|
特許
|
意匠
|
商標
特許ウォッチ
Twitter
他の特許を見る
公開番号
2025143962
公報種別
公開特許公報(A)
公開日
2025-10-02
出願番号
2024043498
出願日
2024-03-19
発明の名称
コンバイン
出願人
井関農機株式会社
代理人
個人
,
個人
主分類
A01D
41/127 20060101AFI20250925BHJP(農業;林業;畜産;狩猟;捕獲;漁業)
要約
【課題】従来、揚穀搬送装置からグレンタンクへの引継ぎ部分は円筒形に近い形であり、穀粒の量が多いとロードセルに検出されずにグレンタンクに入り込む穀粒の量が多くなり、算出された収量データと実際の収量の差異が大きくなる問題がある。
【解決手段】走行機体と機体前側で作物を収穫する刈取装置4と、刈り取りした穀稈から穀粒を分離選別する脱穀装置3と、脱穀した穀粒を収容する貯留タンク5と、作業者が搭乗する操縦部6とを備えるコンバインにおいて、脱穀装置3から貯留タンク5に穀粒を搬送する穀粒搬送路10を設け、穀粒搬送路10の排出口11は、幅広に構成し、排出口11に、穀粒の通過を検出する穀粒センサ12を、長手幅方向に向けて配置し、穀粒センサ12の検出位置と検出時間から、穀粒量を推定して算出する構成とすることを特徴とするコンバイン
【選択図】 図2
特許請求の範囲
【請求項1】
走行機体と機体前側で作物を収穫する刈取装置(4)と、刈り取りした穀稈から穀粒を分離選別する脱穀装置(3)と、脱穀した穀粒を収容する貯留タンク(5)と、作業者が搭乗する操縦部(6)とを備えるコンバインにおいて、脱穀装置(3)から貯留タンク(5)に穀粒を搬送する穀粒搬送路(10)を設け、穀粒搬送路(10)の排出口(11)は、幅広に構成し、排出口(11)に、穀粒の通過を検出する穀粒センサ(12)を、長手幅方向に向けて配置し、穀粒センサ(12)の検出位置と検出時間から、穀粒量を推定して算出する構成とすることを特徴とするコンバイン。
続きを表示(約 1,100 文字)
【請求項2】
穀粒センサ(12)は、排出口(11)の上側と下側に、幅方向に所定間隔を空けて複数配置し、穀粒センサ(12)は、上側と下側で重複しない位置に配置し、穀粒センサ(12)は、穀粒と接触することなく検出が可能な構成としたことを特徴とする請求項1に記載のコンバイン。
【請求項3】
穀粒センサ(12)は、排出口(11)の内側上部に、内部の幅方向とほぼ同じ長さに亘って配置し、排出口(11)の内側下部には、水分量センサ(15)を内部の幅方向とほぼ同じ長さに亘って配置し、水分量センサ(15)が検出した水分量により、穀粒センサ(12)の検出値を補正する構成とし、穀粒センサ(12)及び水分量センサ(15)は、穀粒と接触することなく検出が可能な構成としたことを特徴とする請求項1に記載のコンバイン。
【請求項4】
穀粒搬送路(10)から貯留タンク(5)の排出口(11)側に入り込む穀粒を、排出口(11)と反対側となる機体外側の貯留タンク(5)内に案内流下させる穀粒シュータ(16)を貯留タンク(5)内に設け、穀粒シュータ(16)の排出位置よりも機体内側寄りに、上下方向に長い仕切り板(17)を貯留タンク(5)内の前後方向に亘って配置し、穀粒は、貯留タンク(5)内の容量が少ないときには機体外側壁(18)と仕切り板(17)の間に貯留され、仕切り板(17)の高さを越えると仕切り板(17)と貯留タンク(5)の機体内側壁(19)の間に貯留される構成とし、貯留板(20)の下方には、穀粒を機外に排出する排出装置(7)に穀粒を搬送する排出搬送路(21)を設けた構成とすることを特徴とする請求項1から3のいずれか1項に記載のコンバイン。
【請求項5】
脱穀装置(3)と貯留タンク(5)の下方に、左右方向バッテリ載置空間部(25)を形成し、バッテリ載置空間部(25)のうち、バッテリ(26)を搭載して左右方向に移動可能なスライド台(27)を設け、貯留タンク(5)の機体外側端部に、スライド台(27)を引く引寄せスプリング(28)を設け、貯留タンク(5)内に、穀粒を受け、重量の増加により下降する穀粒エレベータ(30)を設け、穀粒エレベータ(30)とスライド台(27)を連携ワイヤ(31)で連結し、穀粒エレベータ(30)が下降するとスライド台(27)が脱穀装置(3)側に移動し、穀粒エレベータ(30)が上昇すると引寄せスプリング(28)の弾力により貯留タンク(5)側にスライド台(27)が移動する構成とし、貯留タンク(5)の底部に、穀粒を機外に排出する排出装置に穀粒を搬送する排出搬送路(21)を設け、バッテリ載置空間部(25)は、排出搬送路(21)よりも機体後側に形成したことを特徴とする請求項1から3のいずれか1項に記載のコンバイン。
発明の詳細な説明
【技術分野】
【0001】
本発明は、コンバインに係るものである。
続きを表示(約 5,900 文字)
【背景技術】
【0002】
従来、コンバインにおいて、脱穀、選別された穀粒をグレンタンクに送り込む際、引継部付近にロードセルを設け、検出結果からおおよその穀粒量や水分量を算出し、収量データを得る構成は公知である(特許文献1)。
【先行技術文献】
【特許文献】
【0003】
特開2023-91167号公報
【発明の概要】
【発明が解決しようとする課題】
【0004】
前記公知例は、揚穀搬送装置からグレンタンクへの引継ぎ部分は円筒形に近い形であり、穀粒の量が多いとロードセルに検出されずにグレンタンクに入り込む穀粒の量が多くなり、算出された収量データと実際の収量の差異が大きくなる問題がある(例えば、推定重量と実重量の差が大きくなる。)
本願は、穀粒搬送路の構成を工夫し、貯留タンクに投入される穀粒量の計測精度を向上させたものである。
【課題を解決するための手段】
【0005】
請求項1の発明は、走行機体と機体前側で作物を収穫する刈取装置4と、刈り取りした穀稈から穀粒を分離選別する脱穀装置3と、脱穀した穀粒を収容する貯留タンク5と、作業者が搭乗する操縦部6とを備えるコンバインにおいて、脱穀装置3から貯留タンク5に穀粒を搬送する穀粒搬送路10を設け、穀粒搬送路10の排出口11は、幅広に構成し、排出口11に、穀粒の通過を検出する穀粒センサ12を、長手幅方向に向けて配置し、穀粒センサ12の検出位置と検出時間から、穀粒量を推定して算出する構成とすることを特徴とするコンバインとしたものである。
請求項2の発明は、穀粒センサ12は、排出口11の上側と下側に、幅方向に所定間隔を空けて複数配置し、穀粒センサ12は、上側と下側で重複しない位置に配置し、穀粒センサ12は、穀粒と接触することなく検出が可能な構成としたことを特徴とするコンバインである。
請求項3の発明は、穀粒センサ12は、排出口11の内側上部に、内部の幅方向とほぼ同じ長さに亘って配置し、排出口11の内側下部には、水分量センサ15を内部の幅方向とほぼ同じ長さに亘って配置し、水分量センサ15が検出した水分量により、穀粒センサ12の検出値を補正する構成とし、穀粒センサ12及び水分量センサ15は、穀粒と接触することなく検出が可能な構成としたことを特徴とするコンバインである。
請求項4の発明は、穀粒搬送路10から貯留タンク5の排出口11側に入り込む穀粒を、排出口11と反対側となる機体外側の貯留タンク5内に案内流下させる穀粒シュータ16を貯留タンク5内に設け、穀粒シュータ16の排出位置よりも機体内側寄りに、上下方向に長い仕切り板17を貯留タンク5内の前後方向に亘って配置し、穀粒は、貯留タンク5内の容量が少ないときには機体外側壁18と仕切り板17の間に貯留され、仕切り板17の高さを越えると仕切り板17と貯留タンク5の機体内側壁19の間に貯留される構成とし、貯留板20の下方には、穀粒を機外に排出する排出装置7に穀粒を搬送する排出搬送路21を設けた構成とすることを特徴とするコンバインである。
請求項5の発明は、脱穀装置3と貯留タンク5の下方に、左右方向バッテリ載置空間部25を形成し、バッテリ載置空間部25のうち、バッテリ26を搭載して左右方向に移動可能なスライド台27を設け、貯留タンク5の機体外側端部に、スライド台27を引く引寄せスプリング28を設け、貯留タンク5内に、穀粒を受け、重量の増加により下降する穀粒エレベータ30を設け、穀粒エレベータ30とスライド台27を連携ワイヤ31で連結し、穀粒エレベータ30が下降するとスライド台27が脱穀装置3側に移動し、穀粒エレベータ30が上昇すると引寄せスプリング28の弾力により貯留タンク5側にスライド台27が移動する構成とし、貯留タンク5の底部に、穀粒を機外に排出する排出装置に穀粒を搬送する排出搬送路21を設け、バッテリ載置空間部25は、排出搬送路21よりも機体後側に形成したことを特徴とするコンバインである。
【発明の効果】
【0006】
請求項1の発明では、脱穀装置3から貯留タンク5に穀粒を搬送する穀粒搬送路10を設け、穀粒搬送路10の排出口11は、幅広に構成し、排出口11に、穀粒の通過を検出する穀粒センサ12を、長手幅方向に向けて配置し、穀粒センサ12の検出位置と検出時間から、穀粒量を推定して算出する構成としているので、貯留タンク5内に幅広く穀粒を投入でき、偏った位置に穀粒が投入されにくくなり、機体の重量バランスが乱れることが防止される。
貯留タンク5に投入される直前の穀粒群の投入時の上下長さが短く抑えられることにより、穀粒センサ12が穀粒を検出しやすく、実際の収量と検出された収量の差異を少なく抑えることができ、収量の検出精度が向上する。
請求項2の発明では、穀粒センサ12は、排出口11の上側と下側に、幅方向に所定間隔を空けて複数配置し、穀粒センサ12は、上側と下側で重複しない位置に配置し、穀粒センサ12は、穀粒と接触することなく検出が可能な構成としているので、穀粒センサ12の配置密度を高めて、検出されることなく貯留タンク5に回収される穀粒を減らし、収量測定の正確性を向上させることができる。
非接触式の穀粒センサ12により穀粒を検出することにより、穀粒センサ12との接触することによる穀粒が割れたり変色したりすることを防止でき、穀粒の品質低下を防止できる。
請求項3の発明では、穀粒センサ12は、排出口11の内側上部に、内部の幅方向とほぼ同じ長さに亘って配置し、排出口11の内側下部には、水分量センサ15を内部の幅方向とほぼ同じ長さに亘って配置し、水分量センサ15が検出した水分量により、穀粒センサ12の検出値を補正(水分量高→減少補正、水分量低→増加補正)する構成とし、穀粒センサ12及び水分量センサ15は、穀粒と接触することなく検出が可能な構成としているので、穀粒センサ12の配置範囲(検出範囲)を幅広くすることにより、検出されることなく貯留タンク5に回収される穀粒を減らし、収量測定の正確性を向上させることができる。
水分量センサ15により水分量を検出し、水分により密に集合している穀粒群をまとめてカウントされたであろう穀粒の数に増減補正をかけることで、作業環境に合わせて検出精度を向上させることができる。
穀粒センサ12および水分量センサ15は非接触式として穀粒を検出するので、接触することによる穀粒が割れたり変色したりすることを防止でき、穀粒の品質低下を防止できる。
請求項4の発明では、穀粒搬送路10から貯留タンク5の排出口11側に入り込む穀粒を、排出口11と反対側となる機体外側の貯留タンク5内に案内流下させる穀粒シュータ16を貯留タンク5内に設け、排出シュータ穀粒シュータ16の排出位置(機体外側端部)よりも機体内側寄りに、上下方向に長い仕切り板17を貯留タンク5内の前後方向に亘って配置し、穀粒は、貯留タンク5内の容量が少ないときには機体外側壁18と仕切り板17の間に貯留され、仕切り板17の高さを越えると仕切り板17と貯留タンク5の機体内側壁19の間に貯留される構成とし、貯留板20の下方には、穀粒を機外に排出する排出装置7に穀粒を搬送する排出搬送路21を設けた構成としているので、貯留開始時は機体外側寄りに穀粒が貯留されることにより、左右方向反対側に配置される重量物(エンジン、バッテリ等)による左右バランスの偏りを軽減できるので、刈取姿勢や進行方向の乱れが生じにくく、作業能率や作業制度の向上が図られる。
穀粒の回収量が多くなると貯留タンク5の内側寄り、即ち機体の左右方向中央部付近の重量が増加するので、貯留容量を確保しつつ機体の左右バランスの安定が図られる。
請求項5の発明では、脱穀装置3と貯留タンク5の下方に、左右方向のバッテリ載置空間部25を形成し、バッテリ載置空間部25のうち、バッテリ26を搭載して左右方向に移動可能なスライド台27を設け、貯留タンク5の機体外側端部に、スライド台27を引く引寄せスプリング28を設け、貯留タンク5内に、穀粒を受け、重量の増加により下降する穀粒エレベータ30を設け、穀粒エレベータ30とスライド台27を連携ワイヤ31で連結し、穀粒エレベータ30が下降するとスライド台27が脱穀装置3側に移動し、穀粒エレベータ30が上昇すると引寄せスプリング28の弾力により貯留タンク5側にスライド台27が移動する構成とし、貯留タンク5の底部に、穀粒を機外に排出する排出装置に穀粒を搬送する排出搬送路21を設け、バッテリ載置空間部25は、排出搬送路21よりも機体後側に形成するので、貯留タンク5に貯留され始める前にはバッテリ26が貯留タンク5の機体外側に位置することにより、反対側に重量バランスが偏ることを防止でき、作業姿勢や進行方向の安定化が図られる。
貯留される穀粒の量が増えるとバッテリ26が機体内側に向かって移動することにより、貯留される穀粒量が増えても貯留タンク5側に機体バランスが偏ることを防止できるので、作業姿勢や進行方向の安定化が図られる。
バッテリ載置空間部25が機体最後部付近に形成されることにより、刈取装置4などの機体前側に配置される重量物により、機体前後バランスの偏りを防止することで、刈取装置4が地面に接触して破損したり、刈取位置4の刈高さが必要以上に高くなり、走行に影響する丈の高い刈り株が残されることを防止できる。
【図面の簡単な説明】
【0007】
コンバインの平面図。
貯留タンクと穀粒搬送路の平面図および側面図。
同他の実施形態図。
同他の実施形態図。
同他の実施形態図。
同他の実施形態図。
同他の実施形態図。
ロータリーバルブ部分の側面図。
貯留タンクの他の実施形態の背面視における作用状態図。
同他の実施形態の背面視における作用状態図。
同他の実施形態の側面図。
貯留タンクの側面図。
貯留タンクの一部を開口させた斜視図。
同他の実施形態の斜視図および開閉回動アームとストッパピンの側面図。
同他の実施形態の斜視図。
同他の実施形態の斜視図。
同他の実施形態の斜視図。
(A)貯留タンクの従来の側面図。 (B)本発明の貯留タンクの側面図。
同他の実施形態の斜視図。
掃除口の作用(使用)状態の平面および側面図。
掃除口の斜視図。
掃除口の他の実施形態の作用(使用)状態の平面および側面図。 同他の実施形態の斜視図。
【発明を実施するための形態】
【0008】
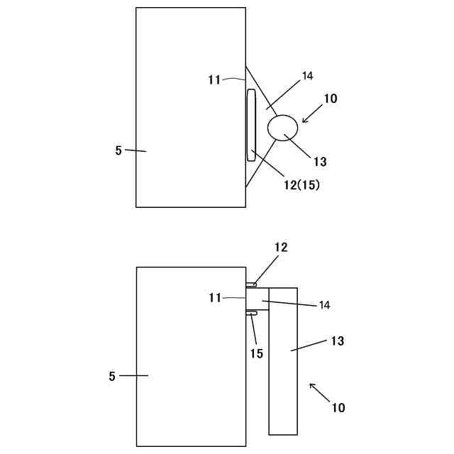
本発明の一実施形態を図面により説明すると、1は作業車両(コンバイン)の機体フレーム、2は機体フレーム1の下方の走行装置、3は機体フレーム1の上方の一側に設けた分離装置(脱穀装置)、4は刈取装置、5は脱穀装置3の側方に設けた貯留タンク(グレンタンク)、6は操縦部で、7は回収装置5内の収穫物を排出する排出オーガである。
走行機体と機体前側で作物を収穫する刈取装置4と、刈り取りした穀稈から穀粒を分離選別する脱穀装置3と、脱穀した穀粒を収容する貯留タンク5と、作業者が搭乗する操縦部6とを備えるコンバインにおいて、脱穀装置3から貯留タンク5に穀粒を搬送する穀粒搬送路10を形成する揚穀筒13を設け、穀粒搬送路10のグレンタンク5の接続樋14に形成した排出口11は、幅広に構成(平面視で扇型とし、上下長さは短い構成)し、排出口11に、穀粒の通過を検出する(1つ、または複数の)穀粒センサ12を、長手幅方向に向けて配置し、穀粒センサ12の検出位置と検出時間から、穀粒量を推定して算出する構成とする(図2)。
【0009】
穀粒搬送路10から貯留タンク5への排出口11を幅広に構成したことにより、貯留タンク5内に幅広く穀粒を投入できるので、偏った位置に穀粒が投入されにくくなり、機体の重量バランスが乱れることが防止される。
貯留タンク5に投入される直前の穀粒群の投入時の上下長さが短く抑えられることにより、穀粒センサ12が穀粒を検出しやすく、実際の収量と検出された収量の差異を少なく抑えることができ、収量の検出精度が向上する。
穀粒センサ12は、排出口11の上側と下側に、幅方向に所定間隔を空けて複数配置し、穀粒センサ12は、上側と下側で重複しない位置に配置し、穀粒センサ12は、穀粒と接触することなく検出が可能な構成とする(図3)。
すなわち、穀粒センサ12は、穀粒と接触しない非接触式のセンサとする。
穀粒センサ12を上下に配置することにより、穀粒センサ12の配置密度を高めて、検出されることなく貯留タンク5に回収される穀粒を減らし、収量測定の正確性を向上させることができる。
【0010】
非接触式の穀粒センサ12により穀粒を検出することにより、穀粒センサ12との接触することによる穀粒が割れたり変色したりすることを防止でき、穀粒の品質低下を防止できる。
穀粒センサ12は、排出口11の内側上部に、内部の幅方向とほぼ同じ長さに亘って配置し、排出口11の内側下部には、電気抵抗値によって水分量を算出する水分量センサ15を内部の幅方向とほぼ同じ長さに亘って配置し、水分量センサ15が検出した水分量により、穀粒センサ12の検出値を補正(水分量高→減少補正、水分量低→増加補正)する構成とし、穀粒センサ12及び水分量センサ15は、穀粒と接触することなく検出が可能な構成とする(図4)。
穀粒センサ12の配置範囲(検出範囲)を幅広くすることにより、検出されることなく貯留タンク5に回収される穀粒を減らし、収量測定の正確性を向上させることができる。
(【0011】以降は省略されています)
この特許をJ-PlatPat(特許庁公式サイト)で参照する
関連特許
井関農機株式会社
田植機
3日前
井関農機株式会社
作業車両
2か月前
井関農機株式会社
作業車両
1か月前
井関農機株式会社
作業車両
24日前
井関農機株式会社
作業車両
25日前
井関農機株式会社
作業車両
25日前
井関農機株式会社
農作業機
2日前
井関農機株式会社
作業車両
1か月前
井関農機株式会社
作業車両
1か月前
井関農機株式会社
作業車両
1か月前
井関農機株式会社
作業車両
16日前
井関農機株式会社
作業車両
1か月前
井関農機株式会社
作業車両
1か月前
井関農機株式会社
作業車両
1か月前
井関農機株式会社
作業車両
1か月前
井関農機株式会社
作業車両
1か月前
井関農機株式会社
作業車両
1か月前
井関農機株式会社
作業車両
16日前
井関農機株式会社
作業車両
25日前
井関農機株式会社
農作業車
6日前
井関農機株式会社
作業車両
2日前
井関農機株式会社
作業車両
10日前
井関農機株式会社
田植え機
10日前
井関農機株式会社
作業車両
9日前
井関農機株式会社
作業車両
4日前
井関農機株式会社
作業車両
6日前
井関農機株式会社
農作業車
10日前
井関農機株式会社
作業車両
6日前
井関農機株式会社
コンバイン
16日前
井関農機株式会社
コンバイン
1か月前
井関農機株式会社
乗用芝刈機
2日前
井関農機株式会社
コンバイン
1か月前
井関農機株式会社
コンバイン
3日前
井関農機株式会社
コンバイン
1か月前
井関農機株式会社
コンバイン
1か月前
井関農機株式会社
圃場作業機
27日前
続きを見る
他の特許を見る