TOP
|
特許
|
意匠
|
商標
特許ウォッチ
Twitter
他の特許を見る
10個以上の画像は省略されています。
公開番号
2025179350
公報種別
公開特許公報(A)
公開日
2025-12-10
出願番号
2024086044
出願日
2024-05-28
発明の名称
コネクタ
出願人
矢崎総業株式会社
代理人
弁理士法人虎ノ門知的財産事務所
主分類
H01R
13/516 20060101AFI20251203BHJP(基本的電気素子)
要約
【課題】コネクタ嵌合方向を型抜き方向とするインナハウジングに適用すること。
【解決手段】インナハウジング30は、一対の側壁面32からそれぞれに突出させた第1保持部33と、コネクタ挿抜方向と組付け方向とで第1保持部に対してそれぞれに対向配置させずに一対の側壁面からそれぞれに突出させた一対の第2保持部34と、を有し、アウタハウジング部材50は、一対の側壁部51の内壁面51aからそれぞれに突出させ且つ組付け方向に延在させ、側壁面毎に第1保持部と一対の第2保持部とで挟持させる被挟持部52と、を有し、第1保持部は、被挟持部の第1係止部52aを基準位置に係止させる基準係止部33aを有し、一対の第2保持部は、被挟持部の第2係止部52bに押し潰される潰しリブ34aを有し、第1保持部と一対の第2保持部は、基準係止部と潰しリブとによって、被挟持部を挟持すること。
【選択図】図3
特許請求の範囲
【請求項1】
回路基板と、
前記回路基板に接続する端子金具と、
相手方コネクタを嵌合接続させるフード部を有し、相手方端子金具との嵌合接続部が前記フード部の内方に配置された前記端子金具を収容し且つ保持するインナハウジングと、
前記フード部の内方を露出させて前記回路基板と前記端子金具と前記インナハウジングを収容するアウタハウジングと、
を備え、
前記アウタハウジングは、前記相手方コネクタとのコネクタ挿抜方向に直交する組付け方向で前記回路基板と前記端子金具と前記インナハウジングを挟み込むアウタハウジング部材とカバー部材を備え、
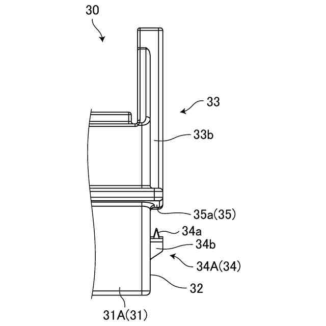
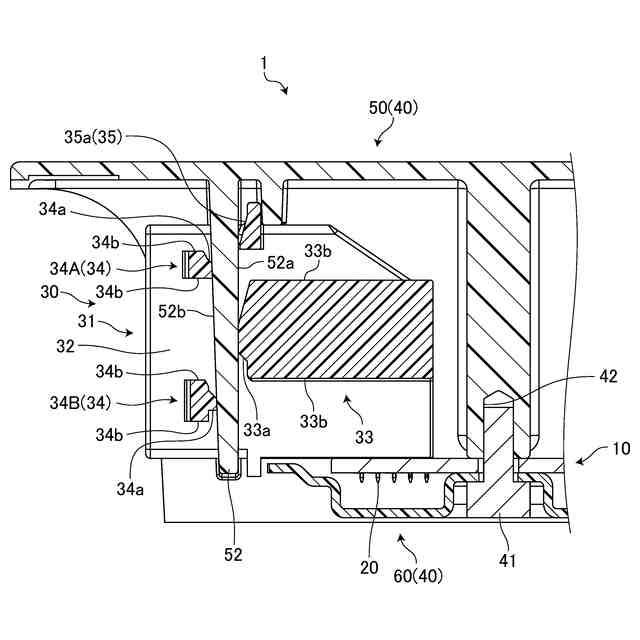
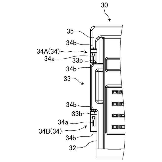
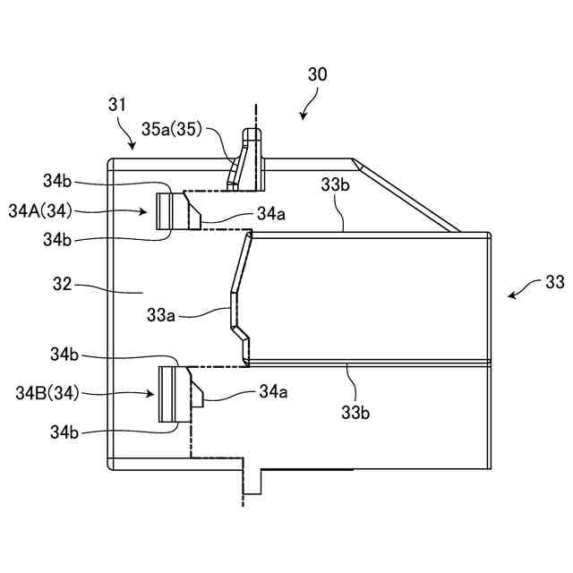
前記インナハウジングは、前記コネクタ挿抜方向と前記組付け方向とに直交する方向で両端に位置する一対の側壁面と、一対の前記側壁面からそれぞれに突出させた第1保持部と、前記コネクタ挿抜方向と前記組付け方向とで前記第1保持部に対してそれぞれに対向配置させずに一対の前記側壁面からそれぞれに突出させた一対の第2保持部と、を有し、
前記アウタハウジング部材は、前記コネクタ挿抜方向で前記フード部を露出させる第1開口と、前記組付け方向に口を開けた第2開口と、内壁面を前記インナハウジングの前記側壁面に対向配置させる前記側壁面毎の側壁部と、一対の前記側壁部の前記内壁面からそれぞれに突出させ且つ前記組付け方向に延在させ、前記側壁面毎に前記第1保持部と一対の前記第2保持部とで挟持させる被挟持部と、を有し、前記第2開口を塞ぐ形で前記カバー部材が組み付けられ、
前記第1保持部は、前記コネクタ挿抜方向で一対の前記第2保持部側の端部に位置し、前記被挟持部における前記第1保持部側の第1係止部を前記コネクタ挿抜方向の基準位置に係止させる基準係止部を有し、
一対の前記第2保持部は、前記コネクタ挿抜方向で前記第1保持部側の端部に位置し、前記被挟持部における一対の前記第2保持部側の第2係止部に押し潰される潰しリブを有し、
前記第1保持部と一対の前記第2保持部は、前記第1係止部を係止した前記基準係止部と前記第2係止部に押し潰された前記潰しリブとによって、前記被挟持部を前記コネクタ挿抜方向で挟持することを特徴としたコネクタ。
続きを表示(約 550 文字)
【請求項2】
一方の前記第2保持部は、前記組付け方向で前記第1保持部よりも一方側に配置され、
他方の前記第2保持部は、前記組付け方向で前記第1保持部よりも他方側に配置されることを特徴とした請求項1に記載のコネクタ。
【請求項3】
前記第1保持部は、前記組付け方向で両端に位置し且つ前記コネクタ挿抜方向に延在させた一対の平端面を有し、
一対の前記第2保持部は、前記組付け方向で前記第1保持部の一対の前記平端面の間隔以上の隙間を空けて配置されることを特徴とした請求項2に記載のコネクタ。
【請求項4】
前記第1保持部と一対の前記第2保持部は、平面形状に形成された前記側壁面から膨出させることを特徴とした請求項3に記載のコネクタ。
【請求項5】
前記被挟持部は、一方の前記第2保持部側から前記第1保持部と一方の前記第2保持部の間に挿入して前記第1保持部と一対の前記第2保持部とに挟持させるべく形成され、
前記インナハウジングは、一対の前記側壁面からそれぞれに突出させ、前記第1係止部が当接した前記被挟持部を前記第1保持部と一方の前記第2保持部の間に誘い込む拾い部を有することを特徴とした請求項1,2,3又は4に記載のコネクタ。
発明の詳細な説明
【技術分野】
【0001】
本発明は、コネクタに関する。
続きを表示(約 2,800 文字)
【背景技術】
【0002】
従来、コネクタにおいては、回路基板を内包するものが知られている。このコネクタは、回路基板と、回路基板に接続する端子金具と、端子金具を収容し且つ保持するインナハウジングと、インナハウジングのフード部の内方を露出させて回路基板と端子金具とインナハウジングを収容するアウタハウジングと、を備えている。そのアウタハウジングは、コネクタ挿抜方向に直交する組付け方向で回路基板と端子金具とインナハウジングを挟み込むアウタハウジング部材及びカバー部材を備える。アウタハウジング部材は、コネクタ挿抜方向でフード部を露出させる第1開口と、組付け方向に口を開けた第2開口と、を有しており、その第2開口を塞ぐ形でカバー部材が組み付けられる。この種のコネクタについては、例えば、下記の特許文献1に開示されている。
【先行技術文献】
【特許文献】
【0003】
特表2018-526800号公報
【発明の概要】
【発明が解決しようとする課題】
【0004】
ところで、斯様なコネクタにおいては、アウタハウジングでインナハウジングを支えることによって、外力に起因する回路基板と端子金具の間の接続部への負荷を軽減し、その間の接続状態を保っている。例えば、上記特許文献1のコネクタにおいては、コネクタ挿抜方向で隙間が空けられた一対のフランジをインナハウジングに設け、その隙間に挿入させる突出部をアウタハウジング部材の内壁面に設けている。そして、このコネクタにおいては、一方のフランジに複数の潰しリブを設け、組付け方向に沿って挿入されてきた突出部に潰しリブを押し潰させることによって、アウタハウジングでインナハウジングを支えている。このコネクタは、その組付け方向を型抜き方向とする一対の金型で成形されるインナハウジングであれば成立する。しかしながら、そのインナハウジングは、コネクタ挿抜方向を型抜き方向とする一対の金型を用いて成形することができない。
【0005】
そこで、本発明は、コネクタ挿抜方向を型抜き方向とするインナハウジングに適用可能なコネクタを提供することを、その目的とする。
【課題を解決するための手段】
【0006】
本発明は、回路基板と、前記回路基板に接続する端子金具と、相手方コネクタを嵌合接続させるフード部を有し、相手方端子金具との嵌合接続部が前記フード部の内方に配置された前記端子金具を収容し且つ保持するインナハウジングと、前記フード部の内方を露出させて前記回路基板と前記端子金具と前記インナハウジングを収容するアウタハウジングと、を備え、前記アウタハウジングは、前記相手方コネクタとのコネクタ挿抜方向に直交する組付け方向で前記回路基板と前記端子金具と前記インナハウジングを挟み込むアウタハウジング部材とカバー部材を備え、前記インナハウジングは、前記コネクタ挿抜方向と前記組付け方向とに直交する方向で両端に位置する一対の側壁面と、一対の前記側壁面からそれぞれに突出させた第1保持部と、前記コネクタ挿抜方向と前記組付け方向とで前記第1保持部に対してそれぞれに対向配置させずに一対の前記側壁面からそれぞれに突出させた一対の第2保持部と、を有し、前記アウタハウジング部材は、前記コネクタ挿抜方向で前記フード部を露出させる第1開口と、前記組付け方向に口を開けた第2開口と、内壁面を前記インナハウジングの前記側壁面に対向配置させる前記側壁面毎の側壁部と、一対の前記側壁部の前記内壁面からそれぞれに突出させ且つ前記組付け方向に延在させ、前記側壁面毎に前記第1保持部と一対の前記第2保持部とで挟持させる被挟持部と、を有し、前記第2開口を塞ぐ形で前記カバー部材が組み付けられ、前記第1保持部は、前記コネクタ挿抜方向で一対の前記第2保持部側の端部に位置し、前記被挟持部における前記第1保持部側の第1係止部を前記コネクタ挿抜方向の基準位置に係止させる基準係止部を有し、一対の前記第2保持部は、前記コネクタ挿抜方向で前記第1保持部側の端部に位置し、前記被挟持部における一対の前記第2保持部側の第2係止部に押し潰される潰しリブを有し、前記第1保持部と一対の前記第2保持部は、前記第1係止部を係止した前記基準係止部と前記第2係止部に押し潰された前記潰しリブとによって、前記被挟持部を前記コネクタ挿抜方向で挟持することを特徴とする。
【発明の効果】
【0007】
本発明に係るコネクタにおいては、アウタハウジング部材の被挟持部をインナハウジングの第1保持部と一対の第2保持部とで挟持させることによって、アウタハウジング部材にインナハウジングを保持させる。よって、このコネクタは、コネクタ嵌合接続時の相手方コネクタからの荷重や車両の路面入力等で端子金具やインナハウジングに外力が加えられた場合、その力をアウタハウジング部材と回路基板及び端子金具の接続部とに分散して受けさせることができる。これにより、このコネクタは、回路基板と端子金具の接続部に掛かる負荷を軽減することができるので、この接続部の耐久性を向上させることができる。従って、本発明に係るコネクタは、回路基板と端子金具との間の電気的な信頼性を向上させることができる。
【0008】
更に、本発明に係るコネクタにおいては、インナハウジングの第1保持部と一対の第2保持部をコネクタ挿抜方向と組付け方向とでそれぞれに対向配置させずに配置している。よって、このコネクタにおいては、コネクタ挿抜方向を型抜き方向とする一対の金型でスライドコア等を用いることなくインナハウジングを成形することができる。
【0009】
このように、本発明に係るコネクタは、コネクタ嵌合方向を型抜き方向とするインナハウジングに適用可能であり、斯様なインナハウジングを用いて回路基板と端子金具の接続部の耐久性を安価に向上させることができる。
【図面の簡単な説明】
【0010】
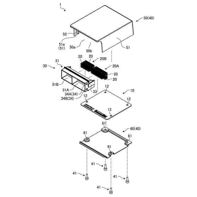
図1は、実施形態のコネクタを示す分解斜視図である。
図2は、実施形態のコネクタを示す斜視図である。
図3は、図2のX-X線断面図である。
図4は、回路基板と端子金具について説明する斜視図である。
図5は、インナハウジングを示す斜視図である。
図6は、インナハウジングを側方から見た平面図である。
図7は、インナハウジングの要部をフード部側の正面から見た平面図である。
図8は、インナハウジングの要部を裏面から見た平面図である。
図9は、インナハウジングの要部を上面から見た平面図である。
【発明を実施するための形態】
(【0011】以降は省略されています)
この特許をJ-PlatPat(特許庁公式サイト)で参照する
関連特許
矢崎総業株式会社
端子
13日前
矢崎総業株式会社
端子台
1日前
矢崎総業株式会社
端子台
8日前
矢崎総業株式会社
端子台
8日前
矢崎総業株式会社
端子台
1日前
矢崎総業株式会社
端子台
8日前
矢崎総業株式会社
端子台
8日前
矢崎総業株式会社
端子台
1日前
矢崎総業株式会社
箱状体
1か月前
矢崎総業株式会社
箱状体
1か月前
矢崎総業株式会社
箱状体
1か月前
矢崎総業株式会社
端子台
1日前
矢崎総業株式会社
コネクタ
6日前
矢崎総業株式会社
接合装置
6日前
矢崎総業株式会社
コネクタ
7日前
矢崎総業株式会社
コネクタ
7日前
矢崎総業株式会社
コネクタ
6日前
矢崎総業株式会社
コネクタ
13日前
矢崎総業株式会社
バスバー
2日前
矢崎総業株式会社
コネクタ
13日前
矢崎総業株式会社
給電装置
14日前
矢崎総業株式会社
コネクタ
14日前
矢崎総業株式会社
電源回路
21日前
矢崎総業株式会社
コネクタ
21日前
矢崎総業株式会社
コネクタ
21日前
矢崎総業株式会社
コネクタ
22日前
矢崎総業株式会社
コネクタ
1か月前
矢崎総業株式会社
コネクタ
1か月前
矢崎総業株式会社
接続構造
1か月前
矢崎総業株式会社
コネクタ
6日前
矢崎総業株式会社
照明装置
1か月前
矢崎総業株式会社
コネクタ
1日前
矢崎総業株式会社
光ケーブル
2日前
矢崎総業株式会社
電気接続箱
8日前
矢崎総業株式会社
カバー構造
1か月前
矢崎総業株式会社
電流センサ
7日前
続きを見る
他の特許を見る