TOP
|
特許
|
意匠
|
商標
特許ウォッチ
Twitter
他の特許を見る
公開番号
2025139095
公報種別
公開特許公報(A)
公開日
2025-09-26
出願番号
2024037847
出願日
2024-03-12
発明の名称
電気接続箱
出願人
矢崎総業株式会社
代理人
弁理士法人虎ノ門知的財産事務所
主分類
H02G
3/16 20060101AFI20250918BHJP(電力の発電,変換,配電)
要約
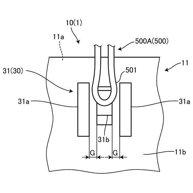
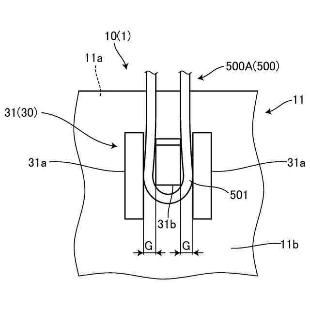
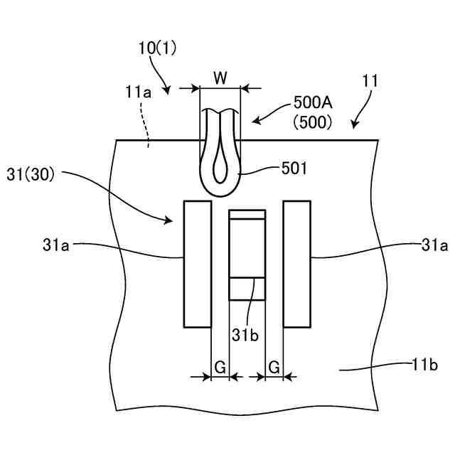
【課題】電線の噛み込みの抑止に好適なものとすること。
【解決手段】ロック構造30は、ブロック10のブロック外周壁11の外壁面11bに設けた第1係合体31及び当該外壁面に対向配置させる組付け部材20Aの対向壁面22に設けた第2係合体32を備え、筐体外周壁21の内側へのブロックの挿入と共に第1係合体を第2係合体に係合させることで、ブロックを組付け部材に保持するものであり、ブロックから引き出される複数本の電線500は、U字に折り返した折返し部501における最小幅Wが第1係合体の隙間Gよりも大きい太物電線500Aと、その最小幅が第1係合体の隙間以下の細物電線500Bと、に大別し、ブロックには、太物電線を細物電線よりもブロック外周壁側に寄せて配置すること。
【選択図】図3
特許請求の範囲
【請求項1】
ブロック外周壁の内側に収容された複数本の電線を外方に引き出させるブロックと、
互いに組み付けられる複数の筐体構成部材を備え、複数の前記筐体構成部材の内の1つを前記ブロックが組み付けられる組付け部材とし、前記組付け部材の筐体外周壁の内側の収容完了位置に前記ブロックが収められる筐体と、
前記ブロック外周壁の外壁面に設けた第1係合体及び当該外壁面に対向配置させる前記組付け部材の対向壁面に設けた第2係合体を備え、前記筐体外周壁の内側への前記ブロックの挿入と共に前記第1係合体を前記第2係合体に係合させることで、前記ブロックを前記組付け部材に保持するロック構造と、
を備え、
前記第1係合体は、互いに間隔を空け、かつ、前記組付け部材に対する前記ブロックの挿入方向に延在させた一対の第1ガイド部と、一対の前記第1ガイド部の間でそれぞれの前記第1ガイド部に対して隙間を空けて配置された第1係止部と、を有し、
前記第2係合体は、互いに間隔を空け、かつ、前記挿入方向に延在させ、かつ、前記ブロックの挿入時に前記第1ガイド部を案内する一対の第2ガイド部と、一対の前記第2ガイド部の間に配置され、前記収容完了位置で前記第1係止部を係止して、前記ブロックにおける前記挿入方向とは逆向きの動きを抑止する第2係止部と、を有し、
複数本の前記電線は、U字に折り返した前記電線の折返し部における最小幅が前記第1係合体の前記隙間よりも大きい太物電線と、U字に折り返した前記電線の折返し部における最小幅が前記第1係合体の前記隙間以下の細物電線と、に大別し、
前記ブロックには、前記太物電線を前記細物電線よりも前記ブロック外周壁側に寄せて配置することを特徴とした電気接続箱。
続きを表示(約 1,000 文字)
【請求項2】
ブロック外周壁の内側に収容された複数本の電線を外方に引き出させるブロックと、
互いに組み付けられる複数の筐体構成部材を備え、複数の前記筐体構成部材の内の1つを前記ブロックが組み付けられる組付け部材とし、前記組付け部材の筐体外周壁の内側の収容完了位置に前記ブロックが収められる筐体と、
前記ブロック外周壁の外壁面に設けた第1係合体及び当該外壁面に対向配置させる前記組付け部材の対向壁面に設けた第2係合体を備え、前記筐体外周壁の内側への前記ブロックの挿入と共に前記第1係合体を前記第2係合体に係合させることで、前記ブロックを前記組付け部材に保持するロック構造と、
を備え、
前記第1係合体は、互いに間隔を空け、かつ、前記組付け部材に対する前記ブロックの挿入方向に延在させた一対の第1ガイド部と、一対の前記第1ガイド部の間でそれぞれの前記第1ガイド部に対して隙間を空けて配置された第1係止部と、を有し、
前記第2係合体は、互いに間隔を空け、かつ、前記挿入方向に延在させ、かつ、前記ブロックの挿入時に前記第1ガイド部を案内する一対の第2ガイド部と、一対の前記第2ガイド部の間に配置され、前記収容完了位置で前記第1係止部を係止して、前記ブロックにおける前記挿入方向とは逆向きの動きを抑止する第2係止部と、を有し、
複数本の前記電線は、電線径の2倍の数値が前記第1係合体の前記隙間よりも大きい太物電線と、電線径の2倍の数値が前記第1係合体の前記隙間以下の細物電線と、に大別し、
前記ブロックには、前記太物電線を前記細物電線よりも前記ブロック外周壁側に寄せて配置することを特徴とした電気接続箱。
【請求項3】
前記ブロックは、複数本の前記電線を外方に引き出させる電線引出口を有し、前記電線引出口側から前記組付け部材に挿入して組み付けることを特徴とした請求項1又は2に記載の電気接続箱。
【請求項4】
前記ブロック外周壁の前記外壁面は、周方向で隣り合う複数の交差状態の壁面によって形成され、
前記太物電線は、前記ブロック外周壁の前記外壁面における前記第1係合体を設けた前記壁面のみに寄せて配置することを特徴とした請求項1又は2に記載の電気接続箱。
【請求項5】
前記組付け部材は、筒状のフレーム部材又は前記フレーム部材の開口を塞ぐカバー部材であることを特徴とした請求項1又は2に記載の電気接続箱。
発明の詳細な説明
【技術分野】
【0001】
本発明は、電気接続箱に関する。
続きを表示(約 3,000 文字)
【背景技術】
【0002】
電気接続箱においては、複数本の電線を外方に引き出させるブロックと、フレーム等の複数の筐体構成部材を備え、その複数の筐体構成部材の内の1つをブロックの組付け部材とする筐体と、組付け部材の筐体外周壁の内側に挿入されたブロックを筐体外周壁に保持するロック構造と、が設けられている。そのロック構造は、ブロックにおけるブロック外周壁の外壁面に設けた第1係合体と、組付け部材における筐体外周壁の内壁面に設けた第2係合体と、を備え、筐体外周壁の内側へのブロックの挿入と共に第1係合体を第2係合体に係合させることで、ブロックを筐体外周壁に保持する、というものである。従来、この電気接続箱においては、ブロックと組付け部材の組付けに際して、そのブロックから引き出されている電線が第1係合体と第2係合体の間に噛み込まれたままの状態で、第1係合体と第2係合体を係合させないように対策が採られている。例えば、下記の特許文献1から6には、ブロックと組付け部材の組付け時に、ガイド部等の部材又は部位で電線の経路を規制して、その電線の噛み込みを抑止する、という技術が開示されている。
【先行技術文献】
【特許文献】
【0003】
特開2019-154182号公報
特開2018-085821号公報
特開2017-046503号公報
特開2007-068274号公報
特開2016-208673号公報
特開2010-074955号公報
【発明の概要】
【発明が解決しようとする課題】
【0004】
しかしながら、その電線の噛み込みの抑止技術については、改善の余地が残されている。
【0005】
そこで、本発明は、電線の噛み込みの抑止に好適な電気接続箱を提供することを、その目的とする。
【課題を解決するための手段】
【0006】
本発明は、ブロック外周壁の内側に収容された複数本の電線を外方に引き出させるブロックと、互いに組み付けられる複数の筐体構成部材を備え、複数の前記筐体構成部材の内の1つを前記ブロックが組み付けられる組付け部材とし、前記組付け部材の筐体外周壁の内側の収容完了位置に前記ブロックが収められる筐体と、前記ブロック外周壁の外壁面に設けた第1係合体及び当該外壁面に対向配置させる前記組付け部材の対向壁面に設けた第2係合体を備え、前記筐体外周壁の内側への前記ブロックの挿入と共に前記第1係合体を前記第2係合体に係合させることで、前記ブロックを前記組付け部材に保持するロック構造と、を備え、前記第1係合体は、互いに間隔を空け、かつ、前記組付け部材に対する前記ブロックの挿入方向に延在させた一対の第1ガイド部と、一対の前記第1ガイド部の間でそれぞれの前記第1ガイド部に対して隙間を空けて配置された第1係止部と、を有し、前記第2係合体は、互いに間隔を空け、かつ、前記挿入方向に延在させ、かつ、前記ブロックの挿入時に前記第1ガイド部を案内する一対の第2ガイド部と、一対の前記第2ガイド部の間に配置され、前記収容完了位置で前記第1係止部を係止して、前記ブロックにおける前記挿入方向とは逆向きの動きを抑止する第2係止部と、を有し、複数本の前記電線は、U字に折り返した前記電線の折返し部における最小幅が前記第1係合体の前記隙間よりも大きい太物電線と、U字に折り返した前記電線の折返し部における最小幅が前記第1係合体の前記隙間以下の細物電線と、に大別し、前記ブロックには、前記太物電線を前記細物電線よりも前記ブロック外周壁側に寄せて配置することを特徴とする。
【0007】
本発明は、ブロック外周壁の内側に収容された複数本の電線を外方に引き出させるブロックと、互いに組み付けられる複数の筐体構成部材を備え、複数の前記筐体構成部材の内の1つを前記ブロックが組み付けられる組付け部材とし、前記組付け部材の筐体外周壁の内側の収容完了位置に前記ブロックが収められる筐体と、前記ブロック外周壁の外壁面に設けた第1係合体及び当該外壁面に対向配置させる前記組付け部材の対向壁面に設けた第2係合体を備え、前記筐体外周壁の内側への前記ブロックの挿入と共に前記第1係合体を前記第2係合体に係合させることで、前記ブロックを前記組付け部材に保持するロック構造と、を備え、前記第1係合体は、互いに間隔を空け、かつ、前記組付け部材に対する前記ブロックの挿入方向に延在させた一対の第1ガイド部と、一対の前記第1ガイド部の間でそれぞれの前記第1ガイド部に対して隙間を空けて配置された第1係止部と、を有し、前記第2係合体は、互いに間隔を空け、かつ、前記挿入方向に延在させ、かつ、前記ブロックの挿入時に前記第1ガイド部を案内する一対の第2ガイド部と、一対の前記第2ガイド部の間に配置され、前記収容完了位置で前記第1係止部を係止して、前記ブロックにおける前記挿入方向とは逆向きの動きを抑止する第2係止部と、を有し、複数本の前記電線は、電線径の2倍の数値が前記第1係合体の前記隙間よりも大きい太物電線と、電線径の2倍の数値が前記第1係合体の前記隙間以下の細物電線と、に大別し、前記ブロックには、前記太物電線を前記細物電線よりも前記ブロック外周壁側に寄せて配置することを特徴とする。
【発明の効果】
【0008】
本発明に係る電気接続箱においては、ブロックと組付け部材を組み付ける際に、例えば、電線が組付け部材に触れるなどして途中で折り曲げられ、この電線の折返し部がブロック外周壁の外壁面と組付け部材の対向壁面との間に入り込んだとしても、その電線を太物電線だけに止めることができる。そして、ロック構造においては、ブロックと組付け部材組み付ける際に、太物電線の折返し部が第1係合体と第2係合体の間に入り込んだとしても、この折返し部が邪魔をして第1係合体と第2係合体を係合させることができない。従って、この電気接続箱においては、第1係合体と第2係合体の間での電線の噛み込みを抑止することができ、電線を噛み込んだまま第1係合体と第2係合体を係合させずに済む。このように、本発明に係る電気接続箱は、電線の噛み込みの抑止に好適なものとなっており、その耐久性を向上させることができる。
【図面の簡単な説明】
【0009】
図1は、実施形態の電気接続箱について説明する説明図である。
図2は、ブロックについて説明する説明図である。
図3は、第1係合体と太物電線について説明する説明図である。
図4は、組付け部材について説明する説明図である。
図5は、第1係合体と太物電線について説明する説明図である。
図6は、第1係合体と太物電線について説明する説明図である。
【発明を実施するための形態】
【0010】
以下に、本発明に係る電気接続箱の実施形態を図面に基づいて詳細に説明する。尚、この実施形態によりこの発明が限定されるものではない。
(【0011】以降は省略されています)
この特許をJ-PlatPat(特許庁公式サイト)で参照する
関連特許
矢崎総業株式会社
端子
25日前
矢崎総業株式会社
箱状体
18日前
矢崎総業株式会社
箱状体
18日前
矢崎総業株式会社
箱状体
1か月前
矢崎総業株式会社
箱状体
1か月前
矢崎総業株式会社
箱状体
18日前
矢崎総業株式会社
バスバー
1か月前
矢崎総業株式会社
接続構造
18日前
矢崎総業株式会社
照明装置
25日前
矢崎総業株式会社
コネクタ
17日前
矢崎総業株式会社
コネクタ
17日前
矢崎総業株式会社
照明装置
26日前
矢崎総業株式会社
照明装置
26日前
矢崎総業株式会社
コネクタ
2日前
矢崎総業株式会社
照明装置
1か月前
矢崎総業株式会社
報知装置
1か月前
矢崎総業株式会社
電源回路
2日前
矢崎総業株式会社
コネクタ
1か月前
矢崎総業株式会社
コネクタ
1か月前
矢崎総業株式会社
コネクタ
3日前
矢崎総業株式会社
コネクタ
1か月前
矢崎総業株式会社
コネクタ
1か月前
矢崎総業株式会社
コネクタ
1か月前
矢崎総業株式会社
コネクタ
2日前
矢崎総業株式会社
コネクタ
1か月前
矢崎総業株式会社
コネクタ
1か月前
矢崎総業株式会社
コネクタ
1か月前
矢崎総業株式会社
電気接続箱
1か月前
矢崎総業株式会社
電気接続箱
1か月前
矢崎総業株式会社
電気接続箱
1か月前
矢崎総業株式会社
カバー構造
23日前
矢崎総業株式会社
ゴムブーツ
1か月前
矢崎総業株式会社
コネクタ構造
1か月前
矢崎総業株式会社
車両用室内灯
15日前
矢崎総業株式会社
スイッチ装置
15日前
矢崎総業株式会社
スイッチ装置
15日前
続きを見る
他の特許を見る