TOP
|
特許
|
意匠
|
商標
特許ウォッチ
Twitter
他の特許を見る
10個以上の画像は省略されています。
公開番号
2025178424
公報種別
公開特許公報(A)
公開日
2025-12-05
出願番号
2025165090,2024166231
出願日
2025-10-01,2020-12-24
発明の名称
基板処理装置
出願人
東京エレクトロン株式会社
代理人
弁理士法人ITOH
主分類
H01L
21/304 20060101AFI20251128BHJP(基本的電気素子)
要約
【課題】超臨界状態の処理流体を用いた乾燥時の、ウェハのパターン倒壊を抑制する基板処理装置を提供する。
【解決手段】基板処理装置は、液体により表面が濡れた状態の基板を収容可能な処理空間を有する処理容器と、前記液体に向けて超臨界状態の処理流体を前記処理容器に供給する処理流体供給部と、を備え、前記処理流体供給部は、一方が流体供給源に接続され、他方が前記処理容器に接続される流体供給ラインと、前記流体供給ラインに設けられるポンプと、前記流体供給ラインに介設され、前記ポンプの下流側に設けられ、液体状態の前記処理流体を加熱して超臨界状態の前記処理流体を生成する加熱部と、前記流体供給ライン上で前記ポンプと前記加熱部との間に設けられた分岐点と、前記流体供給ライン上で前記ポンプよりも上流側に設けられた接続点と、前記加熱部と前記分岐点との間に設けられた圧力センサと、前記分岐点と前記接続点とを繋ぐ分岐ラインと、前記分岐ラインに介設された第1背圧弁と、を有する。
【選択図】図8
特許請求の範囲
【請求項1】
液体により表面が濡れた状態の基板を収容可能な処理空間を有する処理容器と、
前記液体に向けて超臨界状態の処理流体を前記処理容器に供給する処理流体供給部と、
を備え、
前記処理流体供給部は、
一方が流体供給源に接続され、他方が前記処理容器に接続される流体供給ラインと、
前記流体供給ラインに設けられるポンプと、
前記流体供給ラインに介設され、前記ポンプの下流側に設けられ、液体状態の前記処理流体を加熱して超臨界状態の前記処理流体を生成する加熱部と、
前記流体供給ライン上で前記ポンプと前記加熱部との間に設けられた分岐点と、
前記流体供給ライン上で前記ポンプよりも上流側に設けられた接続点と、
前記加熱部と前記分岐点との間に設けられた圧力センサと、
前記分岐点と前記接続点とを繋ぐ分岐ラインと、
前記分岐ラインに介設された第1背圧弁と、
を有する、基板処理装置。
続きを表示(約 1,200 文字)
【請求項2】
前記圧力センサからの出力に基づいて前記第1背圧弁の圧力を調整する制御部を備える、請求項1に記載の基板処理装置。
【請求項3】
一方が前記処理容器に接続された排出ラインを備え、前記処理容器の前記処理流体を排出する処理流体排出部を有し、
前記処理流体排出部は、前記排出ラインに介設された流量計及び第2背圧弁を有し、
前記制御部は、前記流量計からの出力に基づいて前記第2背圧弁の圧力を調整する、請求項2に記載の基板処理装置。
【請求項4】
前記制御部は、前記処理容器に供給される前記処理流体の供給流量を第1流量として前記処理容器内を昇圧し、その後に、前記供給流量を前記第1流量よりも高い第2流量として前記処理容器内を更に昇圧する、請求項2又は3に記載の基板処理装置。
【請求項5】
前記制御部は、前記処理容器内の圧力が第1圧力に到達するまでは前記供給流量を前記第1流量とし、前記処理容器内の圧力が前記第1圧力に到達すると、前記供給流量を前記第2流量とする、請求項4に記載の基板処理装置。
【請求項6】
前記ポンプと前記加熱部との間において、前記処理流体は気体状態又は液体状態である、請求項1乃至5のいずれか1項に記載の基板処理装置。
【請求項7】
前記流体供給ラインに介設され、前記ポンプと前記加熱部との間に設けられ、前記処理容器に供給される前記処理流体の供給流量を調整する第1流量調整部を有し、
前記第1流量調整部は、
互いに並列に接続されて前記流体供給ラインに介設された第1絞り及び第2絞りと、
前記第2絞りに直列に接続された第1開閉弁と、
を有する、請求項1乃至6のいずれか1項に記載の基板処理装置。
【請求項8】
前記流体供給ラインに介設され、前記分岐ラインを流れる前記処理流体の流量を調整する第2流量調整部を有する、請求項1乃至7のいずれか1項に記載の基板処理装置。
【請求項9】
前記第2流量調整部は、
互いに並列に接続されて前記流体供給ラインに介設された第3絞り及び第4絞りと、
前記第4絞りに直列に接続された第2開閉弁と、
を有する、請求項8に記載の基板処理装置。
【請求項10】
前記第1流量調整部を制御する制御部と、
前記流体供給ラインに介設され、前記分岐ラインを流れる前記処理流体の流量を調整する第2流量調整部と、
を有し、
前記第2流量調整部は、
互いに並列に接続されて前記流体供給ラインに介設された第3絞り及び第4絞りと、
前記第4絞りに直列に接続された第2開閉弁と、
を有し、
前記制御部は、前記第3絞りの上流側と下流側との間の差圧に応じて前記第2開閉弁を制御する、請求項7に記載の基板処理装置。
(【請求項11】以降は省略されています)
発明の詳細な説明
【技術分野】
【0001】
本開示は、基板処理装置に関する。
続きを表示(約 1,700 文字)
【背景技術】
【0002】
半導体ウェハ(以下、ウェハという)などの基板の表面に集積回路の積層構造を形成する半導体装置の製造工程においては、薬液洗浄あるいはウエットエッチング等の液処理が行われる。こうした液処理にてウェハの表面に付着した液体などを除去する際に、近年では、超臨界状態の処理流体を用いた乾燥方法が用いられつつある。
【0003】
特許文献1には、処理容器に供給ラインを通じて流体供給タンクが繋がれた基板処理装置が開示されている。
【先行技術文献】
【特許文献】
【0004】
特開2018-81966号公報
【発明の概要】
【発明が解決しようとする課題】
【0005】
本開示は、超臨界状態の処理流体を用いた乾燥処理時に、ウェハのパターンが倒壊することを抑制することができる基板処理装置を提供する。
【課題を解決するための手段】
【0006】
本開示の一態様による基板処理装置は、液体により表面が濡れた状態の基板を収容可能な処理空間を有する処理容器と、前記液体に向けて超臨界状態の処理流体を前記処理容器に供給する処理流体供給部と、を備え、前記処理流体供給部は、一方が流体供給源に接続され、他方が前記処理容器に接続される流体供給ラインと、前記流体供給ラインに設けられるポンプと、前記流体供給ラインに介設され、前記ポンプの下流側に設けられ、液体状態の前記処理流体を加熱して超臨界状態の前記処理流体を生成する加熱部と、前記流体供給ライン上で前記ポンプと前記加熱部との間に設けられた分岐点と、前記流体供給ライン上で前記ポンプよりも上流側に設けられた接続点と、前記加熱部と前記分岐点との間に設けられた圧力センサと、前記分岐点と前記接続点とを繋ぐ分岐ラインと、前記分岐ラインに介設された第1背圧弁と、を有する。
【発明の効果】
【0007】
本開示によれば、超臨界状態の処理流体を用いた乾燥処理時に、ウェハのパターンが倒壊することを抑制することができる。
【図面の簡単な説明】
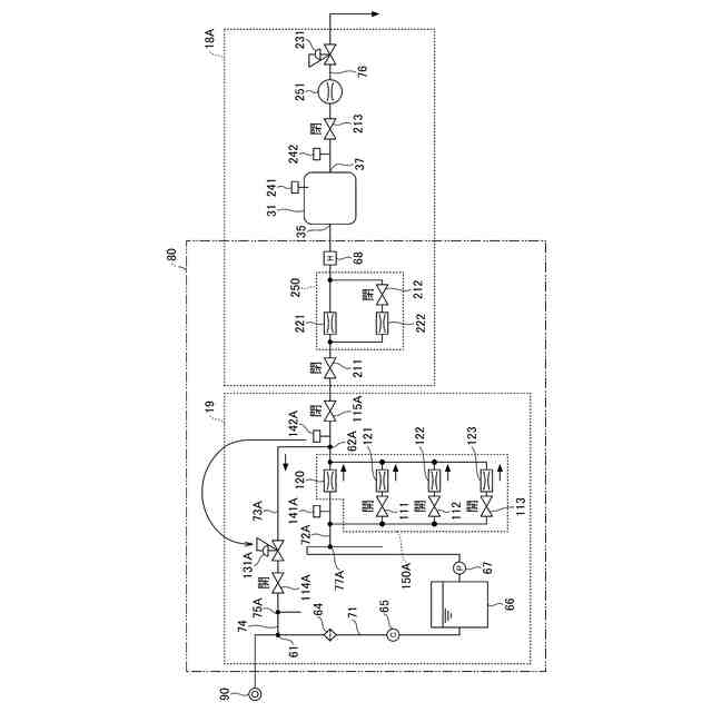
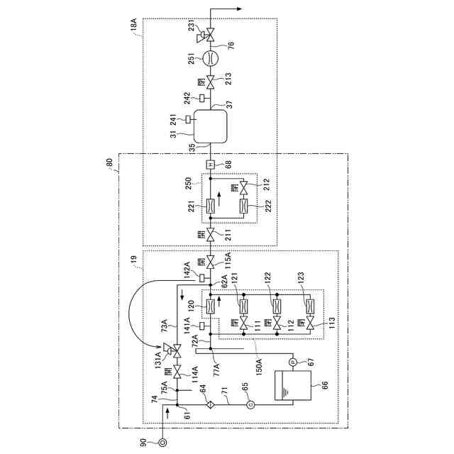
【0008】
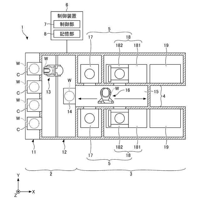
実施形態に係る基板処理装置の構成例を示す図である。
液処理ユニットの構成例を示す図である。
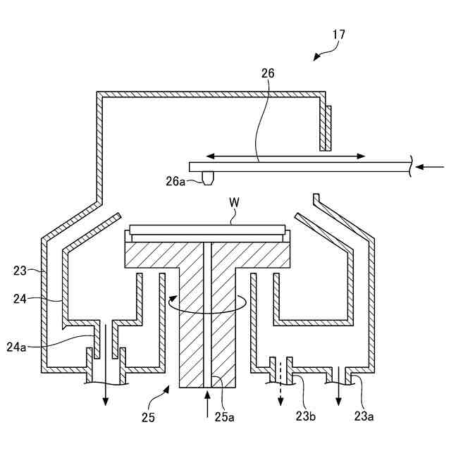
乾燥ユニットの構成例を示す模式斜視図である。
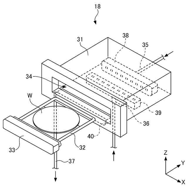
乾燥ユニットの構成例を示す図である。
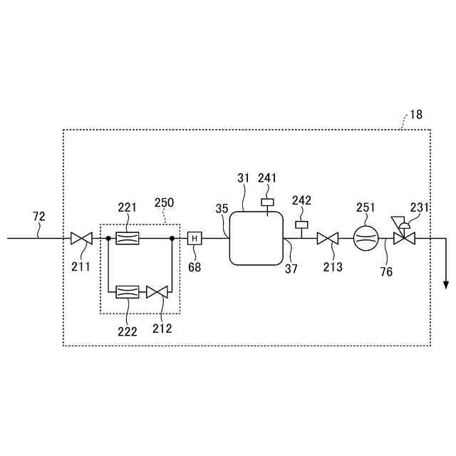
供給ユニットの構成例を示す図である。
第2流量調整部及びその周辺の構成例を示す図である。
供給ユニット及び乾燥ユニットの具体的な動作を示す図(その1)である。
供給ユニット及び乾燥ユニットの具体的な動作を示す図(その2)である。
供給ユニット及び乾燥ユニットの具体的な動作を示す図(その3)である。
供給ユニット及び乾燥ユニットの具体的な動作を示す図(その4)である。
供給ユニット及び乾燥ユニットの具体的な動作を示す図(その5)である。
供給ユニット及び乾燥ユニットの具体的な動作を示す図(その6)である。
供給ユニット及び乾燥ユニットの具体的な動作を示す図(その7)である。
【発明を実施するための形態】
【0009】
以下、添付図面を参照して、本願の開示する基板処理システム及び処理流体供給方法の実施形態を詳細に説明する。なお、以下に示す実施形態により本開示が限定されるものではない。また、図面は模式的なものであり、各要素の寸法の関係、各要素の比率などは、現実と異なる場合があることに留意する必要がある。さらに、図面の相互間においても、互いの寸法の関係や比率が異なる部分が含まれている場合がある。
【0010】
<基板処理装置の構成>
まず、実施形態に係る基板処理装置1の構成について図1を参照して説明する。図1は、実施形態に係る基板処理装置1の構成例を示す図である。なお、以下では、位置関係を明確にするために、互いに直交するX軸、Y軸及びZ軸を規定し、Z軸正方向を鉛直上向き方向とする。
(【0011】以降は省略されています)
この特許をJ-PlatPat(特許庁公式サイト)で参照する
関連特許
個人
三重コイル変圧器
今日
東ソー株式会社
絶縁電線
1か月前
APB株式会社
蓄電セル
1か月前
日機装株式会社
加圧装置
5日前
日新イオン機器株式会社
イオン源
5日前
株式会社東芝
端子台
1か月前
ローム株式会社
半導体装置
1か月前
ローム株式会社
半導体装置
今日
マクセル株式会社
電源装置
1か月前
株式会社ホロン
冷陰極電子源
1か月前
三菱電機株式会社
回路遮断器
28日前
株式会社GSユアサ
蓄電装置
20日前
株式会社GSユアサ
蓄電装置
1か月前
富士電機株式会社
電磁接触器
20日前
株式会社GSユアサ
蓄電装置
1か月前
株式会社GSユアサ
蓄電装置
1か月前
個人
電源ボックス及び電子機器
5日前
トヨタ自動車株式会社
蓄電装置
12日前
日本特殊陶業株式会社
保持装置
今日
ホシデン株式会社
複合コネクタ
14日前
北道電設株式会社
配電具カバー
1か月前
トヨタ自動車株式会社
冷却構造
1か月前
株式会社東芝
電子源
5日前
日本特殊陶業株式会社
保持装置
1か月前
トヨタ自動車株式会社
バッテリ
1か月前
日新イオン機器株式会社
基板処理装置
1か月前
株式会社トクミ
ケーブル
6日前
大電株式会社
電線又はケーブル
12日前
トヨタ自動車株式会社
蓄電装置
1か月前
日本特殊陶業株式会社
保持装置
1か月前
ローム株式会社
半導体装置
1か月前
日本無線株式会社
レーダアンテナ
1か月前
甲神電機株式会社
変流器及び零相変流器
1か月前
矢崎総業株式会社
バスバー
1日前
住友電装株式会社
コネクタ
20日前
トヨタ自動車株式会社
密閉型電池
1か月前
続きを見る
他の特許を見る