TOP
|
特許
|
意匠
|
商標
特許ウォッチ
Twitter
他の特許を見る
公開番号
2025178238
公報種別
公開特許公報(A)
公開日
2025-12-05
出願番号
2025096000
出願日
2025-05-21
発明の名称
半導体チップ用均熱ユニット
出願人
AMPコンサルティング合同会社
代理人
主分類
H01L
23/373 20060101AFI20251128BHJP(基本的電気素子)
要約
【課題】データセンターなど建屋内のサーマルマネジメントにおける半導体チップの温度制御を容易化する。
【解決手段】半導体チップ用均熱ユニットにおいて、第1のセルロース層は、多孔質セルロース基材と、セルロース基材表面及びセルロース基材層内部の空隙内に設けた第2のナノセルロース層112から構成され、金属メッシュ層13と、第1のセルロース層表面の第2のナノセルロース層とが、第1のナノセルロース材料20および多孔質セルロース基材空隙内の第2のナノセルロース材料を介して結合する構造を有し、金属メッシュ層と第1のナノセルロース層を介して接着した第2のセルロース層の少なくとも一部を分割配置し、生じた間隙部分に金属メッシュ層が露出した第1の露出部に、半導体チップのパッケージ表面を、熱伝導性を有する接着剤を介して嵌合し、半導体チップから生じた熱が、金属メッシュ層を経て、金属メッシュ層を包含する。
【選択図】図2
特許請求の範囲
【請求項1】
第1のセルロース層と、第2のセルロース層との間に、少なくとも金属メッシュ層を設け、
第1のナノセルロース材料を、第1のセルロース層と金属メッシュ層との間、および金属メッシュ層の開口部内、および金属メッシュ層と第2のセルロース層との間とに配置した構造を有することを特徴とする半導体チップ用均熱ユニット。
続きを表示(約 540 文字)
【請求項2】
前記第1のセルロース層は、多孔質セルロース材料から成るセルロース基材層と、
前記セルロース基材層の表面に設けた第2のナノセルロース材料から成る表面層と、
前記セルロース基材層内部の空隙に浸透させた前記第2のセルロース材料とから成り、
前記表面層と前記金属メッシュ層とは、前記第2のナノセルロース材料を介して結合された構造を有することを特徴とする請求項第1項に記載の半導体チップ用均熱ユニット。
【請求項3】
前記第2のセルロース層は、間隙部を隔てて分割配置され、
前記間隙部には、前記金属メッシュ層が露出した第1の露出部を設けた構造を有することを特徴とする請求項第2項に記載の半導体チップ用均熱ユニット。
【請求項4】
前記均熱ユニットは、少なくともその一部が折り曲がった構造を有することを特徴とする請求項第3項に記載の半導体チップ用均熱ユニット。
【請求項5】
前記第2のセルロース層に、前記金属メッシュ層を露出させた第2の露出部を設け、
前記第2の露出部に、冷却管を接続した構造を有することを特徴とする請求項第3項または第4項に記載の半導体チップ用均熱ユニット。
発明の詳細な説明
【技術分野】
【0001】
本発明は、セルロース材料と金属材料との複合体を用いた、半導体チップ用の均熱機能を有するユニットに関する。
続きを表示(約 2,000 文字)
【背景技術】
【0002】
近年、AI技術の進展に伴い、その基盤手法の一つである機械学習に必要なビッグデータと呼ばれる大量のデータを蓄積するサーバーや、サーバー内の大量のデータを演算処理するプロセッサーなどの情報機器を、多数設置するデータセンターなどの事業所建屋において、情報機器を構成する半導体集積回路の温度上昇を制御および抑制するサーマルマネジメントが重要となる。
【0003】
半導体集積回路は、一般にパッケージ材料により封止された半導体チップとして供給されており、サーマルマネジメントの手段として、半導体チップにて発生した熱をパッケージ表面から外部へ逃がす放熱技術、例えば放熱シート技術が実用化されている。
【0004】
一方、工業製品に用いる素材について、従来の石油輸入に頼るプラスチックおよびポリマーだけではなく、国内調達可能な自然由来代替素材の開発および実用化が、SDGs目標への対応やマイクロプラスチック問題への対応など持続可能社会に向けた取組みを鑑み、重要となる。この観点から上述の放熱シートに、自然由来のセルロース材料を用いる技術が開発されている。
【0005】
特許文献1では、熱伝導性無機粒子とセルロースナノファイバーの複合体を用いて、高熱伝導率と折り曲げ性を備えた放熱材を提供する技術が開示されている。
特許文献2では、セルロース繊維分散用複合体と放熱性無機粒子を用いて、高い熱伝導率を有する熱伝導性部材を提供する技術が開示されている。
特許文献3では、改善セルロース及び樹脂、更に無機粒子を含有する放熱用樹脂組成物を用いて、熱伝導率の高い樹脂成形体を提供する技術が開示されている。
【先行技術文献】
【特許文献】
【0006】
特開2016-79202号公報
特開2021-95486号公報
特開2021-50327号公報
【発明の概要】
【発明が解決しようとする課題】
【0007】
特許文献1、および2、および3などに開示されるセルロース材料と無機材料とを用いる手法において、粒子レベルでの材料の組合せ技術は記述されているが、大量の半導体チップを搭載する情報機器を多数設置し、冷房空調されたデータセンターなど建屋内のサーマルマネジメンにおける、半導体チップの温度制御を容易化するための、空間環境を考慮した均熱機能を提供する技術についての記述は見られない。
【0008】
本発明は、大量の半導体チップを搭載する情報機器が設置された空間環境において、半導体チップから生じる熱を、冷房空調された上方の空間環境、または別途設けた冷却管との熱交換を通じ、均熱化する機能を提供し、データセンターなど建屋内のサーマルマネジメントにおける温度制御を容易化することを課題とする。
【課題を解決するための手段】
【0009】
本発明では、第1のセルロース層と、第2のセルロース層と、第1および第2のセルロース層の間に配置した金属メッシュ層とを、植物、菌類、バクテリア、海洋生物などから得られる自然由来のセルロースナノファイバーまたはセルロースナノクリスタルを含む第1のナノセルロース材料により接着した構造を有する均熱ユニットを、上記課題の解決手段とする。
【0010】
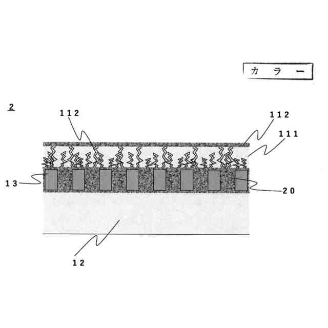
本発明では、第1のセルロース層は、多孔質セルロース基材と、セルロース基材表面およびセルロース基材層内部の空隙内に設けた第2のナノセルロース層から構成され、
金属メッシュ層と、第1のセルロース層表面の第2のナノセルロース層とが、第1のナノセルロース材料および多孔質セルロース基材空隙内の第2のナノセルロース材料を介して結合する構造を有し、
金属メッシュ層と第1のナノセルロース層を介して接着した第2のセルロース層の少なくとも一部を分割配置し、生じた間隙部分に金属メッシュ層が露出した第1の露出部に、半導体チップのパッケージ表面を、熱伝導性を有する接着剤を介して嵌合し、
半導体チップから生じた熱が、金属メッシュ層を経て、金属メッシュ層を包含する第1のナノセルロース材料、および第1のセルロース層の多孔質セルロース基材空隙内の第2のナノセルロース材料を介して、第1のセルロース層表面の第2のナノセルロース層に伝わり、
冷房空調された上方の空間環境との熱交換により、半導体チップの温度上昇を抑制する機能を有し、
第2のセルロース層は、情報機器から生じる熱による暖気を含む下方の空間環境と、金属メッシュ層との熱交換を妨げる断熱機能を有する均熱ユニットを提供することを、上記課題の解決手段とする。
(【0011】以降は省略されています)
特許ウォッチbot のツイートを見る
この特許をJ-PlatPat(特許庁公式サイト)で参照する
関連特許
APB株式会社
蓄電セル
1か月前
日機装株式会社
加圧装置
3日前
株式会社東芝
端子台
1か月前
日新イオン機器株式会社
イオン源
3日前
マクセル株式会社
電源装置
1か月前
株式会社GSユアサ
蓄電装置
1か月前
株式会社GSユアサ
蓄電装置
1か月前
三菱電機株式会社
回路遮断器
26日前
株式会社GSユアサ
蓄電装置
1か月前
富士電機株式会社
電磁接触器
18日前
株式会社GSユアサ
蓄電装置
18日前
個人
電源ボックス及び電子機器
3日前
ホシデン株式会社
複合コネクタ
12日前
株式会社東芝
電子源
3日前
株式会社トクミ
ケーブル
4日前
トヨタ自動車株式会社
蓄電装置
10日前
日本特殊陶業株式会社
保持装置
1か月前
日新イオン機器株式会社
基板処理装置
1か月前
大電株式会社
電線又はケーブル
10日前
トヨタ自動車株式会社
蓄電装置
1か月前
株式会社デンソー
電子装置
1か月前
株式会社レゾナック
冷却器
26日前
ヒロセ電機株式会社
電気コネクタ
18日前
日亜化学工業株式会社
半導体レーザ素子
1か月前
矢崎総業株式会社
コネクタ
18日前
ローム株式会社
半導体モジュール
19日前
トヨタ自動車株式会社
密閉型電池
1か月前
甲神電機株式会社
変流器及び零相変流器
1か月前
日本無線株式会社
レーダアンテナ
1か月前
住友電装株式会社
コネクタ
18日前
トヨタ自動車株式会社
蓄電装置構造
4日前
株式会社デンソー
半導体装置
18日前
日本特殊陶業株式会社
アンテナ装置
5日前
日本特殊陶業株式会社
アンテナ装置
5日前
株式会社パロマ
監視システム
10日前
日本特殊陶業株式会社
アンテナ装置
5日前
続きを見る
他の特許を見る