TOP
|
特許
|
意匠
|
商標
特許ウォッチ
Twitter
他の特許を見る
10個以上の画像は省略されています。
公開番号
2025178461
公報種別
公開特許公報(A)
公開日
2025-12-05
出願番号
2025165768,2024541275
出願日
2025-10-01,2024-02-22
発明の名称
半導体製造装置用部材
出願人
日本碍子株式会社
代理人
アクシス国際弁理士法人
主分類
H01L
21/683 20060101AFI20251128BHJP(基本的電気素子)
要約
【課題】従来とは異なる放電抑制技術が採用された半導体製造装置用部材を提供する。
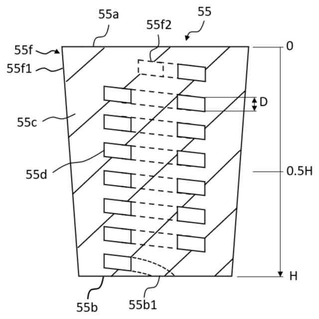
【解決手段】ウエハを載置するための上面及び下面を有するセラミックス基板と、前記セラミックス基板を上下方向に貫通するプラグ配置穴と、前記プラグ配置穴に埋め込まれているプラグとを備える半導体製造装置用部材であって、前記プラグは、緻密体で構成されており、前記上面側に露出する上端面、前記下面側に露出する下端面、及び、当該上端面に設けられた上端開口から、当該緻密体の内部を貫通して、当該下端面に設けられた下端開口まで延びるガス流路を有し、前記上端開口から前記ガス流路の表面までの上下方向の最大高さD
1
と、前記下端開口から前記ガス流路の表面までの上下方向の最大高さD
2
は、D
1
<D
2
の関係を満たす、半導体製造装置用部材。
【選択図】図1-4
特許請求の範囲
【請求項1】
ウエハを載置するための上面及び下面を有するセラミックス基板と、前記セラミックス基板を上下方向に貫通するプラグ配置穴と、前記プラグ配置穴に埋め込まれているプラグとを備える半導体製造装置用部材であって、
前記プラグは、緻密体で構成されており、前記上面側に露出する上端面、前記下面側に露出する下端面、及び、当該上端面に設けられた上端開口から、当該緻密体の内部を貫通して、当該下端面に設けられた下端開口まで延びるガス流路を有し、
前記上端開口から前記ガス流路の表面までの上下方向の最大高さD
1
と、前記下端開口から前記ガス流路の表面までの上下方向の最大高さD
2
は、D
1
<D
2
の関係を満たす、
半導体製造装置用部材。
続きを表示(約 1,000 文字)
【請求項2】
0.1≦D
1
/D
2
≦0.9の関係を満たす請求項1に記載の半導体製造装置用部材。
【請求項3】
前記最大高さD
1
が10~300μmである請求項1又は2に記載の半導体製造装置用部材。
【請求項4】
前記最大高さD
2
が50~500μmである請求項1又は2に記載の半導体製造装置用部材。
【請求項5】
上下方向に座標軸を取り、前記プラグの前記上端面における座標値を0、前記下端面における座標値をHとすると、少なくとも0.5×Hから1.0×Hまでの座標値の範囲において、前記ガス流路の上下方向の高さDが、D≧1.5D
1
の関係を満たす請求項1又は2に記載の半導体製造装置用部材。
【請求項6】
少なくとも座標値0から0.1×H未満の座標値の範囲において、前記ガス流路の上下方向の高さDが、D
1
≦D<1.5D
1
の関係を満たす請求項5に記載の半導体製造装置用部材。
【請求項7】
前記プラグは複数の前記ガス流路を有し、複数の前記ガス流路のすべてについて、D
1
<D
2
の関係を満たす請求項1又は2に記載の半導体製造装置用部材。
【請求項8】
前記プラグの緻密体で構成される部分の破壊靭性値(KIC)が、前記セラミックス基板の破壊靭性値(KIC)よりも大きい請求項1又は2に記載の半導体製造装置用部材。
【請求項9】
ウエハを載置するための上面及び下面を有するセラミックス基板と、前記セラミックス基板を上下方向に貫通するプラグ配置穴と、前記プラグ配置穴に埋め込まれているプラグとを備える半導体製造装置用部材であって、
前記プラグは、緻密体で構成されており、前記上面側に露出する上端面を有する上端部、前記下面側に露出する下端面、及び、当該上端部の側面に設けられた側面開口から、当該緻密体の内部を貫通して、当該下端面に設けられた下端開口まで延びるガス流路を有する、
半導体製造装置用部材。
【請求項10】
ウエハを載置するための前記上面に凹部が形成されており、前記プラグの前記上端部は、前記側面開口が露出するように、当該凹部の底面から突出している請求項9に記載の半導体製造装置用部材。
(【請求項11】以降は省略されています)
発明の詳細な説明
【技術分野】
【0001】
本発明は半導体製造装置用部材に関する。
続きを表示(約 2,500 文字)
【背景技術】
【0002】
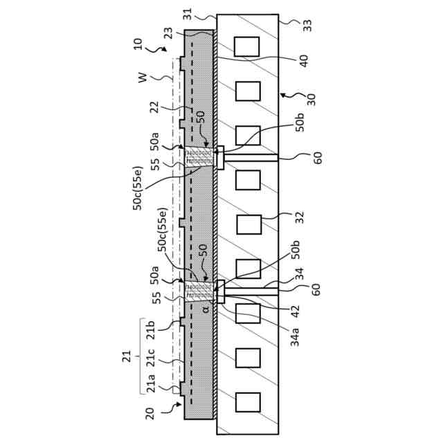
従来、ウエハの保持、温度制御、搬送等のために用いられる半導体製造装置用部材が知られている。この種の半導体製造装置用部材はウエハ載置台、静電チャック、サセプタ等とも称されており、内蔵する電極に静電吸着用電力を印加し、ウエハを静電力によって吸着する機能を有するのが一般的であり、ウエハ載置面と吸着対象物であるウエハの間にガスを流すことでウエハの温度を制御する機能を有するものも知られている。
【0003】
半導体製造装置用部材として、例えば、ウエハを載置するための上面を有するセラミックス基板と、セラミックス基板を上下方向に貫通するガス通過部と、セラミックス基板の下面に接合された導電性のベースプレートを備えるものが知られている。ウエハ処理時には、ヘリウムガス等の冷却ガスがガス通過部を通ってウエハ裏面に導入される。
【0004】
このような半導体製造装置用部材においては、ウエハと大きな電位差が生じることがあり、ガス通過部を介してウエハとベースプレートとの間で放電(絶縁破壊)が生じることがある。このため、放電を抑制するために、ガス通過部にプラグを配置する技術が種々検討されてきた。プラグは多孔質部材で構成されることが多い。プラグがない場合、例えばRF電圧の印加によってガス分子が電離するのに伴って生じた電子が加速して別のガス分子に衝突することによりグロー放電ひいてはアーク放電が起きるが、プラグがあると、電子が別のガス分子に衝突する前にプラグに当たるため放電が抑制される。
【0005】
特許文献1には、屈曲しながら緻密質の本体部を厚み方向に貫通するガス流路部を有するプラグが提案されている。また、ガス流路部の全長のうちの少なくとも一部の区間を絶縁性かつ通気性の多孔質とすることも提案されている。
【0006】
特許文献2には、吸着の対象物を載置する第1主面と前記第1主面とは反対側の第2主面とを有するセラミックス誘電体基板と、前記セラミックス誘電体基板を支持し、ガス導入路を有するベースプレートと、前記ベースプレートと前記セラミックス誘電体基板の前記第1主面との間であって、前記ガス導入路と対向する位置に設けられた第1多孔質部と、を備え、前記セラミックス誘電体基板は、前記第1主面と、前記第1多孔質部との間に位置する第1孔部を有し、前記第1多孔質部は、複数の孔を有する多孔部と、前記多孔部よりも緻密な第1緻密部と、を有し、前記ベースプレートから前記セラミックス誘電体基板へ向かう第1方向に対して垂直な平面に投影したときに、前記第1緻密部と前記第1孔部とは重なり、前記多孔部と第1孔部とは重ならないように構成されることを特徴とする静電チャックが開示されている。
【0007】
特許文献3には、吸着の対象物を載置する第1主面と前記第1主面とは反対側の第2主面とを有するセラミックス誘電体基板と、前記セラミックス誘電体基板を支持し、ガス導入路を有するベースプレートと、前記ベースプレートと前記セラミックス誘電体基板の前記第1主面との間であって、前記ガス導入路と対向する位置に設けられた第1多孔質部と、を備え、前記第1多孔質部は、複数の孔を有する複数の疎部分と、前記疎部分の密度よりも高い密度を有する密部分と、を有し、前記複数の疎部分のそれぞれは、前記ベースプレートから前記セラミックス誘電体基板へ向かう第1方向に延び、前記密部分は、前記複数の疎部分同士の間に位置し、前記疎部分は、前記孔と、前記孔との間に設けられた壁部を有し、前記第1方向に略直交する第2方向において、前記壁部の寸法の最小値は、前記密部分の寸法の最小値よりも小さいことを特徴とする静電チャックが記載されている。
【0008】
特許文献4には、異常放電の発生を低減しつつ、対象物の温度を高い精度で制御可能な保持装置を提供することを課題とした発明が記載されている。具体的には、対象物を保持する第1表面と前記第1表面の反対側に位置する第2表面とを有するセラミックス基板と、前記セラミックス基板の前記第2表面側に配されるベース部材であって、前記セラミックス基板の反対側に位置する第3表面を有するベース部材と、前記セラミックス基板と前記ベース部材との間に配される接合材と、を備え、(1)前記セラミックス基板及び前記ベース部材には、前記第1表面に設けられた流出孔と前記第3表面に設けられた流入孔との間を流体が移動可能に連通させる流路が形成され、又は、(2)前記セラミックス基板には、前記第1表面に設けられた流出孔と前記第2表面に設けられた流入孔との間を流体が移動可能に連通させる流路が形成され、前記流路には、多孔セラミックス領域が設けられており、前記多孔セラミックス領域は、疎領域と、前記疎領域よりも低い空隙率を有し前記疎領域よりも前記第1表面側に配される密領域と、を備える保持装置が記載されている。
【0009】
特許文献5では、ウエハ載置台において、セラミックスプレートの貫通孔内に配置された絶縁性の第1多孔質部と、ベースプレートのうちセラミックスプレート側に設けられた凹部に第1多孔質部と対向するように嵌め込まれた絶縁性の第2多孔質部と、が設けられている。ガス導入路に供給されたガスは、第2多孔質部及び第1多孔質部を通過してウエハ載置面とウエハとの間の空間に流入し、対象物の冷却に用いられる。第1多孔質部及び第2多孔質部が存在することで、ガス導入通路からウエハ載置面までのガスの流量を確保しつつ、ウエハを処理する際のプラズマに起因する放電(アーク放電)の発生を抑制できると記載されている。
【先行技術文献】
【特許文献】
【0010】
特開2022-119338号公報
特開2022-31333号公報
特開2019-165194号公報
特開2022-176701号公報
特開2020-72262号公報
【発明の概要】
【発明が解決しようとする課題】
(【0011】以降は省略されています)
この特許をJ-PlatPat(特許庁公式サイト)で参照する
関連特許
日本碍子株式会社
蒸発器
8日前
日本碍子株式会社
熱交換器
2か月前
日本碍子株式会社
把持方法
2か月前
日本碍子株式会社
熱交換器
2か月前
日本碍子株式会社
ウエハ載置台
1か月前
日本碍子株式会社
搬送ユニット
2日前
日本碍子株式会社
匣鉢把持装置
2日前
日本碍子株式会社
亜鉛二次電池
1か月前
日本碍子株式会社
空調システム
1か月前
日本碍子株式会社
回収システム
8日前
日本碍子株式会社
電気化学セル
1か月前
日本碍子株式会社
ハニカム構造体
1か月前
日本碍子株式会社
ハニカム構造体
2か月前
日本碍子株式会社
ハニカム構造体
1か月前
日本碍子株式会社
電気加熱式担体
1か月前
日本碍子株式会社
電気加熱式担体
1か月前
日本碍子株式会社
ハニカム構造体
1か月前
日本碍子株式会社
セラミックヒータ
9日前
日本碍子株式会社
ハニカムフィルタ
1か月前
日本碍子株式会社
アルカリ二次電池
2か月前
日本碍子株式会社
メタン製造反応器
1か月前
日本碍子株式会社
車両用空調システム
8日前
日本碍子株式会社
車両用調湿システム
8日前
日本碍子株式会社
三相型ハニカムヒータ
1か月前
日本碍子株式会社
セラミックサセプター
1か月前
日本碍子株式会社
ウォーキングビーム炉
1か月前
日本碍子株式会社
半導体製造装置用ヒータ
1か月前
日本碍子株式会社
浄水膜構造体の製造方法
1か月前
日本碍子株式会社
センサ素子及びガスセンサ
1か月前
日本碍子株式会社
セラミックス部材の製造方法
1か月前
日本碍子株式会社
センサ素子およびガスセンサ
2か月前
日本碍子株式会社
ロボットハンドおよびロボット
2か月前
日本碍子株式会社
セラミックス試料の酸分解方法
1か月前
日本碍子株式会社
ロボットハンドおよびロボット
2か月前
日本碍子株式会社
AlN単結晶基板及びデバイス
2か月前
日本碍子株式会社
浄水膜構造体および浄水膜組立体
1か月前
続きを見る
他の特許を見る