TOP
|
特許
|
意匠
|
商標
特許ウォッチ
Twitter
他の特許を見る
公開番号
2025176396
公報種別
公開特許公報(A)
公開日
2025-12-04
出願番号
2024082518
出願日
2024-05-21
発明の名称
搬送ユニット
出願人
日本碍子株式会社
,
エヌジーケイ・キルンテック株式会社
代理人
弁理士法人 快友国際特許事務所
主分類
F27B
9/39 20060101AFI20251127BHJP(炉,キルン,窯;レトルト)
要約
【課題】搬送物をストッパに容易に当接させることができる技術を開示する。
【解決手段】搬送ユニットは、熱処理炉から搬出された第1搬送物を搬送する。搬送ユニットは、第1搬送面上に前記第1搬送物が載置可能であり、前記第1搬送面の上流端から下流端に向かって前記第1搬送物が移動可能な第1搬送装置と、前記第1搬送面の前記下流端が前記第1搬送面の前記上流端よりも下側に位置するように前記第1搬送面を第1傾斜角度に傾斜させる傾斜装置と、前記第1搬送物と当接可能なストッパと、を備えている。前記傾斜装置が前記第1搬送面を傾斜させたとき、前記第1搬送面上の前記第1搬送物は、前記第1搬送物の自重により前記第1搬送面上を前記下流端まで移動し、前記下流端で前記ストッパに当接する。
【選択図】図3
特許請求の範囲
【請求項1】
熱処理炉から搬出された第1搬送物を搬送する搬送ユニットであって、
第1搬送面上に前記第1搬送物が載置可能であり、前記第1搬送面の上流端から下流端に向かって前記第1搬送物が移動可能な第1搬送装置と、
前記第1搬送面の前記下流端が前記第1搬送面の前記上流端よりも下側に位置するように前記第1搬送面を第1傾斜角度に傾斜させる傾斜装置と、
前記第1搬送物と当接可能なストッパと、を備えており、
前記傾斜装置が前記第1搬送面を傾斜させたとき、前記第1搬送面上の前記第1搬送物は、前記第1搬送物の自重により前記第1搬送面上を前記下流端まで移動し、前記下流端で前記ストッパに当接する、搬送ユニット。
続きを表示(約 1,400 文字)
【請求項2】
前記傾斜装置は、さらに、前記第1搬送面を前記第1傾斜角度よりも大きい第2傾斜角度に傾斜可能であり、
前記第1搬送面が前記第2傾斜角度にあるときの前記下流端は、前記第1搬送面が前記第1傾斜角度にあるときの前記下流端よりも下側に配置されている、請求項1に記載の搬送ユニット。
【請求項3】
前記第1搬送面が前記第1傾斜角度にあるとき、前記第1搬送面の傾斜勾配は、10%以上であり、
前記第1搬送面が前記第2傾斜角度にあるとき、前記第1搬送面の前記傾斜勾配は、15%以上である、請求項2に記載の搬送ユニット。
【請求項4】
第2搬送面上に前記第1搬送物が載置可能であり、前記搬送ユニットを上面視したときに前記第1搬送装置が前記第1搬送物を搬送する第1搬送方向と異なる第2搬送方向に前記第1搬送物を搬送する第2搬送装置をさらに備えており、
前記第2搬送面の上流部は、前記第1搬送面が前記第1傾斜角度にあるときの前記第1搬送面の前記下流端よりも下側であって、前記第1搬送面が前記第2傾斜角度にあるときの前記第1搬送面の前記下流端よりも上側に配置されている、請求項2に記載の搬送ユニット。
【請求項5】
前記第1搬送面の前記上流端上の前記第1搬送物を検出する第1センサと、
前記第1搬送面の前記下流端上の前記第1搬送物を検出する第2センサと、をさらに備えており、
前記傾斜装置は、
前記第1センサが前記第1搬送物を検出したときに前記第1搬送面を前記第1傾斜角度に傾斜させ、
前記第2センサが前記第1搬送物を検出したときに前記第1搬送面を前記第2傾斜角度に傾斜させる、請求項2に記載の搬送ユニット。
【請求項6】
第3搬送面上に前記第1搬送物が載置可能であり、前記第1搬送物を前記第1搬送面の前記上流端に向けて搬送する第3搬送装置をさらに備えており、
前記第3搬送面の下流端は、前記第1搬送面が前記第1傾斜角度にあるときの前記第1搬送面の前記上流端よりも下側に配置されている、請求項1から5のいずれか一項に記載の搬送ユニット。
【請求項7】
前記ストッパは、前記第1搬送物と当接可能であり、前記第1搬送物との当接による衝撃を吸収するクッション材を備えている、請求項1から5のいずれか一項に記載の搬送ユニット。
【請求項8】
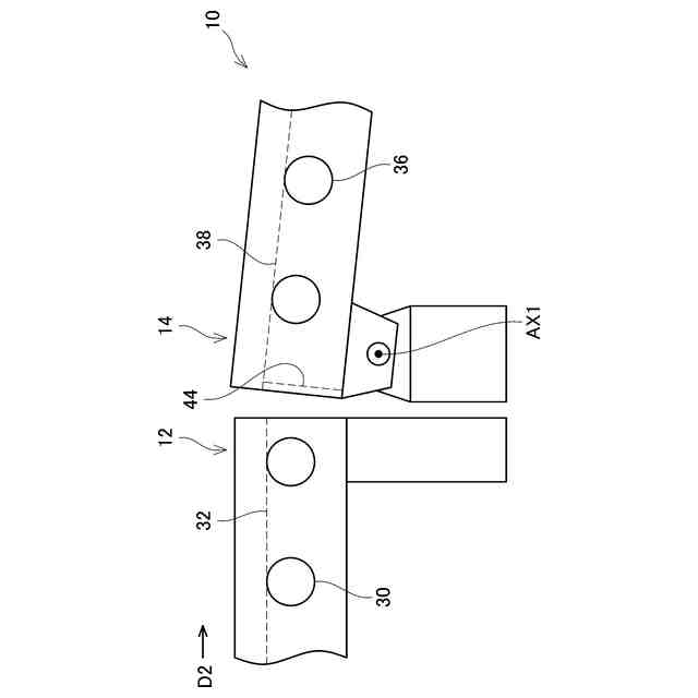
前記第1搬送装置は、前記上流端に位置する回動軸を中心にして回動可能であり、
前記傾斜装置は、前記第1搬送面の前記下流端を昇降させる、請求項1から5のいずれか一項に記載の搬送ユニット。
【請求項9】
前記搬送ユニットは、前記熱処理炉から搬出された前記第1搬送物と第2搬送物を搬送し、
前記第1搬送装置は、前記搬送ユニットを上面視したとき前記第1搬送物と前記第2搬送物を第1搬送方向に搬送し、
前記第1搬送面は、前記第1搬送方向に対して略直交する列方向に分割されている第1分割搬送面と第2分割搬送面とを備えており、
前記傾斜装置は、前記第1分割搬送面と前記第2分割搬送面を独立して傾斜させ、
前記第1搬送物と前記第2搬送物は、前記列方向に並んでおり、
前記第1搬送物は、前記第1分割搬送面上を移動し、
前記第2搬送物は、前記第2分割搬送面上を移動する、請求項1から5のいずれか一項に記載の搬送ユニット。
発明の詳細な説明
【技術分野】
【0001】
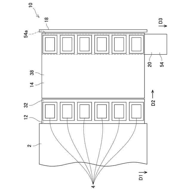
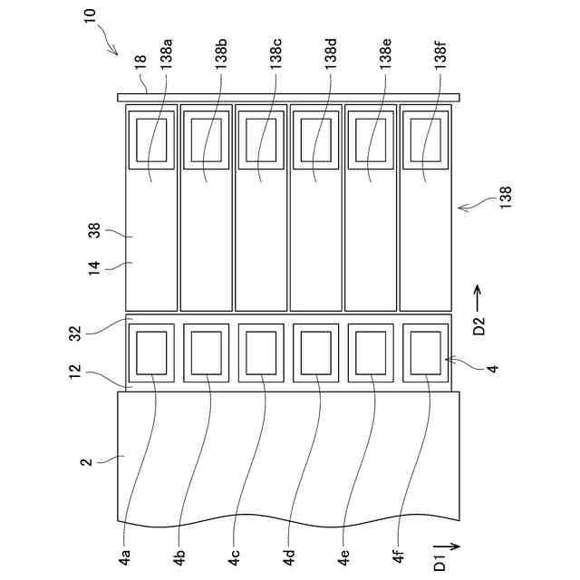
本明細書に開示する技術は、搬送ユニットに関する。
続きを表示(約 1,700 文字)
【背景技術】
【0002】
特許文献1には、搬送ユニットが開示されている。搬送ユニットは、熱処理炉から搬出された搬出物を搬送する。搬送ユニットは、搬送物を搬送するローラ式搬送装置と、搬送物と当接可能なストッパと、を備えている。ストッパは、アクチュエータにより上位置と下位置に移動可能である。ストッパが上位置に移動すると、ローラ式搬送装置の搬送面上を搬送された搬送物がストッパに当接する。
【先行技術文献】
【特許文献】
【0003】
特許第6978622号
【発明の概要】
【発明が解決しようとする課題】
【0004】
特許文献1の搬送ユニットでは、搬送面は、水平状態に固定されている。この構成では、搬送物をストッパに当接させるために、ローラ式搬送装置のローラを回転駆動させる必要がある。また、搬送物がストッパに当接する上位置と、搬送物がストッパに当接しない下位置とにストッパを移動させるためのアクチュエータも必要となる。このため、搬送物をストッパに当接させる構造が複雑となる。
【0005】
本明細書は、搬送物をストッパに容易に当接させることができる技術を開示する。
【課題を解決するための手段】
【0006】
本明細書に開示する技術の第1の態様では、搬送ユニットは、熱処理炉から搬出された第1搬送物を搬送する。搬送ユニットは、第1搬送面上に前記第1搬送物が載置可能であり、前記第1搬送面の上流端から下流端に向かって前記第1搬送物が移動可能な第1搬送装置と、前記第1搬送面の前記下流端が前記第1搬送面の前記上流端よりも下側に位置するように前記第1搬送面を第1傾斜角度に傾斜させる傾斜装置と、前記第1搬送物と当接可能なストッパと、を備えている。前記傾斜装置が前記第1搬送面を傾斜させたとき、前記第1搬送面上の前記第1搬送物は、前記第1搬送物の自重により前記第1搬送面上を前記下流端まで移動し、前記下流端で前記ストッパに当接する。
【0007】
上記の構成によれば、第1搬送面が傾斜したとき、第1搬送物は、第1搬送物の自重により第1搬送面上を移動し、ストッパに当接する。また、第1搬送面を傾斜させることにより、第1搬送面に対してストッパを上下方向に相対的に移動させることができる。これにより、簡素な構造により第1搬送物をストッパに容易に当接させることができる。
【図面の簡単な説明】
【0008】
第1実施例の熱処理炉と搬送ユニットの上面図である。
第1実施例の搬送ユニットにおいて、中間搬送面の下流端が第1位置にあるときの側面図である。
第1実施例の搬送ユニットにおいて、中間搬送面の下流端が第2位置にあるときの側面図である。
第1実施例の中間搬送装置と傾斜装置において、中間搬送面の下流端が第1位置にあるときの側面図である。
第1実施例の上流搬送装置と中間搬送装置において、中間搬送面の下流端が第1位置にあるときの拡大側面図である。
第1実施例の搬送ユニットにおいて、中間搬送面の下流端が第3位置にあるときの側面図である。
第2実施例の熱処理炉と搬送ユニットの上面図である。
【発明を実施するための形態】
【0009】
以下に説明する実施例の主要な特徴を列記しておく。なお、以下に記載する技術要素は、それぞれ独立した技術要素であって、単独であるいは各種の組合せによって技術的有用性を発揮するものであり、出願時請求項記載の組合せに限定されるものではない。
【0010】
本明細書に開示する技術の第2の態様では、上記の第1の態様において、前記傾斜装置は、さらに、前記第1搬送面を前記第1傾斜角度よりも大きい第2傾斜角度に傾斜可能である。前記第1搬送面が前記第2傾斜角度にあるときの前記下流端は、前記第1搬送面が前記第1傾斜角度にあるときの前記下流端よりも下側に配置されていてもよい。
(【0011】以降は省略されています)
この特許をJ-PlatPat(特許庁公式サイト)で参照する
関連特許
日本碍子株式会社
蒸発器
8日前
日本碍子株式会社
熱交換器
2か月前
日本碍子株式会社
亜鉛二次電池
1か月前
日本碍子株式会社
電気化学セル
1か月前
日本碍子株式会社
搬送ユニット
2日前
日本碍子株式会社
匣鉢把持装置
2日前
日本碍子株式会社
ウエハ載置台
1か月前
日本碍子株式会社
空調システム
1か月前
日本碍子株式会社
回収システム
8日前
日本碍子株式会社
電気加熱式担体
1か月前
日本碍子株式会社
ハニカム構造体
1か月前
日本碍子株式会社
ハニカム構造体
1か月前
日本碍子株式会社
ハニカム構造体
1か月前
日本碍子株式会社
電気加熱式担体
1か月前
日本碍子株式会社
セラミックヒータ
9日前
日本碍子株式会社
ハニカムフィルタ
1か月前
日本碍子株式会社
メタン製造反応器
1か月前
日本碍子株式会社
車両用空調システム
8日前
日本碍子株式会社
車両用調湿システム
8日前
日本碍子株式会社
ウォーキングビーム炉
1か月前
日本碍子株式会社
セラミックサセプター
1か月前
日本碍子株式会社
三相型ハニカムヒータ
1か月前
日本碍子株式会社
浄水膜構造体の製造方法
1か月前
日本碍子株式会社
半導体製造装置用ヒータ
1か月前
日本碍子株式会社
センサ素子及びガスセンサ
1か月前
日本碍子株式会社
セラミックス部材の製造方法
1か月前
日本碍子株式会社
セラミックス試料の酸分解方法
1か月前
日本碍子株式会社
浄水膜構造体および浄水膜組立体
1か月前
日本碍子株式会社
ハニカム構造体及びハニカムヒータ
1か月前
日本碍子株式会社
放射性廃棄物の処理方法及び保管装置
1か月前
日本碍子株式会社
半導体製造装置用部材及びその再生方法
1か月前
日本碍子株式会社
半導体製造装置用部材及びその再生方法
1か月前
日本碍子株式会社
半導体製造装置用部材及びその再生方法
1か月前
日本碍子株式会社
トチの検査方法及びハニカム構造体の製造方法
1か月前
日本碍子株式会社
車両用空調システム、及び吸着層の再生処理方法
8日前
日本碍子株式会社
車両用空調システム、及び吸着層の再生処理方法
8日前
続きを見る
他の特許を見る