TOP
|
特許
|
意匠
|
商標
特許ウォッチ
Twitter
他の特許を見る
10個以上の画像は省略されています。
公開番号
2025176302
公報種別
公開特許公報(A)
公開日
2025-12-04
出願番号
2024082331
出願日
2024-05-21
発明の名称
匣鉢把持装置
出願人
日本碍子株式会社
,
エヌジーケイ・キルンテック株式会社
代理人
弁理士法人 快友国際特許事務所
主分類
F27D
3/06 20060101AFI20251127BHJP(炉,キルン,窯;レトルト)
要約
【課題】本明細書は、匣鉢を匣鉢把持装置で安定して把持することができる技術を開示する。
【解決手段】本明細書に開示する匣鉢把持装置は、熱処理炉で熱処理される被処理物を収容可能な匣鉢を把持する。前記匣鉢は、上面視したときに少なくとも1個の角部を備えている。前記匣鉢把持装置は、前記匣鉢の前記角部を把持する角把持部を備えている。前記角把持部は、前記匣鉢の内側から前記角部を把持してもよく、前記匣鉢の外側から前記角部を把持してもよい。
【選択図】図3
特許請求の範囲
【請求項1】
熱処理炉で熱処理される被処理物を収容可能な匣鉢を把持する匣鉢把持装置であって、
前記匣鉢は、上面視したときに少なくとも1個の角部を備えており、
前記匣鉢把持装置は、前記匣鉢の前記角部を把持する角把持部を備えている、匣鉢把持装置。
続きを表示(約 1,000 文字)
【請求項2】
前記匣鉢は、上面視したときに、第1角部と、前記第1角部の対角に配置されている第2角部を備えており、
前記匣鉢把持装置は、
前記第1角部を把持する第1角把持部と、
前記第2角部を把持する第2角把持部と、を備えている、請求項1に記載の匣鉢把持装置。
【請求項3】
前記匣鉢把持装置が前記匣鉢を把持するとき、前記第1角把持部が前記第1角部に押し付けられ、前記第2角把持部が前記第2角部に押し付けられる、請求項2に記載の匣鉢把持装置。
【請求項4】
前記匣鉢は、前記匣鉢を上面視したときに複数の角部を備えており、
前記匣鉢把持装置は、前記匣鉢の前記複数の角部のそれぞれを把持する複数の角把持部を備えており、
前記複数の角把持部の個数は、前記匣鉢の前記複数の角部の個数と同一である、請求項1に記載の匣鉢把持装置。
【請求項5】
前記角把持部は、前記匣鉢の内側から前記角部を把持する、請求項1から4のいずれか一項に記載の匣鉢把持装置。
【請求項6】
前記角把持部は、前記匣鉢の外側から前記角部を把持する、請求項1から4のいずれか一項に記載の匣鉢把持装置。
【請求項7】
前記匣鉢は、第1側壁と第2側壁により画定される角部を備えており、
前記角把持部は、
当該角把持部が前記角部を把持するときに前記第1側壁に当接する第1当接部材と、
当該角把持部が前記角部を把持するときに前記第2側壁に当接する第2当接部材と、を備えている、請求項1から4のいずれか一項に記載の匣鉢把持装置。
【請求項8】
前記角把持部は、前記第1当接部材と前記第2当接部材に固定されるベース部材をさらに備えており、
前記ベース部材の剛性は、前記第1当接部材の剛性と前記第2当接部材の剛性のそれぞれよりも大きい、請求項7に記載の匣鉢把持装置。
【請求項9】
前記第1当接部材と前記第2当接部材は、樹脂材料、セラミックス、または金属材料からなる、請求項7に記載の匣鉢把持装置。
【請求項10】
前記ベース部材を前記匣鉢の前記角部に押し付ける押付方向と前記匣鉢の前記角部から離す離反方向に、前記ベース部材を移動させる動作装置をさらに備えている、請求項8に記載の匣鉢把持装置。
(【請求項11】以降は省略されています)
発明の詳細な説明
【技術分野】
【0001】
本明細書に開示する技術は、匣鉢把持装置に関する。
続きを表示(約 1,400 文字)
【背景技術】
【0002】
特許文献1には、匣鉢把持装置が開示されている。匣鉢把持装置は、匣鉢の側壁を把持する把持部を備えている。
【先行技術文献】
【特許文献】
【0003】
特許第6949260号
【発明の概要】
【発明が解決しようとする課題】
【0004】
匣鉢が焼成炉で繰り返し使用されると、匣鉢の側壁は、焼成炉からの熱により変形することがある。このため、把持部が匣鉢の側壁を把持する構成では、把持部が匣鉢の側壁を安定して把持することができない。
【0005】
本明細書は、匣鉢を匣鉢把持装置で安定して把持することができる技術を開示する。
【課題を解決するための手段】
【0006】
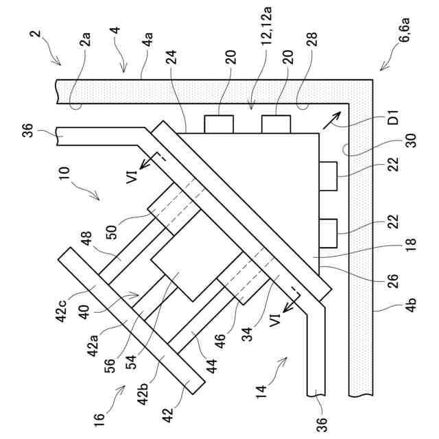
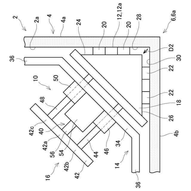
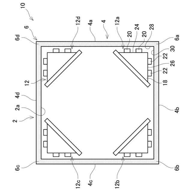
本明細書に開示する技術の第1の態様では、匣鉢把持装置は、熱処理炉で熱処理される被処理物を収容可能な匣鉢を把持する。前記匣鉢は、上面視したときに少なくとも1個の角部を備えている。前記匣鉢把持装置は、前記匣鉢の前記角部を把持する角把持部を備えている。
【0007】
上記の構成によれば、匣鉢の少なくとも1個の角部は、匣鉢の側壁よりも、熱処理炉からの熱により変形し難い。このため、匣鉢の側壁が把持される構成と比較して、角把持部が匣鉢を安定して把持することができる。
【図面の簡単な説明】
【0008】
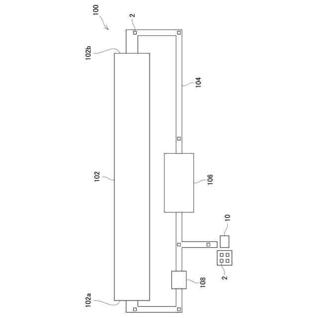
第1実施例の熱処理システムの概略図である。
第1実施例の匣鉢と匣鉢把持装置において、内側角把持部が離反状態にあるときの上面図である。
第1実施例の匣鉢と匣鉢把持装置において、内側角把持部が当接状態にあるときの上面図である。
第1実施例の匣鉢と匣鉢把持装置において、内側角把持部が離反状態にあるときの拡大上面図である。
第1実施例の匣鉢と匣鉢把持装置において、内側角把持部が当接状態にあるときの拡大上面図である。
図4のVI-VI線における断面図である。
第1実施例の4個の動作装置の上面図である。
第2実施例の匣鉢と匣鉢把持装置において、外側角把持部が離反状態にあるときの上面図である。
第2実施例の匣鉢と匣鉢把持装置において、外側角把持部が当接状態にあるときの上面図である。
第3実施例の匣鉢と匣鉢把持装置において、内側角把持部と外側角把持部が当接状態にあるときの上面図である。
【発明を実施するための形態】
【0009】
以下に説明する実施例の主要な特徴を列記しておく。なお、以下に記載する技術要素は、それぞれ独立した技術要素であって、単独であるいは各種の組合せによって技術的有用性を発揮するものであり、出願時請求項記載の組合せに限定されるものではない。
【0010】
本明細書に開示する技術の第2の態様では、上記の第1の態様において、前記匣鉢は、上面視したときに、第1角部と、前記第1角部の対角に配置されている第2角部を備えている。前記匣鉢把持装置は、前記第1角部を把持する第1角把持部と、前記第2角部を把持する第2角把持部と、を備えている。上記の構成によれば、対角に配置される第1角部と第2角部が把持されることにより、匣鉢をより安定して把持することができる。
(【0011】以降は省略されています)
この特許をJ-PlatPat(特許庁公式サイト)で参照する
関連特許
日本碍子株式会社
電池
3か月前
日本碍子株式会社
蒸発器
9日前
日本碍子株式会社
熱交換器
2か月前
日本碍子株式会社
把持方法
2か月前
日本碍子株式会社
熱交換器
2か月前
日本碍子株式会社
ガスセンサ
3か月前
日本碍子株式会社
亜鉛二次電池
2か月前
日本碍子株式会社
ウエハ載置台
1か月前
日本碍子株式会社
空調システム
1か月前
日本碍子株式会社
電気化学セル
1か月前
日本碍子株式会社
空調システム
3か月前
日本碍子株式会社
回収システム
9日前
日本碍子株式会社
搬送ユニット
3日前
日本碍子株式会社
匣鉢把持装置
3日前
日本碍子株式会社
ハニカム構造体
1か月前
日本碍子株式会社
ハニカム構造体
2か月前
日本碍子株式会社
ハニカム構造体
2か月前
日本碍子株式会社
電気加熱式担体
1か月前
日本碍子株式会社
ハニカム構造体
1か月前
日本碍子株式会社
電気加熱式担体
1か月前
日本碍子株式会社
ハニカム構造体
2か月前
日本碍子株式会社
ハニカム構造体
1か月前
日本碍子株式会社
ハニカム構造体
3か月前
日本碍子株式会社
ハニカムフィルタ
1か月前
日本碍子株式会社
アルカリ二次電池
2か月前
日本碍子株式会社
セラミックヒータ
10日前
日本碍子株式会社
メタン製造反応器
1か月前
日本碍子株式会社
導波素子の製造方法
2か月前
日本碍子株式会社
車両用調湿システム
9日前
日本碍子株式会社
車両用空調システム
9日前
日本碍子株式会社
ウォーキングビーム炉
2か月前
日本碍子株式会社
三相型ハニカムヒータ
1か月前
日本碍子株式会社
半導体製造装置用部材
2か月前
日本碍子株式会社
セラミックサセプター
1か月前
日本碍子株式会社
浄水膜構造体の製造方法
1か月前
日本碍子株式会社
半導体製造装置用ヒータ
1か月前
続きを見る
他の特許を見る