TOP
|
特許
|
意匠
|
商標
特許ウォッチ
Twitter
他の特許を見る
公開番号
2025178341
公報種別
公開特許公報(A)
公開日
2025-12-05
出願番号
2025154084,2022094312
出願日
2025-09-17,2022-06-10
発明の名称
電池モジュール
出願人
株式会社AESCジャパン
代理人
個人
,
個人
主分類
H01M
50/204 20210101AFI20251128BHJP(基本的電気素子)
要約
【課題】温度センサを電池セルに取り付けるための作業性を向上させる。
【解決手段】温度センサ装置40は、電池セル100の電圧を検出する前方電圧検出装置30に取り付けられた温度センサ420を備えている。
【選択図】図2
特許請求の範囲
【請求項1】
第1方向に積層された複数の電池セルと、
前記複数の電池セルの前記第1方向に直交する第2方向側に位置し、前記複数の電池セルの電圧を検出する電圧検出装置と、
前記電圧検出装置に取り付けられ、前記電池セルの前記第1方向及び前記第2方向に直交する第3方向側の側方に配置された温度センサと、
前記複数の電池セル、前記電圧検出装置及び前記温度センサを収容する収容体と、
前記温度センサと前記収容体の間の遮熱要素と、
を備える電池モジュール。
続きを表示(約 340 文字)
【請求項2】
前記遮熱要素は、前記温度センサを支持する支持板を有する、請求項1に記載の電池モジュール。
【請求項3】
前記遮熱要素は、前記温度センサを前記電池セルに向けて付勢するための弾性部材を有する、請求項1又は2に記載の電池モジュール。
【請求項4】
前記電圧検出装置に取り付けられ、前記温度センサを支持する支持体をさらに備える、請求項1又は2に記載の電池モジュール。
【請求項5】
前記温度センサが絶縁性の取付具によって前記電圧検出装置に取り付けられている、請求項1又は2に記載の電池モジュール。
【請求項6】
複数の前記温度センサが前記電圧検出装置に取り付けられている、請求項1又は2に記載の電池モジュール。
発明の詳細な説明
【技術分野】
【0001】
本発明は、温度センサ装置及び電池モジュールに関する。
続きを表示(約 1,500 文字)
【背景技術】
【0002】
近年、電池モジュールに取り付けられる様々な温度センサ装置が開発されている。例えば特許文献1に記載の温度センサ装置は、温度センサと、温度センサを電池モジュールに向けて付勢する付勢部と、を備えている。
【先行技術文献】
【特許文献】
【0003】
特開2013-171697号公報
【発明の概要】
【発明が解決しようとする課題】
【0004】
電池モジュールには、電池セルの電圧を検出するための電圧検出装置が設けられることがある。この場合、例えば特許文献1に記載の温度センサ装置の電池モジュールへの取り付けと、電圧検出装置の電池モジュールへの取り付けと、を別々に行うと、温度センサを電池セルに取り付けるための作業性を向上させることが難しいことがある。
【0005】
本発明の目的の一例は、温度センサを電池セルに取り付けるための作業性を向上させることにある。本発明の他の目的は、本明細書の記載から明らかになるであろう。
【課題を解決するための手段】
【0006】
本発明の一態様は、以下のとおりである。
[1]
電池セルの電圧を検出する電圧検出装置に取り付けられた温度センサを備える温度センサ装置。
[2]
前記電圧検出装置に取り付けられ、前記温度センサを支持する支持体をさらに備える、[1]に記載の温度センサ装置。
[3]
前記温度センサが絶縁性の取付具によって前記電圧検出装置に取り付けられている、[1]又は[2]に記載の温度センサ装置。
[4]
複数の前記温度センサが前記電圧検出装置に取り付けられている、[1]~[3]のいずれか一つに記載の温度センサ装置。
[5]
前記温度センサが前記電池セルの側方に配置されている、[1]~[4]のいずれか一つに記載の温度センサ装置。
[6]
前記電池セルと、
前記電圧検出装置と、
[1]~[5]のいずれか一つに記載の温度センサ装置と、
を備える電池モジュール。
【発明の効果】
【0007】
本発明の上記態様によれば、温度センサを電池セルに取り付けるための作業性を向上させることができる。
【図面の簡単な説明】
【0008】
実施形態に係る電池モジュールの分解斜視図である。
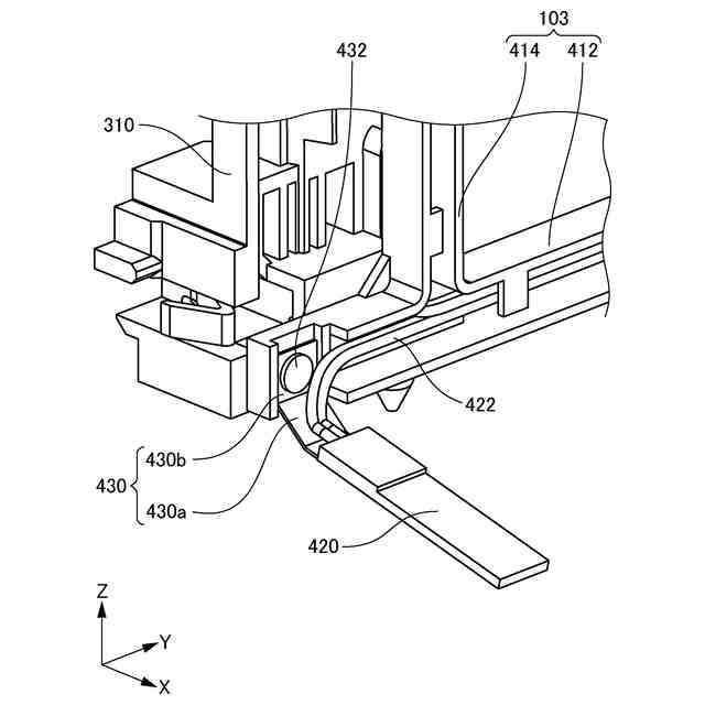
実施形態に係る温度センサ装置を、一部の電池セル、下方カバー、前方電圧検出装置とともに示す後方斜視図である。
実施形態に係る前方電圧検出装置及び温度センサ装置の後方から見たときの左下部分の拡大図である。
図3に示した温度センサを弾性部材とともに示す平面図である。
図3に示した温度センサを弾性部材とともに示す左側面図である。
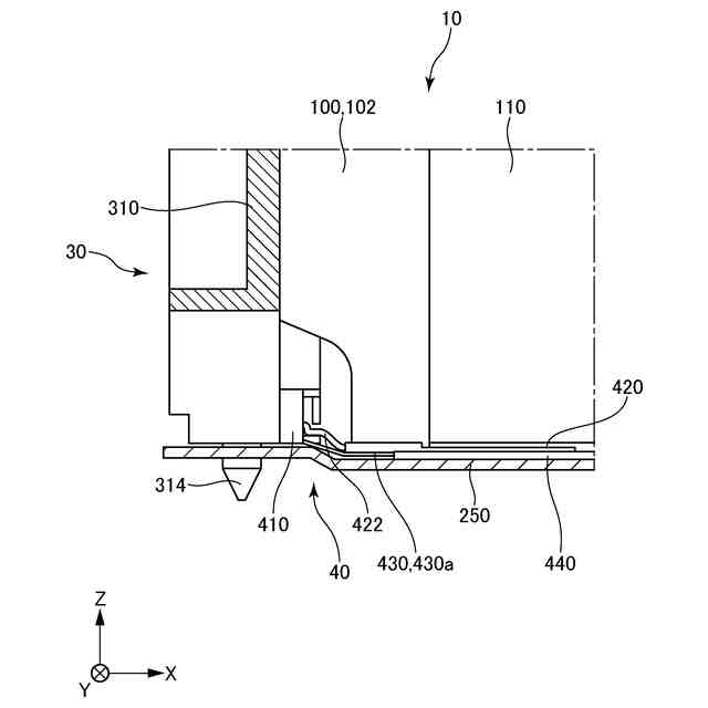
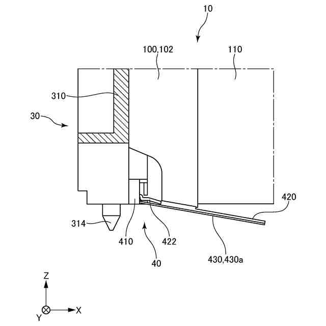
前方電圧検出装置及び温度センサ装置をセル積層体に取り付ける方法を説明するための図である。
前方電圧検出装置及び温度センサ装置をセル積層体に取り付ける方法を説明するための図である。
図7に示した状態における電池セル及び下方カバーの間の構造を後方から見た図である。
【発明を実施するための形態】
【0009】
以下、本発明の実施形態について、図面を用いて説明する。すべての図面において、同様な構成要素には同様の符号を付し、適宜説明を省略する。
【0010】
図1は、実施形態に係る電池モジュール1の分解斜視図である。
(【0011】以降は省略されています)
この特許をJ-PlatPat(特許庁公式サイト)で参照する
関連特許
株式会社AESCジャパン
電池モジュール
29日前
株式会社AESCジャパン
正極及び二次電池
15日前
株式会社AESCジャパン
電池及び電気装置
15日前
株式会社AESCジャパン
電解液およびリチウムイオン電池
今日
株式会社AESCジャパン
電解液およびリチウムイオン電池
今日
株式会社AESCジャパン
電解液および該電解液を含む電池
今日
株式会社AESCジャパン
電解液および該電解液を含む電池
今日
株式会社AESCジャパン
バッテリエンドキャップ及びバッテリ
今日
株式会社AESCジャパン
二次電池、バッテリーパック及び電子装置
1か月前
株式会社AESCジャパン
カバープレート部品およびそれを備える単セルバッテリ
1か月前
株式会社AESCジャパン
電池モジュール
今日
株式会社AESCジャパン
電池モジュール
21日前
株式会社AESCジャパン
電池モジュールの製造方法
今日
東ソー株式会社
絶縁電線
1か月前
APB株式会社
蓄電セル
1か月前
個人
フレキシブル電気化学素子
1か月前
日機装株式会社
加圧装置
今日
ローム株式会社
半導体装置
1か月前
株式会社東芝
端子台
1か月前
日新イオン機器株式会社
イオン源
今日
株式会社ユーシン
操作装置
1か月前
日新イオン機器株式会社
イオン源
1か月前
マクセル株式会社
電源装置
1か月前
株式会社GSユアサ
蓄電装置
1か月前
株式会社GSユアサ
蓄電装置
15日前
株式会社GSユアサ
蓄電設備
1か月前
株式会社GSユアサ
蓄電設備
1か月前
株式会社GSユアサ
蓄電装置
29日前
三菱電機株式会社
回路遮断器
23日前
太陽誘電株式会社
コイル部品
1か月前
オムロン株式会社
電磁継電器
1か月前
富士電機株式会社
電磁接触器
15日前
株式会社GSユアサ
蓄電装置
1か月前
株式会社ホロン
冷陰極電子源
1か月前
北道電設株式会社
配電具カバー
1か月前
株式会社東芝
電子源
今日
続きを見る
他の特許を見る