TOP
|
特許
|
意匠
|
商標
特許ウォッチ
Twitter
他の特許を見る
公開番号
2025170046
公報種別
公開特許公報(A)
公開日
2025-11-14
出願番号
2025145155,2022094310
出願日
2025-09-02,2022-06-10
発明の名称
電池モジュール
出願人
株式会社AESCジャパン
代理人
個人
,
個人
主分類
G01K
1/14 20210101AFI20251107BHJP(測定;試験)
要約
【課題】温度センサを簡易な構成で電池セルに対して固定する。
【解決手段】温度センサ装置40は、温度センサ420と、弾性部材440と、を備えている。弾性部材440は、温度センサ420と、温度センサ420を電池セル100に向けて押圧する下方カバー250と、の間に位置している。
【選択図】図8
特許請求の範囲
【請求項1】
電池セルと、
前記電池セルの温度を検出するための温度センサと、
前記温度センサを支持する支持板と、
前記温度センサ及び前記支持板を前記電池セルに向けて付勢するための弾性部材と、
前記弾性部材を介して前記温度センサ及び前記支持板を前記電池セルに向けて押圧するための押圧体と、
を備え、
前記支持板は、前記温度センサ及び前記弾性部材の間に位置しており、
前記弾性部材は、前記支持板及び前記押圧体の間に位置している、電池モジュール。
続きを表示(約 420 文字)
【請求項2】
前記押圧体が配置されずに前記電池セル及び前記支持板の間に前記温度センサが位置する状態から、前記押圧体が配置されて、前記電池セル及び前記支持板の間に前記温度センサが位置し、かつ、前記支持板及び前記押圧体の間に前記弾性部材が位置する状態になることで、前記押圧体は、前記弾性部材を介して前記温度センサ及び前記支持板を前記電池セルに向けて押圧し、前記弾性部材は、前記温度センサ及び前記支持板を前記電池セルに向けて付勢する、請求項1に記載の電池モジュール。
【請求項3】
前記温度センサ及び前記支持板は、互いに取り付けられている、請求項1又は2に記載の電池モジュール。
【請求項4】
前記弾性部材及び前記押圧体は、互いに取り付けられている、請求項1又は2に記載の電池モジュール。
【請求項5】
前記押圧体は、前記電池セルの少なくとも一部を覆う、請求項1又は2に記載の電池モジュール。
発明の詳細な説明
【技術分野】
【0001】
本発明は、温度センサ装置及び電池モジュールに関する。
続きを表示(約 1,500 文字)
【背景技術】
【0002】
近年、電池モジュールに取り付けられる様々な温度センサ装置が開発されている。例えば特許文献1に記載の温度センサ装置は、温度センサと、温度センサを電池モジュールに向けて付勢する付勢部と、を備えている。付勢部は撓み部を有している。撓み部の弾性変形によって、付勢部は、温度センサを電池モジュールに向けて付勢している。
【先行技術文献】
【特許文献】
【0003】
特開2013-171697号公報
【発明の概要】
【発明が解決しようとする課題】
【0004】
例えば特許文献1に記載の温度センサ装置では、温度センサを電池モジュールに対して固定する構成に撓み部が必要となる。しかしながら、撓み部が設けられた場合、温度センサ装置の構成を簡易にすることが難しくなり得る。
【0005】
本発明の目的の一例は、温度センサを簡易な構成で電池セルに対して固定することにある。本発明の他の目的は、本明細書の記載から明らかになるであろう。
【課題を解決するための手段】
【0006】
本発明の一態様は、以下のとおりである。
[1]
温度センサと、
前記温度センサと、前記温度センサを電池セルに向けて押圧する押圧体と、の間に位置する弾性部材と、
を備える温度センサ装置。
[2]
前記温度センサが可撓性を有する、[1]に記載の温度センサ装置。
[3]
前記温度センサを支持する支持板をさらに備える、[1]又は[2]に記載の温度センサ装置。
[4]
前記温度センサが前記押圧体から遮熱されている、[1]~[3]のいずれか一つに記載の温度センサ装置。
[5]
前記温度センサが前記電池セルの側方に配置されている、[1]~[4]のいずれか一つに記載の温度センサ装置。
[6]
前記電池セルと、
[1]~[5]のいずれか一つに記載の温度センサ装置と、
を備える電池モジュール。
【発明の効果】
【0007】
本発明の上記態様によれば、温度センサを簡易な構成で電池セルに対して固定することができる。
【図面の簡単な説明】
【0008】
実施形態に係る電池モジュールの分解斜視図である。
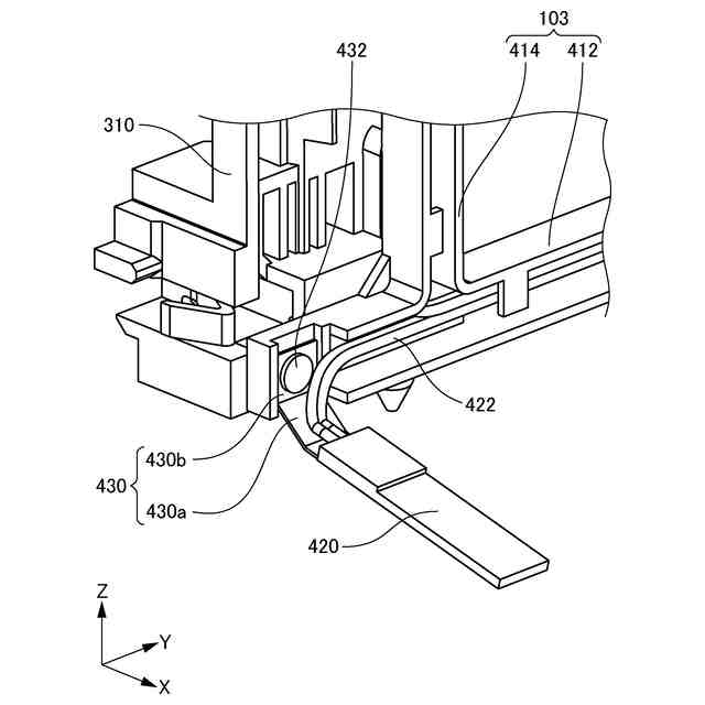
実施形態に係る温度センサ装置を、一部の電池セル、下方カバー、前方電圧検出装置とともに示す後方斜視図である。
実施形態に係る前方電圧検出装置及び温度センサ装置の後方から見たときの左下部分の拡大図である。
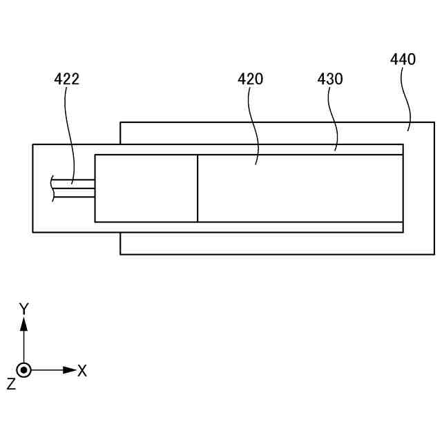
図3に示した温度センサを弾性部材とともに示す平面図である。
図3に示した温度センサを弾性部材とともに示す左側面図である。
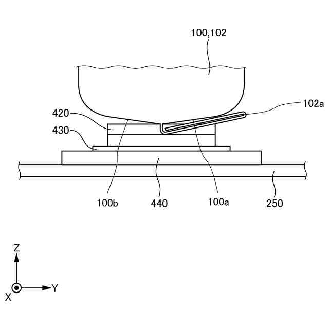
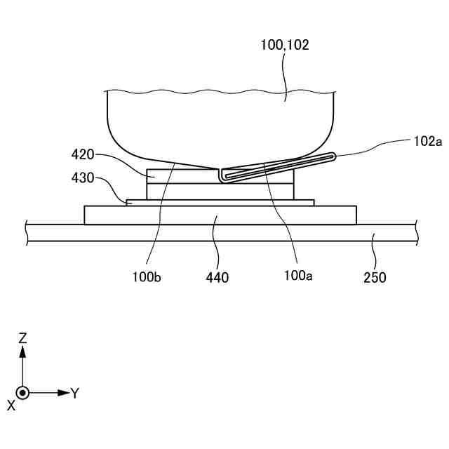
前方電圧検出装置及び温度センサ装置をセル積層体に取り付ける方法を説明するための図である。
前方電圧検出装置及び温度センサ装置をセル積層体に取り付ける方法を説明するための図である。
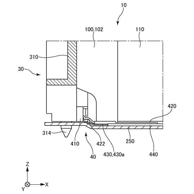
図7に示した状態における電池セル及び下方カバーの間の構造を後方から見た図である。
【発明を実施するための形態】
【0009】
以下、本発明の実施形態について、図面を用いて説明する。すべての図面において、同様な構成要素には同様の符号を付し、適宜説明を省略する。
【0010】
図1は、実施形態に係る電池モジュール1の分解斜視図である。
(【0011】以降は省略されています)
この特許をJ-PlatPat(特許庁公式サイト)で参照する
関連特許
日本精機株式会社
検出装置
15日前
個人
採尿及び採便具
21日前
個人
計量機能付き容器
10日前
個人
アクセサリー型テスター
1か月前
個人
高精度同時多点測定装置
1か月前
甲神電機株式会社
電流検出装置
15日前
株式会社カクマル
境界杭
今日
株式会社ミツトヨ
測定器
27日前
アズビル株式会社
電磁流量計
1か月前
大成建設株式会社
風洞実験装置
10日前
ダイキン工業株式会社
監視装置
1か月前
愛知時計電機株式会社
ガスメータ
27日前
ローム株式会社
半導体装置
1か月前
双庸電子株式会社
誤配線検査装置
16日前
大和製衡株式会社
組合せ計量装置
24日前
ローム株式会社
半導体装置
1か月前
愛知電機株式会社
軸部材の外観検査装置
24日前
大和製衡株式会社
組合せ計量装置
24日前
個人
計量具及び計量機能付き容器
10日前
長崎県
形状計測方法
1か月前
日本特殊陶業株式会社
ガスセンサ
8日前
個人
システム、装置及び実験方法
1か月前
個人
非接触による電磁パルスの測定方法
13日前
日本信号株式会社
距離画像センサ
13日前
日東精工株式会社
振動波形検査装置
16日前
株式会社デンソー
電流センサ
1か月前
日本特殊陶業株式会社
センサ
1か月前
日本特殊陶業株式会社
センサ
27日前
日本特殊陶業株式会社
センサ
1か月前
キーコム株式会社
画像作成システム
今日
日本特殊陶業株式会社
センサ
1か月前
個人
液位検視及び品質監視システム
8日前
日本特殊陶業株式会社
センサ
1か月前
日本特殊陶業株式会社
センサ
1か月前
トヨタ自動車株式会社
測定システム
1か月前
株式会社不二越
X線測定装置
13日前
続きを見る
他の特許を見る