TOP
|
特許
|
意匠
|
商標
特許ウォッチ
Twitter
他の特許を見る
公開番号
2025177057
公報種別
公開特許公報(A)
公開日
2025-12-05
出願番号
2024083554
出願日
2024-05-22
発明の名称
原子炉格納容器内検査作業装置
出願人
株式会社東芝
,
東芝エネルギーシステムズ株式会社
代理人
個人
,
個人
,
個人
,
個人
主分類
G21C
17/013 20060101AFI20251128BHJP(核物理;核工学)
要約
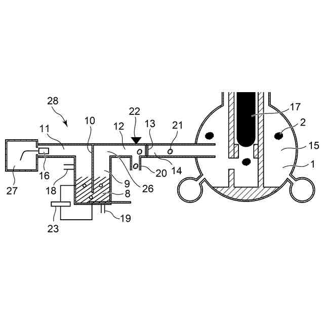
【課題】原子炉格納容器内の浮遊物質の移動を制限しつつ、扉を使うことなく検査作業装置だけを原子炉格納容器内外において行き来させることができる。
【解決手段】原子炉圧力容器17を格納する原子炉格納容器1内で検査作業に使用する原子炉格納容器内検査作業装置28であって、原子炉格納容器1を収容する原子炉建屋3と原子炉格納容器1内とを連通し、水封器8を介して検査作業装置16を投入させる配管26を原子炉格納容器1に接続したことを特徴とする。
【選択図】図1
特許請求の範囲
【請求項1】
原子炉圧力容器を格納する原子炉格納容器内で検査作業に使用する原子炉格納容器内検査作業装置であって、
前記原子炉格納容器を収容する原子炉建屋と前記原子炉格納容器内とを連通し、水封器を介して検査作業装置を投入させる配管を前記原子炉格納容器に接続したことを特徴とする原子炉格納容器内検査作業装置。
続きを表示(約 420 文字)
【請求項2】
前記水封器は、仕切り板が上部に配置され、下部に流路が形成され、液体が前記仕切り板の下端より上に水面を形成して貯留された矩形配管を用いることことを特徴とする請求項1記載の原子炉格納容器内検査作業装置。
【請求項3】
前記水封器の前記原子炉格納容器側に異物回収機構を接続したことを特徴とする請求項1または請求項2記載の原子炉格納容器内検査作業装置。
【請求項4】
前記水封器の前記原子炉格納容器側にベント機構を設置したことを特徴とする請求項1または請求項2記載の原子炉格納容器内検査装置。
【請求項5】
前記水封器には、その底部に水浄化機構を配置したことを特徴とする請求項1または請求項2記載の原子炉格納容器内検査装置。
【請求項6】
前記水封器には、その底部に横スライド式台座を配置したことを特徴とする請求項1または請求項2記載の原子炉格納容器内検査装置。
発明の詳細な説明
【技術分野】
【0001】
本発明の実施形態は、過酷事故後の原子力発電所における原子炉格納容器内検査作業装置に関する。
続きを表示(約 1,400 文字)
【背景技術】
【0002】
炉心溶融等の過酷事故後の原子力発電所において、放射性物質が原子炉格納容器内に存在する。そして、この放射性物質が大気へ拡散しないように、主に原子炉格納容器の壁面を障壁としている。以後、作業空間と外界とで流出あるいは流入を防ぎたい空中浮遊物質を閉じ込める境界についてバウンダリと呼ぶ。
【0003】
他方、廃炉に向けて溶け落ちた燃料デブリ等の取り出し装置や、容器内部の状態調査する遠隔操作型検査作業装置を原子炉格納容器内に進入させる際は、バウンダリを維持する必要がある。具体的には、原子炉格納容器の障壁に対して何らかの方法で検査作業装置収納設備と取り合い、検査作業装置の進入、作業、回収、検査作業装置収納設備切り離しに至るまでの間、バウンダリ状態を維持し続けることが求められる。
【0004】
図6は原子炉格納容器1の内部バウンダリ構造を示す原子炉建屋3の概略断面図である。
【0005】
図6に示すように原子炉圧力容器17を格納する原子炉格納容器1内の浮遊物質2を原子炉建屋3内に流出させないよう、検査作業装置(図示せず)を進入させる必要がある。そのためのバウンダリ構造として、一次バウンダリ4とこの一次バウンダリ4の外側に二次バウンダリ5を設置しており、この一次バウンダリ4には扉6が、二次バウンダリ5には扉7が配置されている。
【0006】
検査作業装置を進入させる際は、一次バウンダリ4の扉6と二次バウンダリ5の扉7のそれぞれを別々に開閉させて二次バウンダリ5から一次バウンダリ4内に侵入させる。この方法で行うことにより、物体が出入りするとき、2つの扉のどちらかが必ず閉まっていることで、原子炉格納容器1と大気が直接繋がらない構造としている。
【先行技術文献】
【特許文献】
【0007】
特開2013-117491号公報
【発明の概要】
【発明が解決しようとする課題】
【0008】
図6に示す原子炉格納容器1内の検査作業装置の例では、検査作業装置を原子炉格納容器1内に進入させる際には、2枚の扉6,7をそれぞれ順次開閉しなくてはならない。片方の扉が完全に閉まった状態を確認した後、もう片方の扉を開く必要があり、これらの制御は複雑である。そのため、片方の扉が完全にしまっていない状態でもう片方の扉を開いてしまうヒューマンエラーが発生する可能性があった。
【課題を解決するための手段】
【0009】
上記実施形態に係る原子炉格納容器内検査作業装置は、原子炉圧力容器を格納する原子炉格納容器内で検査作業に使用する原子炉格納容器内検査作業装置であって、前記原子炉格納容器を収容する原子炉建屋と前記原子炉格納容器とを連通し、水封器を介して検査作業装置を投入させる配管を前記原子炉格納容器に接続したことを特徴とする。
【発明の効果】
【0010】
本発明の実施形態は、上述した課題を解決するためになされたものであり、水封器によって、原子炉格納容器内の浮遊物質の移動を制限しつつ、扉を使うことなく検査作業装置だけを原子炉格納容器内外において行き来させることができる。
【図面の簡単な説明】
(【0011】以降は省略されています)
この特許をJ-PlatPat(特許庁公式サイト)で参照する
関連特許
株式会社東芝
電子源
1日前
株式会社東芝
半導体装置
1日前
株式会社東芝
半導体装置
2日前
株式会社東芝
半導体装置
16日前
株式会社東芝
半導体装置
2日前
株式会社東芝
真空バルブ
2日前
株式会社東芝
半導体装置
1日前
株式会社東芝
半導体装置
8日前
株式会社東芝
ディスク装置
29日前
株式会社東芝
光電流センサ
2日前
株式会社東芝
電気化学装置
1日前
株式会社東芝
半導体デバイス
2日前
株式会社東芝
半導体デバイス
2日前
株式会社東芝
パワーモジュール
22日前
株式会社東芝
パワーモジュール
22日前
株式会社東芝
地熱発電システム
8日前
株式会社東芝
磁気ディスク装置
3日前
株式会社東芝
原子力設備冠水方法
1日前
株式会社東芝
センサ及び電子装置
3日前
株式会社東芝
踏板フレーム及び踏板
8日前
株式会社東芝
ウエーハ及び半導体装置
9日前
株式会社東芝
ウエーハ及び半導体装置
9日前
株式会社東芝
流路板及び電気化学セル
16日前
株式会社東芝
電源装置及び電源制御方法
8日前
株式会社東芝
駆動回路、および半導体装置
24日前
株式会社東芝
駆動回路、および半導体装置
24日前
株式会社東芝
半導体装置及びその製造方法
3日前
株式会社東芝
情報処理装置、およびシステム
8日前
株式会社東芝
情報処理方法及び情報処理装置
1か月前
株式会社東芝
原子炉格納容器内検査作業装置
1日前
株式会社東芝
回転体のシールフィンの補修方法
1日前
株式会社東芝
領域抽出装置、方法及びプログラム
16日前
株式会社東芝
情報処理プログラム及び情報処理装置
8日前
株式会社東芝
交通管制装置、および、交通管制方法
1日前
株式会社東芝
電子源、電子装置、及び、電子放出方法
1日前
株式会社東芝
電極、二次電池、電池パック、及び車両
29日前
続きを見る
他の特許を見る