TOP
|
特許
|
意匠
|
商標
特許ウォッチ
Twitter
他の特許を見る
10個以上の画像は省略されています。
公開番号
2025177737
公報種別
公開特許公報(A)
公開日
2025-12-05
出願番号
2024084807
出願日
2024-05-24
発明の名称
電子源、電子装置、及び、電子放出方法
出願人
株式会社東芝
代理人
弁理士法人iX
主分類
H01J
1/34 20060101AFI20251128BHJP(基本的電気素子)
要約
【課題】特性を向上可能な電子源、電子装置、及び、電子放出方法を提供する。
【解決手段】実施形態によれば、電子源は、第1部材、第1発光部及び第2発光部を含む。前記第1部材は、In
x
Al
y
Ga
1-x-y
N(0≦x≦1、0≦y≦1、x+y≦1)を含む第1領域と、ダイヤモンドを含む第2領域と、を含む。前記第1発光部は、前記第1部材に、第1ピーク波長を有する第1光を入射するように構成される。前記第2発光部は、前記第1部材に、前記第1ピーク波長よりも短い第2ピーク波長を有する第2光を入射するように構成される。
【選択図】図1
特許請求の範囲
【請求項1】
In
x
Al
y
Ga
1-x-y
N(0≦x≦1、0≦y≦1、x+y≦1)を含む第1領域と、ダイヤモンドを含む第2領域と、を含む第1部材と、
前記第1部材に、第1ピーク波長を有する第1光を入射するように構成された第1発光部と、
前記第1部材に、前記第1ピーク波長よりも短い第2ピーク波長を有する第2光を入射するように構成された第2発光部と、
を備えた電子源。
続きを表示(約 1,200 文字)
【請求項2】
前記第2発光部は、第1方向において、前記第1発光部と前記第2領域との間に設けられ、
前記第1領域は、前記第1方向において、前記第2発光部と前記第2領域との間に設けられた、請求項1に記載の電子源。
【請求項3】
前記第1発光部は、前記第1光を出射するように構成された複数の発光領域を含み、
前記複数の発光領域は、前記第1方向と交差する第1平面に沿って2次元的に並ぶ、請求項2に記載の電子源。
【請求項4】
前記複数の発光領域の少なくとも一部は、面発光レーザを含む、請求項3に記載の電子源。
【請求項5】
前記第1部材は、第1部分領域及び第2部分領域を含み、
前記複数の発光領域は、第1発光領域と第2発光領域とを含み、
前記第1部分領域は、前記第1方向において前記第1発光領域と重なり、
前記第2部分領域は、前記第1方向において前記第2発光領域と重なり、
第1動作において、前記第1発光領域から前記第1光が出射し、前記第1部分領域から電子が放出され、
第2動作において、前記第2発光領域から前記第1光が出射し、前記第2部分領域から電子が放出される、請求項2に記載の電子源。
【請求項6】
前記第2領域は、島状または網目状である、請求項1~5のいずれか1つに記載の電子源。
【請求項7】
前記第2領域は、ホウ素及びアルミニウムよりなる群から選択された少なくとも1つを含む、請求項1に記載の電子源。
【請求項8】
第1領域と、第2領域と、を含む第1部材と、
前記第1部材に、第1ピーク波長を有する第1光を入射するように構成された第1発光部と、
前記第1部材に、前記第1ピーク波長よりも短い第2ピーク波長を有する第2光を入射するように構成された第2発光部と、
を備え、
前記第2領域の第2伝導帯エネルギーは、前記第1領域の第1伝導帯エネルギーよりも高く、
前記第1光の第1エネルギーは、前記第2伝導帯エネルギーと前記第1伝導帯エネルギーとの差の絶対値よりも大きく、
前記第2光の第2エネルギーは、前記第1領域のバンドギャップエネルギーよりも大きい、電子源。
【請求項9】
請求項1に記載の電子源と、
前記電子源を制御するように構成された制御回路と、
を備えた電子装置。
【請求項10】
In
x
Al
y
Ga
1-x-y
N(0≦x≦1、0≦y≦1、x+y≦1)を含む第1領域と、ダイヤモンドを含む第2領域と、を含む第1部材に、第1光及び第2光を入射させて前記第1部材から電子を放出させ、
前記第1光は、第1ピーク波長を有し、
前記第2光は、前記第1ピーク波長よりも短い第2ピーク波長を有する、電子放出方法。
発明の詳細な説明
【技術分野】
【0001】
本発明の実施形態は、電子源、電子装置、及び、電子放出方法に関する。
続きを表示(約 1,300 文字)
【背景技術】
【0002】
例えば、電子源から放出された電子が各種の電子装置に応用される。電子源において特性の向上が望まれる。
【先行技術文献】
【特許文献】
【0003】
特許第3762535号公報
【発明の概要】
【発明が解決しようとする課題】
【0004】
本発明の実施形態は、特性を向上可能な電子源、電子装置、及び、電子放出方法を提供する。
【課題を解決するための手段】
【0005】
本発明の実施形態によれば、電子源は、第1部材、第1発光部及び第2発光部を含む。前記第1部材は、In
x
Al
y
Ga
1-x-y
N(0≦x≦1、0≦y≦1、x+y≦1)を含む第1領域と、ダイヤモンドを含む第2領域と、を含む。前記第1発光部は、前記第1部材に、第1ピーク波長を有する第1光を入射するように構成される。前記第2発光部は、前記第1部材に、前記第1ピーク波長よりも短い第2ピーク波長を有する第2光を入射するように構成される。
【図面の簡単な説明】
【0006】
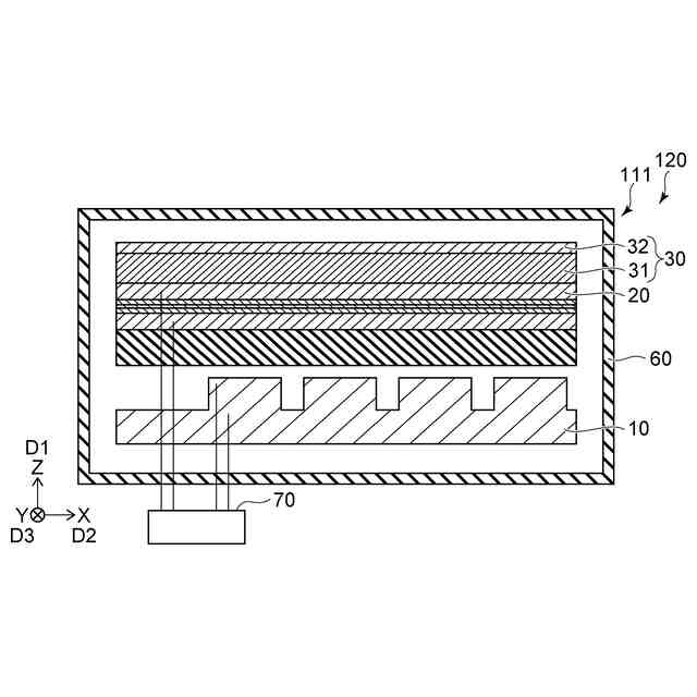
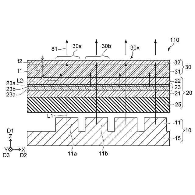
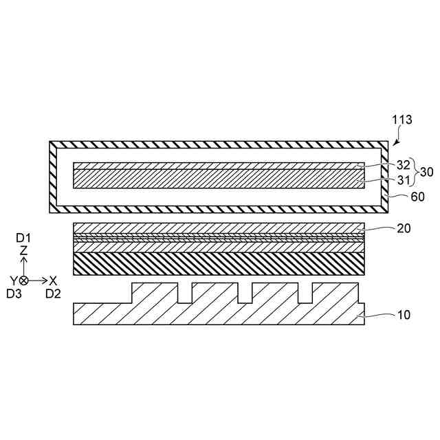
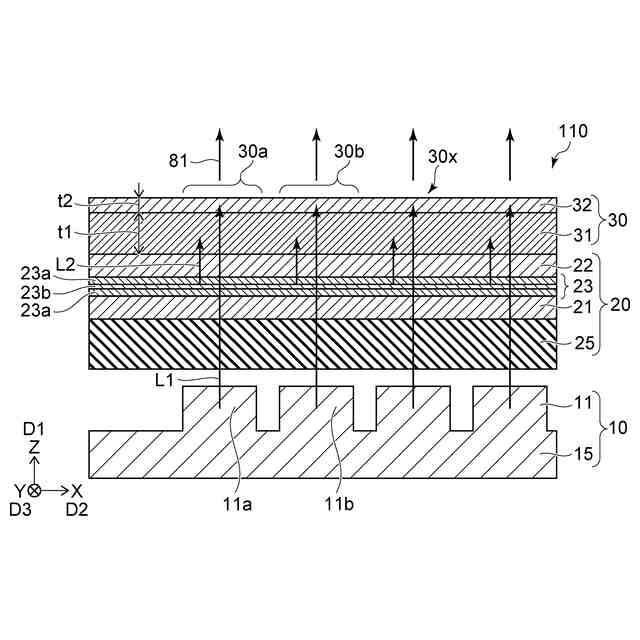
図1は、第1実施形態に係る電子源を例示する模式的断面図である。
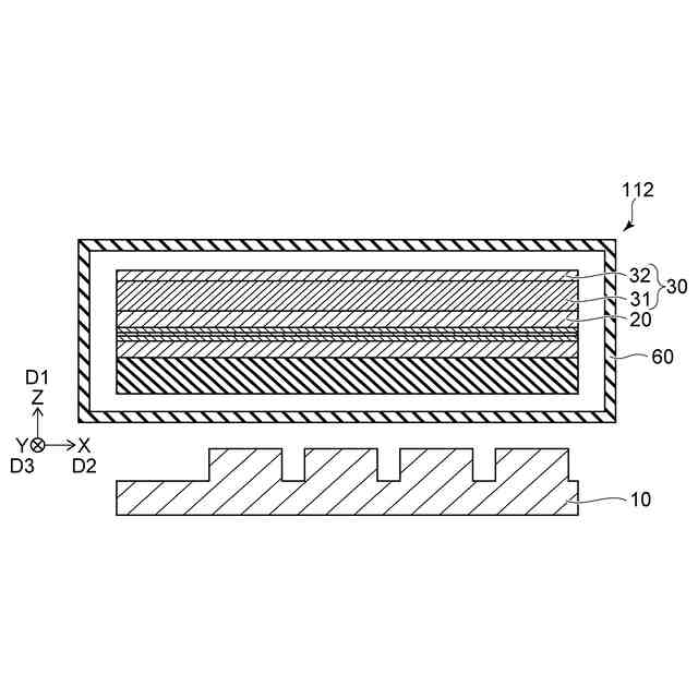
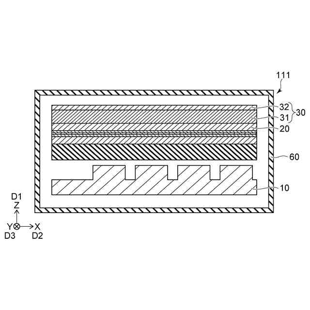
図2は、第1実施形態に係る電子源の一部を例示する模式的断面図である。
図3は、第1実施形態に係る電子源の一部を例示する模式的断面図である。
図4は、第1実施形態に係る電子源の一部を例示する模式的断面図である。
図5は、第1実施形態に係る電子源を例示する模式図である。
図6は、第1実施形態に係る電子源を例示する模式的断面図である。
図7は、第1実施形態に係る電子源を例示する模式的断面図である。
図8は、第1実施形態に係る電子源を例示する模式的断面図である。
図9は、第2実施形態に係る電子装置を例示する模式図である。
【発明を実施するための形態】
【0007】
以下に、本発明の実施形態について図面を参照しつつ説明する。
図面は模式的または概念的なものであり、各部分の厚さと幅との関係、部分間の大きさの比率などは、必ずしも現実のものと同一とは限らない。同じ部分を表す場合であっても、図面により互いの寸法や比率が異なって表される場合もある。
本願明細書と各図において、既出の図に関して前述したものと同様の要素には同一の符号を付して詳細な説明は適宜省略する。
【0008】
(第1実施形態)
【0009】
図1は、第1実施形態に係る電子源を例示する模式的断面図である。
図2は、第1実施形態に係る電子源の一部を例示する模式的断面図である。
図1は、図2のA1-A2線断面図に対応する。
【0010】
図1に示すように、実施形態に係る電子源110は、第1部材30、第1発光部10及び第2発光部20を含む。図2は、第1発光部10の平面パターンを例示している。
(【0011】以降は省略されています)
この特許をJ-PlatPat(特許庁公式サイト)で参照する
関連特許
株式会社東芝
端子台
1か月前
株式会社東芝
センサ
3か月前
株式会社東芝
センサ
2か月前
株式会社東芝
固定子
3か月前
株式会社東芝
センサ
2か月前
株式会社東芝
電子源
2日前
株式会社東芝
モータ
2か月前
株式会社東芝
電子装置
1か月前
株式会社東芝
金型構造
2か月前
株式会社東芝
電子回路
1か月前
株式会社東芝
除去装置
1か月前
株式会社東芝
電子装置
2か月前
株式会社東芝
吸音装置
2か月前
株式会社東芝
粒子加速器
2か月前
株式会社東芝
半導体装置
2日前
株式会社東芝
半導体装置
2か月前
株式会社東芝
半導体装置
2か月前
株式会社東芝
半導体装置
1か月前
株式会社東芝
半導体装置
2か月前
株式会社東芝
半導体装置
2か月前
株式会社東芝
半導体装置
17日前
株式会社東芝
半導体装置
2か月前
株式会社東芝
半導体装置
2か月前
株式会社東芝
半導体装置
1か月前
株式会社東芝
半導体装置
1か月前
株式会社東芝
半導体装置
1か月前
株式会社東芝
半導体装置
1か月前
株式会社東芝
高周波回路
1か月前
株式会社東芝
半導体装置
1か月前
株式会社東芝
半導体装置
1か月前
株式会社東芝
真空バルブ
1か月前
株式会社東芝
半導体装置
1か月前
株式会社東芝
半導体装置
1か月前
株式会社東芝
半導体装置
9日前
株式会社東芝
半導体装置
1か月前
株式会社東芝
真空バルブ
1か月前
続きを見る
他の特許を見る