TOP
|
特許
|
意匠
|
商標
特許ウォッチ
Twitter
他の特許を見る
公開番号
2025177683
公報種別
公開特許公報(A)
公開日
2025-12-05
出願番号
2024084730
出願日
2024-05-24
発明の名称
交通管制装置、および、交通管制方法
出願人
株式会社東芝
代理人
弁理士法人酒井国際特許事務所
主分類
G08G
1/09 20060101AFI20251128BHJP(信号)
要約
【課題】道路について積雪による立ち往生車両等の発生の可能性を低減する。
【解決手段】実施形態の交通管制装置は、車両が走行する道路の所定の区間について、降雪予報、および、雪に関連する所定の情報を取得する取得部と、前記区間について、前記降雪予報が無い場合に、前記所定の情報に基づいて、降雪の予兆を検出する検出部と、前記検出部によって降雪の予兆が検出された場合に、雪に関する注意喚起情報を、前記道路に設置された道路情報板に表示させる表示制御部と、を備える。
【選択図】図4
特許請求の範囲
【請求項1】
車両が走行する道路の所定の区間について、降雪予報、および、雪に関連する所定の情報を取得する取得部と、
前記区間について、前記降雪予報が無い場合に、前記所定の情報に基づいて、降雪の予兆を検出する検出部と、
前記検出部によって降雪の予兆が検出された場合に、雪に関する注意喚起情報を、前記道路に設置された道路情報板に表示させる表示制御部と、を備える交通管制装置。
続きを表示(約 710 文字)
【請求項2】
前記表示制御部は、前記検出部によって検出された降雪の予兆の程度に応じた段階的な前記注意喚起情報を前記道路情報板に表示させる、請求項1に記載の交通管制装置。
【請求項3】
前記取得部は、前記区間について、前記所定の情報として、気温、降雨の有無、降雪の有無、周辺の降雪の有無、風向、低気圧の発達の有無のうち少なくともいずれかの情報を取得する、請求項1に記載の交通管制装置。
【請求項4】
前記取得部は、前記区間について、車両の交通状況データを取得し、
前記交通管制装置は、
前記交通状況データに基づいて、車両が前記区間を走行するためにかかる時間である区間所要時間を算出する算出部と、
前記区間所要時間を、予め定められた混雑基準値、および、渋滞基準値のそれぞれと比較する比較部と、をさらに備え、
前記表示制御部は、前記注意喚起情報を前記道路情報板に表示させる場合に、前記比較部による比較結果に応じた前記注意喚起情報を前記道路情報板に表示させる、請求項1に記載の交通管制装置。
【請求項5】
取得部が、車両が走行する道路の所定の区間について、降雪予報、および、雪に関連する所定の情報を取得する取得ステップと、
検出部が、前記区間について、前記降雪予報が無い場合に、前記所定の情報に基づいて、降雪の予兆を検出する検出ステップと、
表示制御部が、前記検出ステップによって降雪の予兆が検出された場合に、雪に関する注意喚起情報を、前記道路に設置された道路情報板に表示させる表示制御ステップと、を含む交通管制方法。
発明の詳細な説明
【技術分野】
【0001】
本発明の実施形態は、交通管制装置、および、交通管制方法に関する。
続きを表示(約 1,400 文字)
【背景技術】
【0002】
従来から、車両が走行する道路について、積雪による立ち往生車両や放置車両(以下、「立ち往生車両等」という。)が発生すると、除雪車両が除雪対象区間に到達するのが遅くなること等により、効率的な除雪作業を行えない場合がある。そうすると、さらなる積雪量の増加を招くことによって大規模な車両滞留が発生してしまう、という可能性がある。
【0003】
そのため、道路管理者は、例えば、道路が含まれるエリアについて降雪予報があった場合には、雪に関する注意喚起情報を、道路に設置された道路情報板に表示させることで、車両の運転者に注意喚起している。注意喚起情報としては、例えば、雪対策タイヤ(スタッドレスタイヤ、スノータイヤ、チェーン装着タイヤ等。以下、「冬用タイヤ」ともいう。)を使用している車両以外の車両は道路の所定区間への進入を禁止することや、このあと積雪による通行止めの可能性があることなどが挙げられる。
【先行技術文献】
【特許文献】
【0004】
特開2023-16282号公報
特開2024-4031号公報
特許第6610669号公報
【発明の概要】
【発明が解決しようとする課題】
【0005】
ところで、以前から、地球温暖化の影響の一つとして、気象現象の極端化が指摘されている。冬季の降雪や積雪についても例外ではなく、短期集中的な降雪やそれによる積雪の増加が考えられる。
【0006】
よって、これまでのように、降雪予報が出されてから車両の運転者に注意喚起するという手法は、立ち往生車両等の発生の防止や低減という観点で充分とは言えず、改善の余地がある。
【0007】
そこで、本発明の実施形態は、上述の事情に鑑みてなされたものであり、道路について積雪による立ち往生車両等の発生の可能性を低減することができる交通管制装置、および、交通管制方法を提供することである。
【課題を解決するための手段】
【0008】
実施形態の交通管制装置は、車両が走行する道路の所定の区間について、降雪予報、および、雪に関連する所定の情報を取得する取得部と、前記区間について、前記降雪予報が無い場合に、前記所定の情報に基づいて、降雪の予兆を検出する検出部と、前記検出部によって降雪の予兆が検出された場合に、雪に関する注意喚起情報を、前記道路に設置された道路情報板に表示させる表示制御部と、を備える。
【図面の簡単な説明】
【0009】
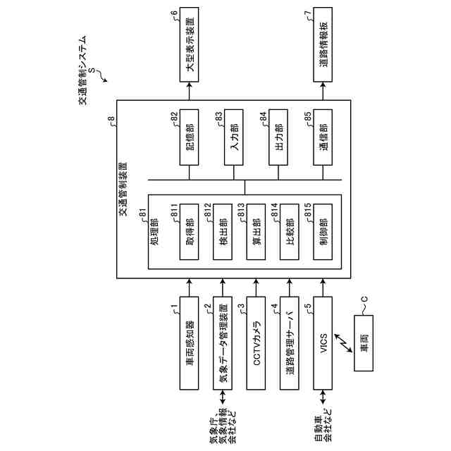
図1は、実施形態における高速道路を模式的に示す図である。
図2は、実施形態の交通管制システムの全体構成を示す機能ブロック図である。
図3は、実施形態における状況ごとの表示例を示す表である。
図4は、実施形態における状況ごとの表示例を示す表である。
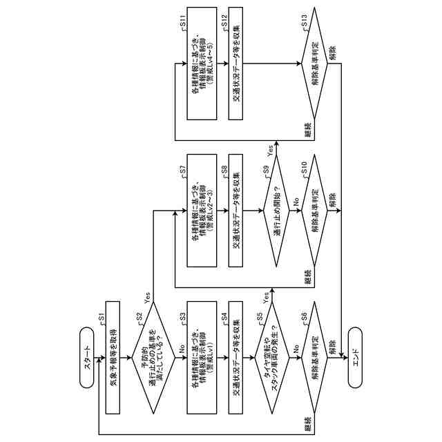
図5は、実施形態の交通管制装置が実行する処理を示すフローチャートである。
【発明を実施するための形態】
【0010】
以下、本発明の交通管制システム、および、交通管制方法の実施形態について、図面を参照して説明する。以下の実施形態では、道路として、高速道路を例にとって説明する。
(【0011】以降は省略されています)
この特許をJ-PlatPat(特許庁公式サイト)で参照する
関連特許
株式会社東芝
電子源
2日前
株式会社東芝
センサ
2か月前
株式会社東芝
モータ
2か月前
株式会社東芝
センサ
2か月前
株式会社東芝
端子台
1か月前
株式会社東芝
電子回路
1か月前
株式会社東芝
金型構造
2か月前
株式会社東芝
電子装置
1か月前
株式会社東芝
電子装置
2か月前
株式会社東芝
除去装置
1か月前
株式会社東芝
吸音装置
2か月前
株式会社東芝
高周波回路
1か月前
株式会社東芝
半導体装置
1か月前
株式会社東芝
半導体装置
1か月前
株式会社東芝
半導体装置
1か月前
株式会社東芝
半導体装置
1か月前
株式会社東芝
半導体装置
2か月前
株式会社東芝
半導体装置
2か月前
株式会社東芝
半導体装置
1か月前
株式会社東芝
半導体装置
9日前
株式会社東芝
半導体装置
1か月前
株式会社東芝
真空バルブ
1か月前
株式会社東芝
半導体装置
1か月前
株式会社東芝
半導体装置
17日前
株式会社東芝
半導体装置
2か月前
株式会社東芝
粒子加速器
2か月前
株式会社東芝
半導体装置
1か月前
株式会社東芝
半導体装置
2日前
株式会社東芝
半導体装置
2か月前
株式会社東芝
半導体装置
1か月前
株式会社東芝
半導体装置
1か月前
株式会社東芝
半導体装置
1か月前
株式会社東芝
半導体装置
2か月前
株式会社東芝
半導体装置
1か月前
株式会社東芝
半導体装置
1か月前
株式会社東芝
半導体装置
2か月前
続きを見る
他の特許を見る