TOP
|
特許
|
意匠
|
商標
特許ウォッチ
Twitter
他の特許を見る
10個以上の画像は省略されています。
公開番号
2025175391
公報種別
公開特許公報(A)
公開日
2025-12-03
出願番号
2024081469
出願日
2024-05-20
発明の名称
半導体装置及びその製造方法
出願人
株式会社東芝
,
東芝デバイス&ストレージ株式会社
代理人
個人
主分類
H01L
21/60 20060101AFI20251126BHJP(基本的電気素子)
要約
【課題】チップへのダメージを低減し信頼性を向上することが可能な半導体装置を提供することである。
【解決手段】実施形態の半導体装置は、基板と、基板の上に設けられた第1電極と、前記基板の上に、前記第1電極と離間して設けられた第2電極と、前記第1電極と前記第2電極を接続するシート状の導電シートと、を有し、前記導電シートは、前記第1電極と接続する第1接合部と、前記第2電極と接続する第2接合部と、前記第1接合部と前記第2接合部の間に位置し、前記基板から前記第1電極に向かう第1方向における長さが前記第1接合部の前記第1方向における長さよりも大きく、前記第1接合部の側の第1端において前記第1接合部に向かう方向に凸形状を有する配線部と、を有する。
【選択図】 図2
特許請求の範囲
【請求項1】
基板と、
前記基板の上に設けられた第1電極と、
前記基板の上に、前記第1電極と離間して設けられた第2電極と、
前記第1電極と前記第2電極を接続するシート状の導電シートと、
を有し、
前記導電シートは、
前記第1電極と接続する第1接合部と、
前記第2電極と接続する第2接合部と、
前記第1接合部と前記第2接合部の間に位置し、前記基板から前記第1電極に向かう第1方向における長さが前記第1接合部の前記第1方向における長さよりも大きく、前記第1接合部の側の第1端において前記第1接合部に向かう方向に凸形状を有する配線部と、
を有する、
半導体装置。
続きを表示(約 1,300 文字)
【請求項2】
前記第1電極と前記第2電極は、前記第1方向と交差する第1平面内の第2方向において離間しており、
前記導電シートは、前記第2方向に延伸し、前記第1平面において前記第2方向と交差する第3方向に並んで複数設けられた、
請求項1に記載の半導体装置。
【請求項3】
前記配線部は、前記第2接合部の前記第1方向における長さよりも前記第1方向における長さが大きく、前記第2接合部の側の第2端において、前記第2接合部から前記配線部へと向かう方向に凹形状を有する、
請求項2に記載の半導体装置。
【請求項4】
前記配線部の前記第1端は弧状であり、前記第1端の曲率中心は前記第1端に対して前記配線部の側に位置する、
請求項2に記載の半導体装置。
【請求項5】
前記第1接合部の前記第2方向の長さLb1と、前記第3方向に並ぶ前記導電シートの間の間隔Spxは、Spx≧Lb1/5を満たす、
請求項2に記載の半導体装置。
【請求項6】
前記第1接合部に連続し、前記第1接合部に対して前記配線部と反対の方向に形成され、前記第1接合部の前記第1方向における長さよりも前記第1方向における長さが大きい端部をさらに有する、
請求項2に記載の半導体装置。
【請求項7】
前記端部の前記第1接合部の側の第3端は、前記第1接合部から前記端部へと向かう方向に凹形状を有する、
請求項6に記載の半導体装置。
【請求項8】
前記第1電極と前記第2電極は、前記第1方向と交差する第1平面内の第2方向において離間しており、
前記導電シートは、前記第2方向に延伸した第1導電シート及び第2導電シートを含み、
前記第1導電シートの前記第1接合部と、前記第2導電シートの前記第1接合部と、は前記第2方向において離間して設けられる、
請求項1に記載の半導体装置。
【請求項9】
前記第1電極及び前記第2電極は、複数のトランジスタそれぞれの上面に設けられたソース電極であり、
前記複数のトランジスタのそれぞれは、前記ソース電極と離間して、前記トランジスタの前記上面に設けられたゲート電極と、前記トランジスタの下面に設けられたドレイン電極と、を有し、
前記ドレイン電極は、それぞれ端子に接続され、
前記ゲート電極は、たがいに接続された、
請求項1乃至8のいずれか1項に記載の半導体装置。
【請求項10】
弧状の部分を有する孔にシート状の導電シートが充填されたキャピラリーを第1電極に向かって移動させ、前記導電シートと前記第1電極を接続して第1接合部を形成する工程と、
前記キャピラリーを第2電極に向かって移動させ、配線部を形成する工程と、
前記導電シートと前記第2電極を接続して第2接合部を形成する工程と、
前記導電シートを切り離す工程と、
を備えた半導体装置の製造方法。
(【請求項11】以降は省略されています)
発明の詳細な説明
【技術分野】
【0001】
本発明の実施形態は、半導体装置及びその製造方法に関する。
続きを表示(約 1,700 文字)
【背景技術】
【0002】
ボールボンディングにより電極にワイヤを接続した半導体装置が知られている。線径の太いワイヤに対しては、ウェッジボンディングにより接続する方法が知られている。また、ウェッジボンディングにより導電シートCSを接続した半導体装置が知られている。
【先行技術文献】
【特許文献】
【0003】
特開2024-022890号公報
特許第7293142号公報
【発明の概要】
【発明が解決しようとする課題】
【0004】
本発明が解決しようとする課題は、チップへのダメージを低減し信頼性を向上することが可能な半導体装置を提供することである。
【課題を解決するための手段】
【0005】
実施形態の半導体装置は、基板と、基板の上に設けられた第1電極と、前記基板の上に、前記第1電極と離間して設けられた第2電極と、前記第1電極と前記第2電極を接続するシート状の導電シートと、を有し、前記導電シートは、前記第1電極と接続する第1接合部と、前記第2電極と接続する第2接合部と、前記第1接合部と前記第2接合部の間に位置し、前記基板から前記第1電極に向かう第1方向における長さが前記第1接合部の前記第1方向における長さよりも大きく、前記第1接合部の側の第1端において前記第1接合部に向かう方向に凸形状を有する配線部と、を有する。
【0006】
実施形態の半導体装置の製造方法は、弧状の部分を有する孔にシート状の導電シートが充填されたキャピラリーを第1電極に向かって移動させ、前記導電シートと前記第1電極を接続して第1接合部を形成する工程と、前記キャピラリーを第2電極に向かって移動させ、配線部を形成する工程と、前記導電シートと前記第2電極を接続して第2接合部を形成する工程と、前記導電シートを切り離す工程と、を備える。
【図面の簡単な説明】
【0007】
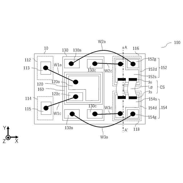
第1実施形態に係る半導体装置の回路構成の一例を示す図である。
第1実施形態に係る半導体装置の上面図である。
図2に示したA-A′線に沿った断面図である。
電極と導電シートの接合部を拡大した断面図である。
電極と導電シートの接合部を拡大した上面図である。
電極と導電シートの接合部を拡大した上面図である。
第2実施形態に係る半導体装置の断面図である。
第2実施形態に係る半導体装置の電極と導電シートの接合部を拡大した上面図である。
キャピラリーから導電シートが吐出されている状態を表す図である。
キャピラリーを下降させ、導電シートと電極を接続する工程を表す図である。
キャピラリーを上昇させる工程を表す図である。
配線部を形成する工程を表す図である。
キャピラリーによる接続の工程を説明する断面図である。
配線部を形成した後のキャピラリーを表す図である。
キャピラリーを下降させ、導電シートと電極を接続する工程を表す図である。
キャピラリーを上昇させる工程を表す図である。
キャピラリーを移動させる工程を表す図である。
導電シートを切り離す工程を表す図である。
【発明を実施するための形態】
【0008】
以下に、本発明の各実施の形態について図面を参照しつつ説明する。
【0009】
なお、図面は模式的または概念的なものであり、各部分の厚みと幅との関係、部分間の大きさの比率などは、必ずしも現実のものと同一とは限らない。また、同じ部分を表す場合であっても、図面により互いの寸法や比率が異なって表される場合もある。
【0010】
ソース電極154sから接合部Jsへ向かう方向をZ方向(第1方向)とする。また、Z方向と直交する方向をX方向(第2方向)、X方向及びZ方向と交差する方向をY方向(第3方向)とする。なお、X方向、Y方向及びZ方向は本実施形態では直交関係で示しているが、直交に限定されずたがいに交差する関係であればよい。
(【0011】以降は省略されています)
この特許をJ-PlatPat(特許庁公式サイト)で参照する
関連特許
株式会社東芝
モータ
2か月前
株式会社東芝
電子源
今日
株式会社東芝
端子台
1か月前
株式会社東芝
センサ
2か月前
株式会社東芝
センサ
2か月前
株式会社東芝
電子回路
1か月前
株式会社東芝
吸音装置
2か月前
株式会社東芝
電子装置
1か月前
株式会社東芝
電子装置
2か月前
株式会社東芝
金型構造
2か月前
株式会社東芝
除去装置
29日前
株式会社東芝
半導体装置
1か月前
株式会社東芝
半導体装置
1か月前
株式会社東芝
半導体装置
1か月前
株式会社東芝
半導体装置
1か月前
株式会社東芝
半導体装置
2か月前
株式会社東芝
高周波回路
1か月前
株式会社東芝
半導体装置
1か月前
株式会社東芝
真空バルブ
1か月前
株式会社東芝
半導体装置
2か月前
株式会社東芝
半導体装置
15日前
株式会社東芝
半導体装置
7日前
株式会社東芝
半導体装置
2か月前
株式会社東芝
半導体装置
2か月前
株式会社東芝
半導体装置
2か月前
株式会社東芝
半導体装置
2か月前
株式会社東芝
半導体装置
2か月前
株式会社東芝
半導体装置
今日
株式会社東芝
粒子加速器
2か月前
株式会社東芝
半導体装置
1か月前
株式会社東芝
半導体装置
1か月前
株式会社東芝
半導体装置
今日
株式会社東芝
半導体装置
1か月前
株式会社東芝
半導体装置
1か月前
株式会社東芝
半導体装置
1か月前
株式会社東芝
半導体装置
1か月前
続きを見る
他の特許を見る