TOP
|
特許
|
意匠
|
商標
特許ウォッチ
Twitter
他の特許を見る
10個以上の画像は省略されています。
公開番号
2025176912
公報種別
公開特許公報(A)
公開日
2025-12-05
出願番号
2024083307
出願日
2024-05-22
発明の名称
原子力設備冠水方法
出願人
株式会社東芝
,
東芝エネルギーシステムズ株式会社
代理人
弁理士法人東京国際特許事務所
主分類
G21C
9/00 20060101AFI20251128BHJP(核物理;核工学)
要約
【課題】過酷事故に見舞われた原子力設備の少なくとも一部を冠水させて、水で放射線を遮蔽し、水中環境での作業を実現する。
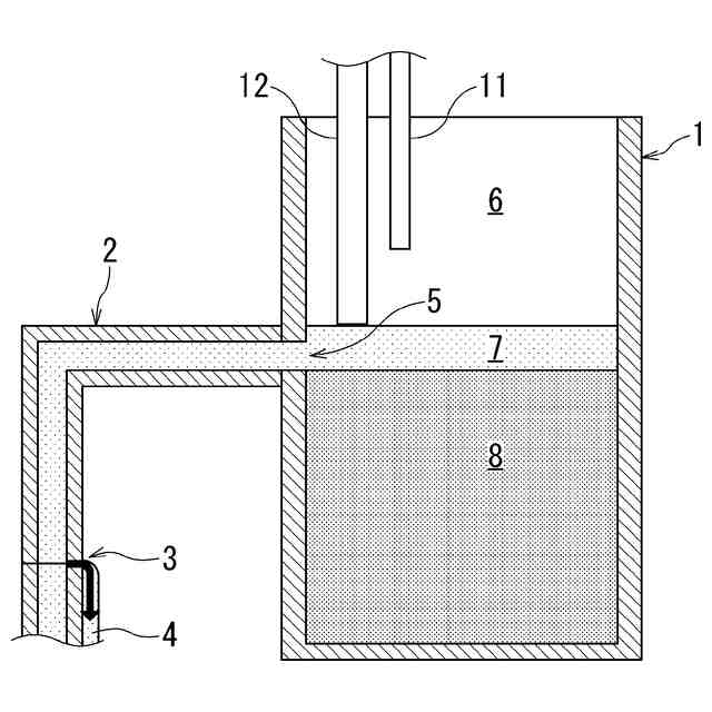
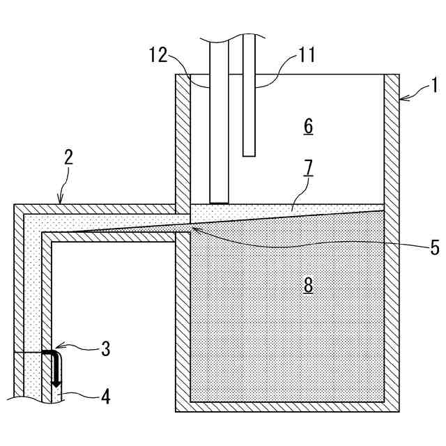
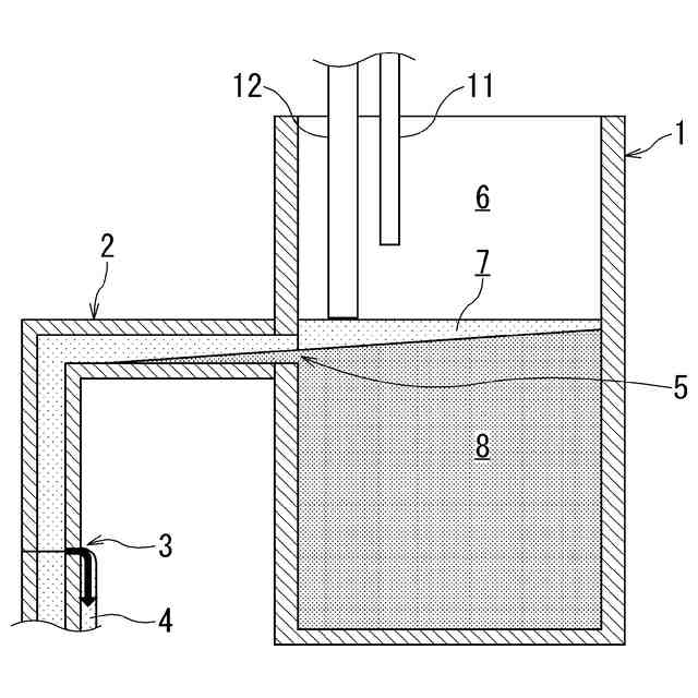
【解決手段】原子力設備冠水方法は、過酷事故により燃料デブリが生じた原子力設備に関連する区画であり、貯水が可能な貯水区画に通じる水の流通流路に水の漏洩箇所が存在しているときに、少なくとも1種の特定物を貯水区画から漏洩箇所までの間に用いて漏洩箇所を止水する止水構造を構築し、貯水区画に水を導入して原子力設備の少なくとも一部を冠水させる。
【選択図】図3
特許請求の範囲
【請求項1】
過酷事故により燃料デブリが生じた原子力設備に関連する区画であり、貯水が可能な貯水区画に通じる水の流通流路に水の漏洩箇所が存在しているときに、少なくとも1種の特定物を前記貯水区画から前記漏洩箇所までの間に用いて前記漏洩箇所を止水する止水構造を構築し、
前記貯水区画に水を導入して前記原子力設備の少なくとも一部を冠水させる、
原子力設備冠水方法。
続きを表示(約 1,000 文字)
【請求項2】
前記特定物は、少なくとも前記水よりも比重が大きい微粒子を含む微粒子分散液を含む、
請求項1に記載の原子力設備冠水方法。
【請求項3】
前記微粒子は、加重材として少なくともバライトを含み、かつ増粘剤として少なくともベントナイトを含む、
請求項2に記載の原子力設備冠水方法。
【請求項4】
前記微粒子は、バライト、ベントナイト、高分子ポリマー、核種吸着材、ホウ酸のうちの2種類以上を含み、異なる粒子径を有する前記微粒子の組み合わせとなっている、
請求項2に記載の原子力設備冠水方法。
【請求項5】
前記漏洩箇所に関連する前記原子力設備の内部空間に、前記漏洩箇所よりも高くなるまで前記微粒子を堆積させた微粒子堆積層を形成する、
請求項2に記載の原子力設備冠水方法。
【請求項6】
前記内部空間に、前記微粒子と補助堆積物とを交互に投入し、
前記微粒子の層と前記補助堆積物の層とが交互に堆積した多層の前記微粒子堆積層を形成する、
請求項5に記載の原子力設備冠水方法。
【請求項7】
前記補助堆積物は、治工具、干渉材、重泥水、コンクリート、グラウト、モルタル、樹脂、充填材、緩衝材、ゼオライト吸着材、チタン酸塩吸着材、チタンケイ酸塩材、中性子吸収材、切断片、切粉、ノロ、ドロス、スパッタ、アブレイシブ、砂、移動ロボットの少なくともいずれかを含む、
請求項6に記載の原子力設備冠水方法。
【請求項8】
前記特定物は、水の流れの妨げとなる障害物と、少なくとも前記水よりも比重が大きい微粒子を含む微粒子分散液と含み、
前記障害物を用いて前記流通流路を狭隘にし、
前記微粒子分散液を用いて前記止水構造を構築する、
請求項1に記載の原子力設備冠水方法。
【請求項9】
前記特定物は、前記流通流路に留まり水の流れの妨げとなる障害物を含む、
請求項1に記載の原子力設備冠水方法。
【請求項10】
前記障害物は、治工具、干渉材、重泥水、コンクリート、グラウト、モルタル、樹脂、充填材、緩衝材、ゼオライト吸着材、チタン酸塩吸着材、チタンケイ酸塩材、中性子吸収材、切断片、切粉、ノロ、ドロス、スパッタ、アブレイシブ、砂、移動ロボットの少なくともいずれかを含む、
請求項8または請求項9に記載の原子力設備冠水方法。
(【請求項11】以降は省略されています)
発明の詳細な説明
【技術分野】
【0001】
本発明の実施形態は、過酷事故に見舞われた原子炉の廃炉技術に関する。
続きを表示(約 1,600 文字)
【背景技術】
【0002】
沸騰水型原子力発電所で炉心溶融を含む過酷事故が生じた場合、原子炉格納容器および原子炉圧力容器が損傷し、冠水した状態での解体作業が極めて困難である。また、原子炉建屋の内部が高線量であり、かつ水位が低下した状態であることから、損傷箇所の特定が困難であり、水の漏洩箇所の補修を行うことも困難である。このような場合、気中環境で、燃料デブリを取り出し、原子炉建屋を解体する必要があるが、解体作業の多くを遠隔作業で行う必要があり、かつ解体時における切断作業で生じる放射性ダストの漏洩を防止する対策を講じる必要がある。
【先行技術文献】
【特許文献】
【0003】
特許第6960170号公報
特許第5757222号公報
特許第6186980号公報
特許第7070998号公報
特許第7071003号公報
実用新案登録第3196318号公報
【発明の概要】
【発明が解決しようとする課題】
【0004】
従来、様々な技術が知られている。例えば、特許文献1に記載の燃料デブリの処理方法は、バライトを含有する超高比重泥水を沈殿させ、燃料デブリを固化して保管収納することを目的とする。しかし、核燃料物質または放射性物質が滞留する部位を冠水する方法については考慮されていない。
【0005】
また、特許文献2および特許文献3の原子炉格納容器の冠水方法は、原子炉格納容器の破損箇所が存在するが、その特定が困難であることを前提にして、全ての空間をコンクリートで埋設するものである。ここで、大量の放射性廃棄物が生じるために、その想定される破損箇所の上流に、止水構造を構成して、原子炉格納容器を冠水するものである。この冠水方法の場合、高線量である原子炉建屋の内部で多くの作業を行う必要があるという課題がある。また、作業員の被ばく量が高くなり、作業が困難となった場合、代替または併存する冠水方法が考慮されていない。
【0006】
また、特許文献4および特許文献5の原子炉建屋冠水装置は、原子炉建屋の下方に地中で構築された底部を備え、物理的に原子炉建屋の全体を隔離して冠水するものである。環境への汚染水の漏洩リスクが低いため、非常に良い概念であるが、作業量が増え、特に、地中シールドトンネルによる構築が必要となるという課題がある。
【0007】
また、特許文献6の原子炉廃炉支援施設は、複数の原子炉建屋の全てを覆うプールを構成し、原子炉建屋の全体を冠水させるものである。ただし、プールの底部の構築方法が困難であること、プールが大規模であること、プールの保有水量が極めて多いことが課題である。
【0008】
本発明の実施形態は、このような事情を考慮してなされたもので、過酷事故に見舞われた原子力設備の少なくとも一部を冠水させて、水で放射線を遮蔽し、水中環境での作業を実現することを目的とする。
【課題を解決するための手段】
【0009】
本発明の実施形態に係る原子力設備冠水方法は、過酷事故により燃料デブリが生じた原子力設備に関連する区画であり、貯水が可能な貯水区画に通じる水の流通流路に水の漏洩箇所が存在しているときに、少なくとも1種の特定物を前記貯水区画から前記漏洩箇所までの間に用いて前記漏洩箇所を止水する止水構造を構築し、前記貯水区画に水を導入して前記原子力設備の少なくとも一部を冠水させる。
【発明の効果】
【0010】
本発明の実施形態により、過酷事故に見舞われた原子力設備の少なくとも一部を冠水させて、水で放射線を遮蔽し、水中環境での作業を実現することができる。
【図面の簡単な説明】
(【0011】以降は省略されています)
この特許をJ-PlatPat(特許庁公式サイト)で参照する
関連特許
株式会社東芝
センサ
2か月前
株式会社東芝
モータ
2か月前
株式会社東芝
端子台
1か月前
株式会社東芝
センサ
2か月前
株式会社東芝
電子源
2日前
株式会社東芝
吸音装置
2か月前
株式会社東芝
電子装置
2か月前
株式会社東芝
除去装置
1か月前
株式会社東芝
電子装置
1か月前
株式会社東芝
金型構造
2か月前
株式会社東芝
電子回路
1か月前
株式会社東芝
粒子加速器
2か月前
株式会社東芝
半導体装置
2か月前
株式会社東芝
半導体装置
1か月前
株式会社東芝
半導体装置
1か月前
株式会社東芝
半導体装置
2か月前
株式会社東芝
半導体装置
2日前
株式会社東芝
半導体装置
1か月前
株式会社東芝
半導体装置
1か月前
株式会社東芝
半導体装置
9日前
株式会社東芝
半導体装置
1か月前
株式会社東芝
真空バルブ
1か月前
株式会社東芝
半導体装置
17日前
株式会社東芝
半導体装置
1か月前
株式会社東芝
半導体装置
1か月前
株式会社東芝
半導体装置
1か月前
株式会社東芝
半導体装置
1か月前
株式会社東芝
半導体装置
1か月前
株式会社東芝
真空バルブ
3日前
株式会社東芝
半導体装置
1か月前
株式会社東芝
半導体装置
1か月前
株式会社東芝
半導体装置
2日前
株式会社東芝
半導体装置
2か月前
株式会社東芝
半導体装置
2か月前
株式会社東芝
半導体装置
2か月前
株式会社東芝
半導体装置
2か月前
続きを見る
他の特許を見る