TOP
|
特許
|
意匠
|
商標
特許ウォッチ
Twitter
他の特許を見る
公開番号
2025163988
公報種別
公開特許公報(A)
公開日
2025-10-30
出願番号
2024067681
出願日
2024-04-18
発明の名称
ウエーハ、及び、半導体装置
出願人
株式会社東芝
,
東芝デバイス&ストレージ株式会社
代理人
弁理士法人iX
主分類
H01L
21/20 20060101AFI20251023BHJP(基本的電気素子)
要約
【課題】安定した特性を得ることが可能な、ウエーハ、及び、半導体装置を提供する。
【解決手段】実施形態によれば、ウエーハは、基体及び第1層を含む。前記第1層は、Al
z1
Ga
1-z1
N(0<z1≦1)を含む。前記第1層は、第1領域及び第2領域を含む。前記第1領域は、前記基体と前記第2領域との間にある。前記第1領域における第1領域酸素濃度は、前記基体における基体酸素濃度よりも低い。前記第1領域酸素濃度は、前記第2領域における第2領域酸素濃度よりも低い。
【選択図】図1
特許請求の範囲
【請求項1】
基体と、
Al
z1
Ga
1-z1
N(0<z1≦1)を含む第1層と、
を備え、
前記第1層は、第1領域及び第2領域を含み、
前記第1領域は、前記基体と前記第2領域との間にあり、
前記第1領域における第1領域酸素濃度は、前記基体における基体酸素濃度よりも低く、
前記第1領域酸素濃度は、前記第2領域における第2領域酸素濃度よりも低い、ウエーハ。
続きを表示(約 1,400 文字)
【請求項2】
前記第2領域酸素濃度は、前記基体酸素濃度よりも低い、請求項1に記載のウエーハ。
【請求項3】
前記第1領域は、前記基体と接し、
前記第2領域は、前記第1領域と接した、請求項1に記載のウエーハ。
【請求項4】
前記基体は、シリコンを含む、請求項3に記載のウエーハ。
【請求項5】
Al
z2
Ga
1-z2
N(0<z2<1、z2<z1)を含む第2層をさらに備え、
前記第1層は、前記基体と前記第2層との間に設けられ、
前記第2層は、酸素を含まない、または、前記第2層における第2層酸素濃度は、前記第2領域酸素濃度よりも低い、請求項1に記載のウエーハ。
【請求項6】
Al
z3
Ga
1-z3
N(0≦z3≦1)を含む第3層をさらに備え、
前記第2層は、前記第1層と前記第3層との間にあり、
前記第3層は、酸素を含まない、または、前記第3層における第3層酸素濃度は、前記第2領域酸素濃度よりも低い、請求項5に記載のウエーハ。
【請求項7】
前記第3層は、複数の第1膜と、複数の第2膜と、を含み、
前記基体から前記第1層への第1方向において、前記複数の第1膜の1つは、前記複数の第2膜の1つと前記複数の第2膜の別の1つとの間にあり、前記複数の第2膜の前記1つは、前記複数の第1膜の前記1つと、前記複数の第1膜の別の1つとの間にあり、
前記複数の第1膜は、Al
y1
Ga
1-y1
N(0<y1≦1)を含み、
前記複数の第2膜は、Al
y2
Ga
1-y2
N(0≦y2<y1)を含む、請求項6に記載のウエーハ。
【請求項8】
請求項1~5のいずれか1つに記載のウエーハと、
第1電極と、
第2電極と、
第3電極と、
Al
x1
Ga
1-x1
N(0≦x1<1)を含む第1半導体層と、
Al
x2
Ga
1-x2
N(0<x2≦1、x1<x2)を含む第2半導体層と、
を備え、
前記第1半導体層は、前記第1層と前記第2半導体層との間に設けられ、
前記第1電極から前記第2電極への第2方向は、前記基体から前記第1層への第1方向と交差し、
前記第3電極の前記第2方向における位置は、前記第1電極の前記第2方向における位置と、前記第2電極の前記第2方向にける位置と、の間にあり、
前記第2半導体層は、第1半導体部分と第2半導体部分と含み、
前記第1半導体部分から前記第2半導体部分への方向は、前記第2方向に沿い、
前記第1電極は、前記第1半導体部分と電気的に接続され、
前記第2電極は、前記第2半導体部分と電気的に接続された、半導体装置。
【請求項9】
前記第3電極の少なくとも一部は、前記第2方向において、前記第1半導体部分と前記第2半導体部分との間に設けられた、請求項8に記載の半導体装置。
【請求項10】
前記第3電極の少なくとも一部は、前記第2方向において、前記第1半導体層の一部と前記第1半導体層の別の一部との間に設けられた、請求項8に記載の半導体装置。
発明の詳細な説明
【技術分野】
【0001】
本発明の実施形態は、ウエーハ、及び、半導体装置に関する。
続きを表示(約 1,300 文字)
【背景技術】
【0002】
例えば、窒化物を含むウエーハに基づく半導体装置において、安定した特性が望まれる。
【先行技術文献】
【特許文献】
【0003】
特開2023-26838号公報
【発明の概要】
【発明が解決しようとする課題】
【0004】
本発明の実施形態は、安定した特性を得ることが可能な、ウエーハ、及び、半導体装置を提供する。
【課題を解決するための手段】
【0005】
本発明の実施形態によれば、ウエーハは、基体及び第1層を含む。前記第1層は、Al
z1
Ga
1-z1
N(0<z1≦1)を含む。前記第1層は、第1領域及び第2領域を含む。前記第1領域は、前記基体と前記第2領域との間にある。前記第1領域における第1領域酸素濃度は、前記基体における基体酸素濃度よりも低い。前記第1領域酸素濃度は、前記第2領域における第2領域酸素濃度よりも低い。
【図面の簡単な説明】
【0006】
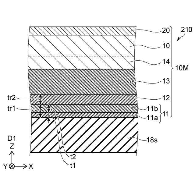
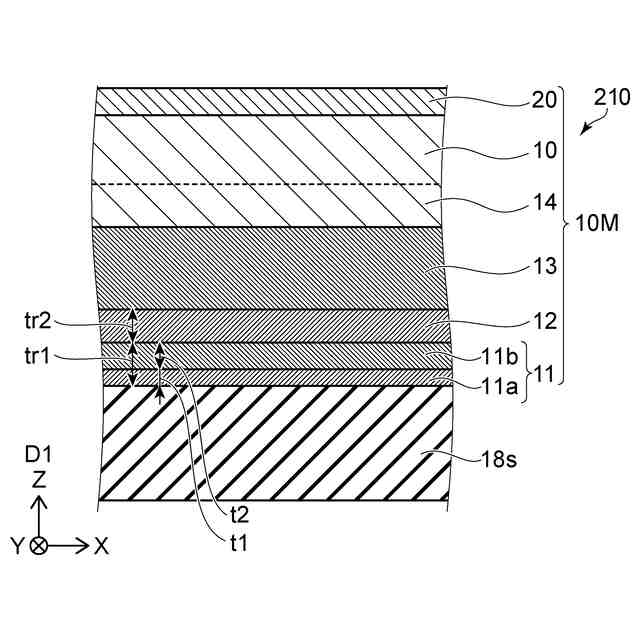
図1は、第1実施形態に係るウエーハを例示する模式的断面図である。
図2は、ウエーハにおける元素の濃度を例示するグラフである。
図3は、ウエーハにおける元素の濃度を例示するグラフである。
図4(a)及び図4(b)は、ウエーハの顕微鏡像である。
図5は、第1実施形態に係るウエーハを例示する模式的断面図である。
図6は、第2実施形態に係る半導体装置を例示する模式的断面図である。
図7は、第2実施形態に係る半導体装置を例示する模式的断面図である。
【発明を実施するための形態】
【0007】
以下に、本発明の各実施の形態について図面を参照しつつ説明する。
図面は模式的または概念的なものであり、各部分の厚さと幅との関係、部分間の大きさの比率などは、必ずしも現実のものと同一とは限らない。同じ部分を表す場合であっても、図面により互いの寸法や比率が異なって表される場合もある。
本願明細書と各図において、既出の図に関して前述したものと同様の要素には同一の符号を付して詳細な説明は適宜省略する。
【0008】
(第1実施形態)
図1は、第1実施形態に係るウエーハを例示する模式的断面図である。
図1に示すように、実施形態に係るウエーハ210は、基体18s及び第1層11を含む。後述するように、ウエーハ210は、他の層をさらに含んでも良い。
【0009】
基体18sから第1層11への第1方向D1をZ軸方向とする。Z軸方向に対して垂直な1つの方向をX軸方向とする。Z軸方向及びX軸方向に対して垂直な方向をY軸方向とする。基体18s及び第1層11は、X-Y平面に沿う。
【0010】
第1層11は、Al
z1
Ga
1-z1
N(0<z1≦1)を含む。組成比z1は、例えば、0.8以上1以下で良い。第1層11は、例えばAlN層で良い。
(【0011】以降は省略されています)
この特許をJ-PlatPat(特許庁公式サイト)で参照する
関連特許
株式会社東芝
センサ
2か月前
株式会社東芝
電子源
2日前
株式会社東芝
モータ
2か月前
株式会社東芝
固定子
3か月前
株式会社東芝
センサ
2か月前
株式会社東芝
センサ
3か月前
株式会社東芝
端子台
1か月前
株式会社東芝
電子装置
2か月前
株式会社東芝
電子回路
1か月前
株式会社東芝
吸音装置
2か月前
株式会社東芝
電子装置
1か月前
株式会社東芝
除去装置
1か月前
株式会社東芝
金型構造
2か月前
株式会社東芝
ドア構造
3か月前
株式会社東芝
半導体装置
2か月前
株式会社東芝
半導体装置
1か月前
株式会社東芝
半導体装置
2か月前
株式会社東芝
半導体装置
2日前
株式会社東芝
半導体装置
2か月前
株式会社東芝
半導体装置
2か月前
株式会社東芝
半導体装置
1か月前
株式会社東芝
半導体装置
2か月前
株式会社東芝
半導体装置
1か月前
株式会社東芝
半導体装置
1か月前
株式会社東芝
真空バルブ
1か月前
株式会社東芝
半導体装置
2か月前
株式会社東芝
高周波回路
1か月前
株式会社東芝
半導体装置
1か月前
株式会社東芝
半導体装置
1か月前
株式会社東芝
粒子加速器
2か月前
株式会社東芝
半導体装置
1か月前
株式会社東芝
半導体装置
1か月前
株式会社東芝
半導体装置
1か月前
株式会社東芝
半導体装置
1か月前
株式会社東芝
半導体装置
1か月前
株式会社東芝
半導体装置
1か月前
続きを見る
他の特許を見る