TOP
|
特許
|
意匠
|
商標
特許ウォッチ
Twitter
他の特許を見る
10個以上の画像は省略されています。
公開番号
2025163903
公報種別
公開特許公報(A)
公開日
2025-10-30
出願番号
2024067527
出願日
2024-04-18
発明の名称
加圧装置
出願人
日機装株式会社
代理人
個人
主分類
B30B
15/02 20060101AFI20251023BHJP(プレス)
要約
【課題】被プレス面の圧力分布を制御可能な加圧装置を提供する。
【解決手段】本発明に係る加圧装置1,1Aは、第1加圧部材4,14と、第1加圧部材よりも下方向に配置される第2加圧部材6,16と、第1加圧部材と第2加圧部材との間に、第1加圧部材と第2加圧部材とに隣接して配置される中間部材5,15,5B~5Eと、金属製で平面状の上プレス面71a,171aと、を備える。中間部材は、第2加圧部材に当接する当接領域R1,R11と、第2加圧部材に当接しない非当接領域R2,R12と、を備える。上プレス面は、ワークに当接するプレス面領域R3,R13、を備える。当接領域は、上下方向視において、非当接領域に隣接して配置されて、プレス面領域の外周線で示される第1外周線Lo1よりも内側に配置される。
【選択図】図1
特許請求の範囲
【請求項1】
上下方向においてワークを挟み込んで加圧する加圧装置であって、
前記ワークの上方向に配置される上加圧ユニット、
を有してなり、
前記上加圧ユニットは、
第1加圧部材と、
前記第1加圧部材よりも下方向に配置される第2加圧部材と、
前記第1加圧部材と前記第2加圧部材との間に、前記第1加圧部材と前記第2加圧部材とに隣接して配置される中間部材と、
前記ワークが加圧されるとき、前記ワークに当接する、金属製で平面状の上プレス面と、
を備えて、
前記中間部材は、
前記第2加圧部材に当接する当接領域と、
前記第2加圧部材に当接しない非当接領域と、
を備えて、
前記上プレス面は、
前記ワークが加圧されるとき、前記ワークに当接するプレス面領域、
を備えて、
前記当接領域は、上下方向視において、
前記非当接領域に隣接して配置されて、
前記プレス面領域の外周線で示される第1外周線よりも内側に配置される、
加圧装置。
続きを表示(約 1,300 文字)
【請求項2】
前記上加圧ユニットは、
前記上プレス面を備える第3加圧部材、
を備えて、
前記第3加圧部材は、前記第2加圧部材よりも下方向に、前記第2加圧部材に隣接して配置されて、
前記第2加圧部材は、前記ワークが加圧されるとき上下方向に圧縮されて、前記ワークの加圧が終了したとき加圧前の状態に復元可能な弾性材料で構成される、
請求項1に記載の加圧装置。
【請求項3】
前記第2加圧部材は、
前記上プレス面、
を備える、
請求項1に記載の加圧装置。
【請求項4】
前記第1加圧部材は、前記ワークが加圧されるとき上下方向に圧縮されて、前記ワークの加圧が終了したとき加圧前の状態に復元可能な弾性材料で構成される、
請求項2または3に記載の加圧装置。
【請求項5】
前記中間部材は、
前記第2加圧部材に当接する当接面と、
上下方向において前記当接面よりも上方向に配置されて、前記第2加圧部材に当接しない非当接面と、
を備えて、
上下方向視において、前記当接領域は、前記当接面が配置される領域であり、
上下方向視において、前記非当接領域は、前記非当接面が配置される領域である、
請求項1乃至3のいずれか1項に記載の加圧装置。
【請求項6】
前記中間部材は、
前記第2加圧部材に当接する当接面と、
前記中間部材を上下方向に貫通する貫通孔と、
を備えて、
上下方向視において、前記当接領域は、前記当接面が配置される領域であり、
上下方向視において、前記非当接領域は、前記貫通孔が配置される領域である、
請求項1乃至3のいずれか1項に記載の加圧装置。
【請求項7】
上下方向視において、前記当接領域が配置される配置領域の外周線で示される第2外周線の形状は、前記第1外周線の形状と相似形であり、
上下方向視において、前記第1外周線で区画される前記プレス面領域の第1面積に対する、前記第2外周線で区画される前記配置領域の第2面積の比は、0.40以上、かつ、0.92以下である、
請求項1に記載の加圧装置。
【請求項8】
上下方向視において、前記当接領域が配置される配置領域は、前記中間部材のうち、前記第2加圧部材に当接する当接面から前記上プレス面までの間隔が大きくなるにつれて小さくなり、前記間隔が小さくなるにつれて大きくなる、ように設計される、
請求項1に記載の加圧装置。
【請求項9】
前記プレス面領域は、
上下方向視において、前記ワークが加圧されるとき、前記ワークの一部の所定の領域を、前記ワークの他の領域よりも大きい加圧力で加圧する偏加圧領域、
を含み、
前記当接領域は、
前記偏加圧領域に対応する特定領域、
を含み、
上下方向視において、前記特定領域は、前記偏加圧領域の範囲内に配置される、
請求項1に記載の加圧装置。
発明の詳細な説明
【技術分野】
【0001】
本発明は、加圧装置に関する。
続きを表示(約 2,300 文字)
【背景技術】
【0002】
複数のシート状の基材(例えば、積層セラミックコンデンサのグリーンシート、プリント配線基板、など)が積層された積層体を加圧する装置として、加圧装置が用いられている。加圧装置は、一対の加圧ユニットにより積層体(被加圧物)を上下から挟み込み、積層体を所定の加圧力で加圧する。加圧ユニットのうち、積層体に当接する金型のプレス面は、積層体が加圧されるとき、積層体の上下面の全体に対してプレス面から均等な面圧が加えられるように、相互に平行な平面状に形成されている。
【0003】
このような加圧装置では、ワークが加圧されたとき、ワークの被プレス面に加えられる圧力が外縁部において顕著に高くなり、外縁部から中央部向けて低くなる現象(被プレス面の外縁部が強圧される現象)は、よく知られている(例えば、特許文献1参照)。この現象が生じると、ワークの被プレス面が均一に加圧されず、ワークの変形(ワークの中央部がワークの外縁部よりも膨らむような変形)が生じ得る。この現象の要因として、加圧時に生じる加圧ユニット(金型)の撓みなどが挙げられている。特に、ワークサイズがプレス面サイズに対して小さい場合に、ワークのエッジ部分が「テコの支点」のように機能することにより、この現象は生じ易くなる。
【先行技術文献】
【特許文献】
【0004】
特開2020-146703号公報
【発明の概要】
【発明が解決しようとする課題】
【0005】
一般的に、この現象を抑制するために、プレス面を備える金型の厚さを増加させることにより、金型自体の剛性を高める設計が、採用されている。この設計では、金型が大型化して、金型の重量が増加する。そのため、加圧装置の製造時およびメンテナンス時の作業性は、悪化する。また、金型(特にプレス面)の加工は難しくなり、金型に採用可能な材料は限られる。さらに、この設計でも、前述の現象の傾向は、残る。したがって、金型の厚みを増加させる技術とは異なる、被プレス面の外縁部が強圧される現象を改善する技術が求められている。このように、平面状のプレス面を備える金型を用いた被プレス面の圧力分布の制御は、難しい。
【0006】
本発明は、被プレス面の圧力分布を制御可能な加圧装置を提供することを目的とする。
【課題を解決するための手段】
【0007】
本発明の一実施態様における加圧装置は、上下方向においてワークを挟み込んで加圧する加圧装置であって、前記ワークの上方向に配置される上加圧ユニット、を有してなり、前記上加圧ユニットは、第1加圧部材と、前記第1加圧部材よりも下方向に配置される第2加圧部材と、前記第1加圧部材と前記第2加圧部材との間に、前記第1加圧部材と前記第2加圧部材とに隣接して配置される中間部材と、前記ワークが加圧されるとき、前記ワークに当接する、金属製で平面状の上プレス面と、を備えて、前記中間部材は、前記第2加圧部材に当接する当接領域と、前記第2加圧部材に当接しない非当接領域と、を備えて、前記上プレス面は、前記ワークが加圧されるとき、前記ワークに当接するプレス面領域、を備えて、前記当接領域は、上下方向視において、前記非当接領域に隣接して配置されて、前記プレス面領域の外周線で示される第1外周線よりも内側に配置される、加圧装置である。
【発明の効果】
【0008】
本発明によれば、被プレス面の圧力分布を制御可能な加圧装置が提供される。
【図面の簡単な説明】
【0009】
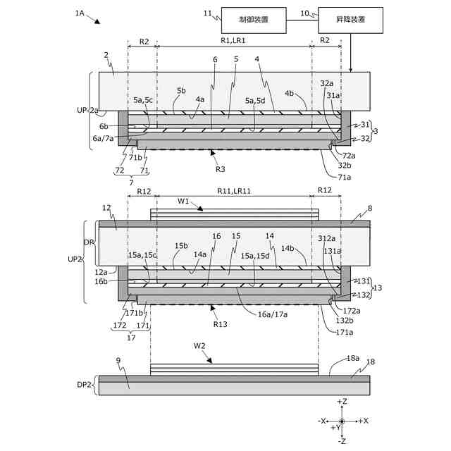
本発明に係る加圧装置の実施の形態を示す、加圧装置の模式断面図である。
図1の加圧装置の上加圧ユニットの模式底面図である。
図1の加圧装置において画定される各領域の上下方向視における位置関係を示す模式図である。
本発明の実施例の試験条件および試験結果を示す模式図である。
上記実施例の試験結果を示す圧力分布図である。
上記実施例において使用された図1の加圧装置の中間部材の模式底面図であり、(a)は第1タイプの模式底面図であり、(b)は第2タイプの模式底面図であり、(c)は第3タイプの模式底面図であり、(d)は第4タイプの模式底面図である。
シミュレータによる応力の伝達状態を示していて、(a)は配置領域の面積よりも小さいワークが加圧されたときの伝達状態を示していて、(b)は配置領域の面積よりも大きいワークが加圧されたときの伝達状態を示している。
圧力の偏在化を改善する要因を説明する模式図である。
本発明に係る加圧装置の第1変形例を示す、加圧装置の模式断面図である。
本発明に係る加圧装置の第2変形例~第5変形例における中間部材の模式底面図であり、(a)は第2変形例における中間部材を示していて、(b)は第3変形例における中間部材を示していて、(c)は第4変形例における中間部材を示していて、(d)は第5変形例における中間部材を示している。
【発明を実施するための形態】
【0010】
本発明に係る加圧装置(以下「本装置」という。)の実施の形態が、以下に説明される。以下の説明において、各図面は、適宜参照される。各図面において、同一の部材および要素については同一の符号が付されて、重複する説明は省略される。また、各要素の寸法比率は、説明の便宜上、誇張されている場合が有り、各図面に示されている比率に限定されない。
(【0011】以降は省略されています)
この特許をJ-PlatPat(特許庁公式サイト)で参照する
関連特許
日機装株式会社
加圧装置
28日前
日機装株式会社
遠心ポンプ
1か月前
日機装株式会社
半導体発光装置
15日前
日機装株式会社
キャップ、コネクタおよび装置
1か月前
日機装株式会社
発光素子の製造方法及び発光素子
今日
日機装株式会社
発光素子及び発光素子の製造方法
今日
日機装株式会社
窒化物半導体発光素子の製造方法
8日前
日機装株式会社
医療機器、表示方法およびプログラム
2か月前
日機装株式会社
乳酸吸着剤、乳酸除去装置および乳酸除去方法
1か月前
日機装株式会社
半導体発光素子および半導体発光素子の製造方法
13日前
日機装株式会社
血液浄化装置、血液浄化システム、及び情報移行方法
1か月前
日機装株式会社
医療機器、表示方法およびプログラム
2か月前
日機装株式会社
モータ軸受摩耗監視装置、断線検出プログラム、断線推定プログラム、および断線検出方法
2か月前
日機装株式会社
加圧装置
28日前
株式会社ヨコオ
製造装置
6か月前
日機装株式会社
加圧装置
7か月前
日機装株式会社
加圧システム
7か月前
相源株式会社
制御装置
28日前
株式会社ササキコーポレーション
圧縮装置
8か月前
株式会社ササキコーポレーション
圧縮装置
8か月前
トヨタ紡織株式会社
プレス装置
7か月前
大同工業株式会社
高温成形用金型
5か月前
住友重機械工業株式会社
プレス装置
5か月前
住友重機械工業株式会社
プレス装置
6か月前
日本発條株式会社
加工油供給方法及び装置
4か月前
株式会社石垣
スクリュープレスの外筒スクリーン洗浄方法
4か月前
株式会社西田製作所
工具ヘッドと据置台との組み合わせ
6か月前
株式会社ジェイテクトフルードパワーシステム
加圧パンチ装置
5か月前
シージーケー株式会社
プレス装置
8か月前
いすゞ自動車株式会社
成形装置
3か月前
個人
プレス機械の往復運動を利用したスクラップ搬送装置
8か月前
株式会社合同資源
金属ヨウ化物錠剤の製造方法
7か月前
株式会社菊水製作所
成形品製造用機械の監視システム
8日前
マクセル株式会社
粉体成型体の製造方法及び製造装置
15日前
大同特殊鋼株式会社
連続式真空ホットプレス装置
2か月前
株式会社金陽社
熱プレス用緩衝材
2か月前
続きを見る
他の特許を見る