TOP
|
特許
|
意匠
|
商標
特許ウォッチ
Twitter
他の特許を見る
10個以上の画像は省略されています。
公開番号
2025069994
公報種別
公開特許公報(A)
公開日
2025-05-02
出願番号
2023179991
出願日
2023-10-19
発明の名称
製造装置
出願人
株式会社ヨコオ
代理人
個人
主分類
B30B
15/04 20060101AFI20250424BHJP(プレス)
要約
【課題】 ラムの位置精度を維持する。
【解決手段】 製造装置は、ラムと、保持部と、を有し、前記保持部と前記ラムの少なくとも一方は、ボールを含み、前記ラムは、前記ボールを介して、第1方向に摺動可能な状態で前記保持部に保持される、製造装置である。
【選択図】図4
特許請求の範囲
【請求項1】
ラムと、
保持部と、を有し、
前記保持部と前記ラムの少なくとも一方は、ボールを含み、
前記ラムは、前記ボールを介して、第1方向に摺動可能な状態で前記保持部に保持される、製造装置。
続きを表示(約 1,400 文字)
【請求項2】
前記保持部と前記ラムの一方には、摺動部が設けられ、
前記保持部と前記ラムの他方には、ガイド部が設けられ、
前記ガイド部は、レールを含み、
前記摺動部は、前記レールを跨ぐブロックと、前記ブロックと前記レールとの間に設けられた前記ボールと、を含む、請求項1に記載の製造装置。
【請求項3】
第1クランクシャフトと、第2クランクシャフトと、を含むクランク機構部を更に有し、
前記第1クランクシャフトと前記第2クランクシャフトの回転運動に基づいて、前記ラムが前記第1方向に移動し、
前記第2クランクシャフトは、前記第1クランクシャフトと逆方向に回転する、請求項1に記載の製造装置。
【請求項4】
前記ラムにおける、パンチホルダーが取り付けられる領域を挟む位置に設けられる、センター位置調整部を更に有し、
前記センター位置調整部は、前記第1方向に変位することで、前記パンチホルダーを前記第1方向と垂直な方向に変位させる、テーパーギブを含む、請求項1に記載の製造装置。
【請求項5】
前記ラムに取り付けられるパンチホルダーを更に有し、
前記パンチホルダーは、前記第1方向に平行な軸周りに回転することで、前記パンチホルダーを前記第1方向に移動させる、スケールリングを含む、請求項1に記載の製造装置。
【請求項6】
前記スケールリングの側面には、前記第1方向の移動量に関連する情報が設けられ、
前記スケールリングを一の方向に所定の目盛り量だけ回転することで、前記パンチホルダーが前記第1方向に前記所定の目盛り量に対応する移動量だけ前進し、
前記スケールリングを他の方向に前記所定の目盛り量だけ回転することで、前記パンチホルダーが前記第1方向に前記所定の目盛り量に対応する移動量だけ後退する、請求項5に記載の製造装置。
【請求項7】
ダイ固定部と、
前記ダイ固定部を介してダイを保持するダイベースと、を更に有し、
前記ダイ固定部は、前記ラムに取り付けられたパンチホルダーと対向し、メカロックで構成される、請求項1に記載の製造装置。
【請求項8】
前記ラムに取り付けられるパンチホルダーと、
パンチノックアウト機構と、を更に有し、
前記パンチホルダーと前記パンチノックアウト機構の一方は、前記ラムの前記第1方向の往復運動と共に移動し、
前記パンチホルダーと前記パンチノックアウト機構の他方は、所定の位置関係の時に前記ラムの前記第1方向の往復運動とは別で移動または停止する、請求項1に記載の製造装置。
【請求項9】
前記ラムに取り付けられたピニオンと、前記パンチノックアウト機構が有するラックと、前記保持部に取り付けられ、前記ピニオンに設けられたカムフォロアの移動範囲を制限するカムと、により、前記往復運動とは別での移動または停止が行われる、請求項8に記載の製造装置。
【請求項10】
パンチと、
前記パンチの取付位置を前記第1方向で摺動可能な状態で前記パンチを保持するパンチ固定部と、
前記パンチ固定部が取り付けられたパンチホルダーと、を更に有し、
前記パンチホルダーは、前記ラムに取り付けられ、前記パンチの受圧荷重を測定するロードセルを含む、請求項1に記載の製造装置。
発明の詳細な説明
【技術分野】
【0001】
本発明は、製造装置に関する。
続きを表示(約 1,300 文字)
【背景技術】
【0002】
従来、特許文献1のように、フォーマーなどの製造装置が提案されている。
【先行技術文献】
【特許文献】
【0003】
特開平03-094945号公報
【発明の概要】
【発明が解決しようとする課題】
【0004】
しかしながら、往復運動が頻繁に行われてもラムが安定的に動作する必要があった。
【0005】
したがって本発明の目的の一例は、ラムの位置精度を維持することである。本発明の他の目的は、本明細書の記載から明らかになるであろう。
【課題を解決するための手段】
【0006】
本発明の一態様は、ラムと、保持部と、を有し、前記保持部と前記ラムの少なくとも一方は、ボールを含み、前記ラムは、前記ボールを介して、第1方向に摺動可能な状態で前記保持部に保持される、製造装置である。
【0007】
本発明の上記態様によれば、ラムの位置精度を維持することができる。
【図面の簡単な説明】
【0008】
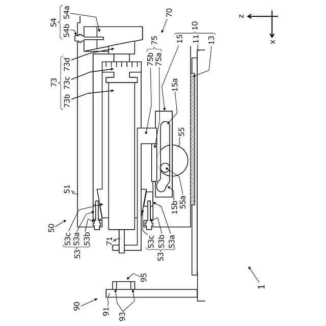
第1実施形態における製造装置を上方から見た構成図である。
第1実施形態における製造装置の上面図である。
第1実施形態における製造装置を側方から見た構成図である。
第1実施形態における製造装置を前方から見た断面構成図である。
第1実施形態における図3の状態からパンチホルダーを上方に移動させた製造装置を側方から見た構成図である。
第1実施形態における第1状態の製造装置を上方から見た構成図である。
第1実施形態における第1状態の製造装置を側方から見た構成図である。
第1実施形態における第2状態の製造装置を上方から見た構成図である。
第1実施形態における第2状態の製造装置を側方から見た構成図である。
第1実施形態における第3状態の製造装置を上方から見た構成図である。
第1実施形態における第3状態の製造装置を側方から見た構成図である。
ダイベースとダイ固定部とダイの斜視図である。
第2実施形態における製造装置の側面図である。
第2実施形態における製造装置を側方から見た構成図である。
【発明を実施するための形態】
【0009】
以下、第1実施形態、第2実施形態について、図を用いて説明する。なお、実施形態は、以下の第1実施形態、第2実施形態に限られるものではない。また、一つの実施形態に記載した内容は、原則として他の実施形態にも同様に適用される。また、各実施形態及び各変形例は、適宜組み合わせることができる。
【0010】
なお、以下では方向を説明するために、ラム51の移動方向(前後方向)をx方向(第1方向)、x方向と垂直な左右方向をy方向、x方向とy方向に垂直な略鉛直方向をz方向と定義して説明する。また、図1~図14において、xyz軸のそれぞれの矢印が指し示す方向をそれぞれ前方向、右方向、上方向と定義する。
(【0011】以降は省略されています)
この特許をJ-PlatPat(特許庁公式サイト)で参照する
関連特許
日機装株式会社
加圧装置
21日前
相源株式会社
制御装置
21日前
大同工業株式会社
高温成形用金型
4か月前
住友重機械工業株式会社
プレス装置
6か月前
住友重機械工業株式会社
プレス装置
5か月前
日本発條株式会社
加工油供給方法及び装置
4か月前
株式会社石垣
スクリュープレスの外筒スクリーン洗浄方法
4か月前
株式会社ジェイテクトフルードパワーシステム
加圧パンチ装置
5か月前
いすゞ自動車株式会社
成形装置
2か月前
株式会社菊水製作所
成形品製造用機械の監視システム
1日前
マクセル株式会社
粉体成型体の製造方法及び製造装置
8日前
株式会社金陽社
熱プレス用緩衝材
2か月前
大同特殊鋼株式会社
連続式真空ホットプレス装置
2か月前
株式会社ディムコ
ガイドユニットを備えるダブルベルトプレス装置
5か月前
住友重機械工業株式会社
プレス装置及びプレス装置の配管工程
4か月前
トヨタ自動車株式会社
ロールプレス装置
1か月前
冨士発條株式会社
プレスシステム、およびトランスファ装置
3か月前
株式会社SGIC
加熱ブロック及びダブルベルトプレス
6か月前
UBEマシナリー株式会社
押出プレス装置の支援システム
4か月前
日伸工業株式会社
プレス加工システム及びプレス加工装置
27日前
株式会社石垣
スクリュープレスにおける目詰まり防止機構及びそれを用いた目詰まり防止方法
6か月前
アイダエンジニアリング株式会社
プレス機械及びプレス機械の操作支援方法
2か月前
ノリタケ株式会社
ロールコンパクション成形装置およびロールコンパクション成形用搬送装置
1か月前
株式会社KMC
監視システム、センサープレート及び通信制御ユニット
2か月前
アピックヤマダ株式会社
プレス装置、プレス方法、樹脂封止装置及び樹脂封止方法
13日前
学校法人金沢工業大学
加工機械の制御方法、加工機械の制御装置及び制御プログラム
6か月前
コマツ産機株式会社
プレス機械の金型用の予知保全システム及び予知保全のための方法
1か月前
株式会社放電精密加工研究所
機械学習装置、情報処理装置、推論装置、機械学習方法、情報処理方法、及び、推論方法
1か月前
株式会社JKB
順送プレス加工方法及びその加工システム
2か月前
フェッテ コンパクティング ゲーエムベーハー
回転式錠剤プレス機および回転式錠剤プレス機を用いたプレスパンチの潤滑方法
6日前
フェック ライニッシュ ゲゼルシャフト ミット ベシュレンクテル ハフツング
プレス工具及びプレスプレートの製造方法
2か月前
フェック ライニッシュ ゲゼルシャフト ミット ベシュレンクテル ハフツング
プレス工具及びプレスプレートの製造方法
2か月前
アライドコーヒーロースターズ株式会社
ペレット製造装置及びペレットの製造方法
4か月前
株式会社カプコン
プログラム、情報処理方法および情報処理装置
2か月前
株式会社カプコン
プログラム、情報処理方法および情報処理装置
1か月前
株式会社カプコン
プログラム、情報処理方法および情報処理装置
1か月前
続きを見る
他の特許を見る