TOP
|
特許
|
意匠
|
商標
特許ウォッチ
Twitter
他の特許を見る
10個以上の画像は省略されています。
公開番号
2025040746
公報種別
公開特許公報(A)
公開日
2025-03-25
出願番号
2023147736
出願日
2023-09-12
発明の名称
圧縮装置
出願人
株式会社ササキコーポレーション
代理人
主分類
B30B
5/04 20060101AFI20250317BHJP(プレス)
要約
【課題】過度の圧縮から搬送コンベアの駆動部分を保護できる圧縮装置を提供する。
【解決手段】対象物を載置して搬送するとともに搬送方向の下流に向かうにしたがって間隔を狭くするように対向配置し対象物を圧縮するための第1コンベアおよび第2コンベアを有するコンベア部と、コンベア部は搬送方向と直交する幅方向にかけ渡した複数の桁材と、桁材に対して対象物側且つ搬送方向後方に向かって突出させるとともに、桁材に対して傾斜させて桁材との間に緩衝空間を設けた突起部と、を備える圧縮装置。
【選択図】図12
特許請求の範囲
【請求項1】
対象物を載置して搬送するとともに搬送方向の下流に向かうにしたがって間隔を狭くするように対向配置し対象物を圧縮するための第1コンベアおよび第2コンベアを有するコンベア部と、
前記コンベア部は搬送方向と直交する幅方向にかけ渡した複数の桁材と、
前記桁材に対して対象物側且つ搬送方向後方に向かって突出させるとともに、前記桁材に対して傾斜させて前記桁材との間に緩衝空間を設けた突起部と、
を備えることを特徴とする圧縮装置。
続きを表示(約 360 文字)
【請求項2】
前記コンベア部の搬送方向の下流側に位置し、前記コンベア部で搬送された対象物を圧縮する第1ローラおよび第2ローラを有する圧縮部と、
を備えることを特徴とする請求項1に記載の圧縮装置。
【請求項3】
前記コンベア部の搬送面17の搬送終端部に達した後行の突起部より、搬送側前方に位置する先行の突起部が有する傾斜面の法線は、前記第1ローラおよび前記第2ローラの中間部を向く、
ことを特徴とする請求項2に記載の圧縮装置。
【請求項4】
前記突起部のうち搬送方向に対して後行する前記突起部が搬送面17から離反を開始した時点で、搬送方向に対して先行する前記突起部は前記第1ローラと前記第2ローラの間に位置する、
ことを特徴とする請求項2に記載の圧縮装置。
発明の詳細な説明
【技術分野】
【0001】
この発明は圧縮装置に関する。
続きを表示(約 2,400 文字)
【背景技術】
【0002】
ダンボール箱である対象物を効率的に解体するために特許文献1に記載の装置がある。この装置は、搬入する搬入側が広く搬出側が狭くなるように配置された2基の搬送コンベヤと、この搬送コンベヤの搬出端の下流に設けられる一対の圧縮・搬出ローラを備えている。また、搬送コンベヤと圧縮・搬出ローラとの間にガイド板を設け、搬送コンベヤで搬送後の非圧縮物はガイド板を通過後に圧縮・搬出ローラに供給される。特許文献1の装置はスパイクや各溝状のスラットを設けることもできる、とされている。この場合には、搬送コンベヤでの対象物がスリップすることを防止することが期待されている。
【先行技術文献】
【特許文献】
【0003】
国際公開第2020/161931号公報
【発明の概要】
【発明が解決しようとする課題】
【0004】
特許文献1に記載の搬送コンベヤで圧縮する場合に、作業者は上下に配置した搬送コンベヤの間に対象物を投入する。しかし、対象物であるダンボール箱には圧縮に適さない異物が混入されている場合や、圧縮対象であるにもかかわらず、すでに圧縮された後のダンボール箱が混入されている場合がある。この場合、スパイクや各溝状のスラットは過度に押圧され、搬送方向に対して垂直方向であるコンベアチェーン側に押圧される。しかし、スパイクやスラットは容易に変形ができないため、過度に押圧によってコンベアチェーンに圧力が生じ、コンベアチェーンの破損の原因となる場合がある。コンベアチェーンの交換作業は作業工程が多くなる場合があり、不稼働時間の発生は継続して作業したい作業者にとって不利益となる。
【0005】
したがって、本発明は上記課題に着眼してなされたものであり、過度の圧縮から搬送コンベアの駆動部分を保護できる圧縮装置を提供することを目的とする。
【課題を解決するための手段】
【0006】
上記課題を解決するために、本発明の一態様は、対象物を載置して搬送するとともに搬送方向の下流に向かうにしたがって間隔を狭くするように対向配置し対象物を圧縮するための第1コンベアおよび第2コンベアを有するコンベア部と、コンベア部は搬送方向と直交する幅方向にかけ渡した複数の桁材と、桁材に対して対象物側且つ搬送方向後方に向かって突出させるとともに、桁材に対して傾斜させて桁材との間に緩衝空間を設けた突起部と、を備える圧縮装置であることを要旨とする。
【発明の効果】
【0007】
本発明によれば、過度の圧縮から搬送コンベアの駆動部分を保護できる圧縮装置を提供できる。
【図面の簡単な説明】
【0008】
この発明の第1実施例に係る圧縮装置の側面図であって、コンベア部、圧縮部の断面図である。
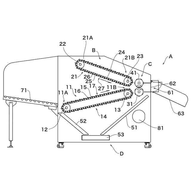
この発明の第1実施例に係る圧縮装置の正面図である。
この発明の第1実施例に係る圧縮装置の要部拡大図であって、搬送方向右手側の伝動系統を示す。
この発明の第1実施例に係る圧縮装置の要部拡大図であって、搬送方向左側の伝動系統を示す。
この発明の第1実施例に係る圧縮装置の圧縮工程1をあらわす説明図であって、第1コンベアの桁材の前端が搬送面の後端部に達した状態をあらわす。この桁材より搬送方向下流に位置する先行の桁材は搬送面から下降している状態をあらわす。
この発明の第1実施例に係る圧縮装置の圧縮工程2をあらわす説明図であって、桁材の前端が搬送後端部に差し掛かり搬送面から下降を開始した状態をあらわす。
この発明の第1実施例に係る圧縮装置の圧縮工程3をあらわす説明図であって、桁材の後端部及び突起部が搬送後端部に到達し下降を開始した状態をあらわす。
この発明の第1実施例に係る圧縮装置の圧縮工程4をあらわす説明図であって、桁材の後端部及び突起部が搬送面から下がり始めた状態をあらわす。
この発明の第1実施例に係る圧縮装置の圧縮工程5をあらわす説明図であって、桁材の後端部及び突起部が搬送面から下がった状態で、この桁材より搬送方向上流に位置する第1コンベアの後行の桁材の前端部が搬送面後端部に到達した状態をあらわす。
この発明の第1実施例に係る圧縮装置の圧縮工程6をあらわす説明図であって、工程全体をあらわす。
この発明の第1実施例に係る圧縮装置の要部拡大図であって、コンベア部の搬送方向終端部を示す。
この発明の第2実施例に係る圧縮装置の要部拡大図であって、コンベア部の搬送方向終端部を示す。
この発明の第3実施例に係る圧縮装置の突起部の構成を示す図である。
【発明を実施するための形態】
【0009】
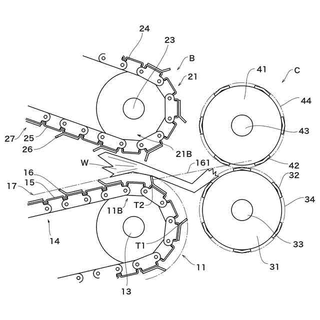
この発明に係る圧縮装置Aの一実施例である第1実施例について、図1乃至図11に基づき説明する。圧縮装置Aが圧縮する対象物Wは具体的には箱状物である段ボール箱を想定する。圧縮装置Aは、コンベア部Bを有する。
【0010】
コンベア部Bは、対象物Wを載置して搬送するとともに図1以下に図示するように、第1コンベア11および第2コンベア21を有する。第1コンベア11および第2コンベア21は、搬送方向の下流に向かうにしたがって間隔を狭くするように対向配置し対象物Wを圧縮する。第1コンベア11と第2コンベア21は搬送方向後方に向かうにしたがって、徐々に互いの距離を狭めるように配置する。第1コンベア11と第2コンベア21で挟まれた対象物Wを、搬送方向に対する下流である後方に向かうにしたがって徐々に圧縮する。
(【0011】以降は省略されています)
この特許をJ-PlatPat(特許庁公式サイト)で参照する
関連特許
株式会社ヨコオ
製造装置
5か月前
日機装株式会社
加圧装置
5か月前
日機装株式会社
加圧システム
6か月前
株式会社ササキコーポレーション
圧縮装置
7か月前
株式会社ササキコーポレーション
圧縮装置
7か月前
トヨタ紡織株式会社
プレス装置
6か月前
大同工業株式会社
高温成形用金型
4か月前
住友重機械工業株式会社
プレス装置
5か月前
住友重機械工業株式会社
プレス装置
4か月前
日本発條株式会社
加工油供給方法及び装置
3か月前
株式会社石垣
スクリュープレスの外筒スクリーン洗浄方法
3か月前
株式会社ジェイテクトフルードパワーシステム
加圧パンチ装置
4か月前
株式会社西田製作所
工具ヘッドと据置台との組み合わせ
5か月前
いすゞ自動車株式会社
成形装置
1か月前
株式会社合同資源
金属ヨウ化物錠剤の製造方法
6か月前
大同特殊鋼株式会社
連続式真空ホットプレス装置
1か月前
株式会社金陽社
熱プレス用緩衝材
1か月前
株式会社ディムコ
ガイドユニットを備えるダブルベルトプレス装置
4か月前
住友重機械工業株式会社
プレス装置及びプレス装置の配管工程
3か月前
トヨタ自動車株式会社
ロールプレス装置
21日前
冨士発條株式会社
プレスシステム、およびトランスファ装置
2か月前
株式会社SGIC
加熱ブロック及びダブルベルトプレス
5か月前
UBEマシナリー株式会社
押出プレス装置の支援システム
3か月前
日伸工業株式会社
プレス加工システム及びプレス加工装置
今日
株式会社石垣
スクリュープレスにおける目詰まり防止機構及びそれを用いた目詰まり防止方法
5か月前
アイダエンジニアリング株式会社
プレス機械及びプレス機械の操作支援方法
1か月前
株式会社KMC
監視システム、センサープレート及び通信制御ユニット
1か月前
ノリタケ株式会社
ロールコンパクション成形装置およびロールコンパクション成形用搬送装置
14日前
住友重機械工業株式会社
プレス装置、診断装置、プレス装置の健全性診断方法及び健全性診断プログラム
6か月前
フェッテ コンパクティング ゲーエムベーハー
回転式プレス機のペレットをプレス試験する方法。
6か月前
学校法人金沢工業大学
加工機械の制御方法、加工機械の制御装置及び制御プログラム
5か月前
コマツ産機株式会社
プレス機械の金型用の予知保全システム及び予知保全のための方法
25日前
株式会社放電精密加工研究所
機械学習装置、情報処理装置、推論装置、機械学習方法、情報処理方法、及び、推論方法
3日前
株式会社JKB
順送プレス加工方法及びその加工システム
1か月前
フェッテ コンパクティング ゲーエムベーハー
回転プレス機でペレットをテストプレスする方法および回転プレス機
5か月前
フェック ライニッシュ ゲゼルシャフト ミット ベシュレンクテル ハフツング
プレス工具及びプレスプレートの製造方法
1か月前
続きを見る
他の特許を見る