TOP
|
特許
|
意匠
|
商標
特許ウォッチ
Twitter
他の特許を見る
10個以上の画像は省略されています。
公開番号
2025068544
公報種別
公開特許公報(A)
公開日
2025-04-28
出願番号
2023178525
出願日
2023-10-16
発明の名称
加圧装置
出願人
日機装株式会社
代理人
個人
主分類
B30B
15/02 20060101AFI20250421BHJP(プレス)
要約
【課題】簡易な構成で均圧性の悪化を抑制可能な加圧装置を提供する。
【解決手段】本発明に係る加圧装置1は、被加圧物の上下に配置される上加圧ユニット2と下加圧ユニット3とを有してなる。上加圧ユニットは、加圧時に被加圧物に当接する上金型24と、上金型よりも上方に上金型に隣接して配置される上弾性部材25と、水平方向において上弾性部材の全周を囲むように配置される上筐体23と、を備える。上金型は、加圧時に被加圧物に当接する金属製で平面状の上プレス面24aを備える。上下方向視において、上プレス面が占める領域の全域は、上弾性部材が占める領域と重複する。上筐体は、非加圧時に上金型の下方向への移動を規制する規制部232を備える。上金型は、非加圧時、規制部のみにより支持されて、被加圧物への加圧の状態に応じて、上筐体に対して上下方向に摺動可能に配置される。
【選択図】図2
特許請求の範囲
【請求項1】
上下方向において被加圧物を挟み込んで加圧する加圧装置であって、
前記被加圧物の上方に配置される上加圧ユニットと、
前記被加圧物の下方に配置される下加圧ユニットと、
を有してなり、
前記上加圧ユニットは、
前記被加圧物が加圧されるとき、前記被加圧物に当接する上金型と、
前記上金型よりも上方に、前記上金型に隣接して配置される上弾性部材と、
水平方向において、前記上弾性部材の全周を囲むように配置される上筐体と、
を備えて、
前記上金型は、
前記被加圧物が加圧されるとき、前記被加圧物に当接する、金属製で平面状の上プレス面、
を備えて、
上下方向視において、前記上プレス面が占める領域の全域は、前記上弾性部材が占める領域と重複して、
前記上筐体は、
前記被加圧物が加圧されていないとき、前記上金型の下方向への移動を規制する規制部、
を備えて、
前記上金型は、
前記被加圧物が加圧されていないとき、前記規制部のみにより支持されて、
前記被加圧物への加圧の状態に応じて、前記上筐体に対して前記上下方向に摺動可能に配置される、
加圧装置。
続きを表示(約 1,300 文字)
【請求項2】
前記水平方向において、前記上筐体は、前記上金型を挟み込むように配置されて、
前記規制部は、
前記水平方向において、前記上筐体に対して前記上金型が配置される方向に突出して、または、前記上金型の一部を収容して、
前記被加圧物が加圧されていないとき、前記上金型を支持する支持面、
を備える、
請求項1に記載の加圧装置。
【請求項3】
前記上金型は、
前記上プレス面を備える金型本体部と、
前記水平方向において、前記金型本体部から突出する金型突出部と、
を備えて、
前記被加圧物が加圧されていないとき、前記支持面は、前記金型突出部に当接する、
請求項2に記載の加圧装置。
【請求項4】
前記上加圧ユニットは、
前記被加圧物を加熱または冷却する上熱ユニット、
を備えて、
前記上下方向において、前記上弾性部材は、前記上金型と前記上熱ユニットとの間に配置される、
請求項1に記載の加圧装置。
【請求項5】
前記上金型は、
前記被加圧物を加熱または冷却する上熱ユニット、
を備えて、
前記上下方向において、前記上弾性部材は、前記上熱ユニットの上方に前記上熱ユニットに隣接して配置される、
請求項1に記載の加圧装置。
【請求項6】
前記上加圧ユニットにおいて、前記上筐体または前記規制部は、着脱可能に構成されて、
前記上筐体または前記規制部が取り外されたとき、前記上金型は、交換可能である、
請求項1乃至5のいずれか1項に記載の加圧装置。
【請求項7】
上下方向視において、前記上プレス面の形状および大きさは、前記被加圧物の形状および大きさと同じである、
請求項6に記載の加圧装置。
【請求項8】
上下方向視における前記被加圧物の形状および大きさに対応する複数種の前記上金型、
を有してなる、
請求項7に記載の加圧装置。
【請求項9】
前記下加圧ユニットは、
前記被加圧物が加圧されるとき、前記被加圧物に当接する下金型、
を備えて、
前記下金型は、
前記被加圧物が加圧されるとき、前記被加圧物に当接する、金属製で平面状の下プレス面、
を備えて、
上下方向視において、前記下プレス面の形状および大きさは、前記被加圧物の形状および大きさと同じである、
請求項7に記載の加圧装置。
【請求項10】
前記下加圧ユニットは、
前記被加圧物が加圧されるとき、前記被加圧物に当接する下金型と、
前記下金型よりも下方に配置される下弾性部材と、
を備えて、
前記下金型は、
前記被加圧物が加圧されるとき、前記被加圧物に当接する、金属製で平面状の下プレス面、
を備えて、
上下方向視において、前記下プレス面が占める領域の全域は、前記下弾性部材が占める領域と重複する、
請求項1に記載の加圧装置。
(【請求項11】以降は省略されています)
発明の詳細な説明
【技術分野】
【0001】
本発明は、加圧装置に関する。
続きを表示(約 2,100 文字)
【背景技術】
【0002】
複数のシート状の基材(例えば、積層セラミックコンデンサのグリーンシート、プリント配線基板、など)が積層された積層体を加圧する装置として、加圧装置が用いられている。加圧装置は、一対の加圧ユニットにより積層体(被加圧物)を上下から挟み込み、積層体を所定の加圧力で加圧する。加圧ユニットのうち、積層体に当接する金型のプレス面は、積層体が加圧されるとき、積層体の上下面の全体に対してプレス面から均等な面圧が加えられるように、相互に平行な平面状に形成されている。
【0003】
ところで、被加圧物が平面状のプレス面により加圧されたとき、プレス面の外縁部における圧力が高くなり、プレス面の中央部における圧力が低くなる現象(均圧性の悪化、面圧の不均一化)は、よく知られている。この均圧性の悪化の正確な要因は特定されていないが、加圧時に生じる金型からの反力による加圧ユニット(金型)の撓みなどが要因の一例として挙げられている(例えば、特許文献1参照)。
【先行技術文献】
【特許文献】
【0004】
国際公開公報第2022/114113号
【発明の概要】
【発明が解決しようとする課題】
【0005】
特許文献1に開示された技術では、加圧ユニットの撓みを前提として、同撓みを吸収するための隙間が加圧ユニット内に形成されている。その結果、同技術では、加圧ユニットのうち、金型以外の歪みが隙間に吸収されることにより、金型は歪むことなく積層体を加圧できる。しかしながら、同技術では、加圧ユニットの構成、荷重、および被加圧物の大きさ(面積)などに応じた隙間の形成加工が必要となる。そのため、より簡易な構成で均圧性の悪化を抑制する(均圧性を向上させる)技術が求められている。
【0006】
本発明は、簡易な構成で均圧性の悪化を抑制可能な加圧装置を提供することを目的とする。
【課題を解決するための手段】
【0007】
本発明の一実施態様における加圧装置は、上下方向において被加圧物を挟み込んで加圧する加圧装置であって、前記被加圧物の上方に配置される上加圧ユニットと、前記被加圧物の下方に配置される下加圧ユニットと、を有してなり、前記上加圧ユニットは、前記被加圧物が加圧されるとき、前記被加圧物に当接する上金型と、前記上金型よりも上方に、前記上金型に隣接して配置される上弾性部材と、水平方向において、前記上弾性部材の全周を囲むように配置される上筐体と、を備えて、前記上金型は、前記被加圧物が加圧されるとき、前記被加圧物に当接する、金属製で平面状の上プレス面、を備えて、上下方向視において、前記上プレス面が占める領域の全域は、前記上弾性部材が占める領域と重複して、前記上筐体は、前記被加圧物が加圧されていないとき、前記上金型の下方向への移動を規制する規制部、を備えて、前記上金型は、前記被加圧物が加圧されていないとき、前記規制部のみにより支持されて、前記被加圧物への加圧の状態に応じて、前記上筐体に対して前記上下方向に摺動可能に配置される、加圧装置である。
【発明の効果】
【0008】
本発明によれば、簡易な構成で均圧性の悪化を抑制可能な加圧装置を提供できる。
【図面の簡単な説明】
【0009】
本発明に係る加圧装置の実施の形態を示す模式断面図である。
図1の加圧装置の部分拡大模式断面図である。
図1の加圧装置のA矢視における部分拡大模式下面図である。
図1の加圧装置のBB線における模式断面図である。
被加圧物が加圧されているときの図1の加圧装置を示す部分拡大模式断面図である。
均圧性の悪化を抑制する要因を説明する模式図であり、(a)は被加圧物Wが加圧されているときに生じている部材の撓みの状態を示していて、(b)は被加圧物Wが加圧されているときに生じている応力の伝播を示している。
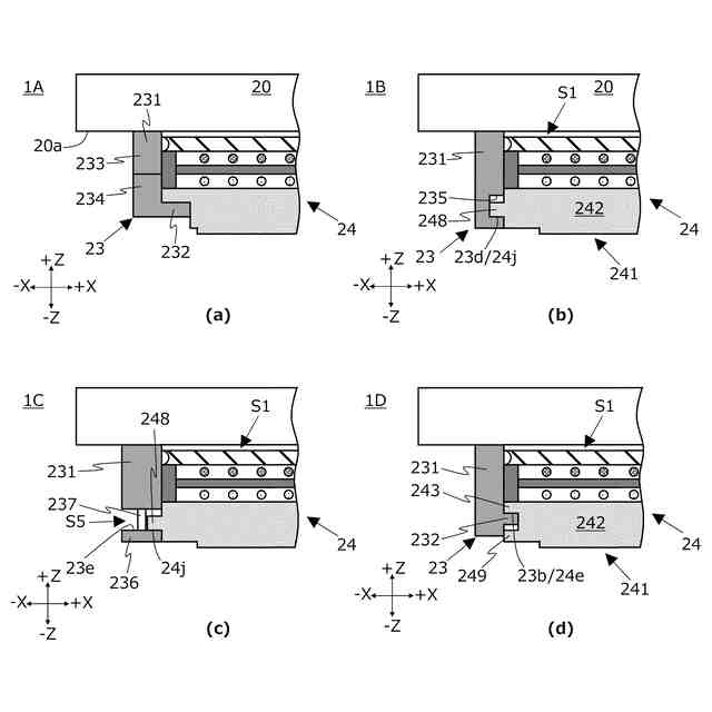
(a)は第1変形例に係る加圧装置の部分拡大模式断面図であり、(b)は第2変形例に係る加圧装置の部分拡大模式断面図であり、(c)は第3変形例に係る加圧装置の部分拡大模式断面図であり、(d)は第4変形例に係る加圧装置の部分拡大模式断面図である。
(a)は第5変形例に係る加圧装置の模式断面図であり、(b)は第6変形例に係る加圧装置の模式断面図であり、(c)は第7変形例に係る加圧装置の模式断面図であり、(d)は第8変形例に係る加圧装置の模式断面図である。
図1の加圧装置の実施例を示す圧力分布図である。
【発明を実施するための形態】
【0010】
以下、図面を参照しながら、本発明に係る加圧装置の実施の形態が説明される。以下の説明において、各図面は、適宜参照される。各図面において、同一の部材および要素については同一の符号が付されて、重複する説明は省略される。また、各要素の寸法比率は、説明の便宜上、誇張されている場合が有り、各図面に示されている比率に限定されない。
(【0011】以降は省略されています)
この特許をJ-PlatPat(特許庁公式サイト)で参照する
関連特許
日機装株式会社
遠心ポンプ
7日前
株式会社ヨコオ
製造装置
5か月前
日機装株式会社
加圧装置
5か月前
日機装株式会社
加圧システム
6か月前
大同工業株式会社
高温成形用金型
4か月前
住友重機械工業株式会社
プレス装置
5か月前
住友重機械工業株式会社
プレス装置
4か月前
日本発條株式会社
加工油供給方法及び装置
3か月前
株式会社石垣
スクリュープレスの外筒スクリーン洗浄方法
3か月前
株式会社ジェイテクトフルードパワーシステム
加圧パンチ装置
4か月前
株式会社西田製作所
工具ヘッドと据置台との組み合わせ
5か月前
いすゞ自動車株式会社
成形装置
1か月前
株式会社合同資源
金属ヨウ化物錠剤の製造方法
6か月前
株式会社金陽社
熱プレス用緩衝材
1か月前
大同特殊鋼株式会社
連続式真空ホットプレス装置
1か月前
株式会社ディムコ
ガイドユニットを備えるダブルベルトプレス装置
4か月前
住友重機械工業株式会社
プレス装置及びプレス装置の配管工程
3か月前
トヨタ自動車株式会社
ロールプレス装置
21日前
冨士発條株式会社
プレスシステム、およびトランスファ装置
2か月前
株式会社SGIC
加熱ブロック及びダブルベルトプレス
5か月前
UBEマシナリー株式会社
押出プレス装置の支援システム
3か月前
日伸工業株式会社
プレス加工システム及びプレス加工装置
今日
株式会社石垣
スクリュープレスにおける目詰まり防止機構及びそれを用いた目詰まり防止方法
5か月前
アイダエンジニアリング株式会社
プレス機械及びプレス機械の操作支援方法
1か月前
ノリタケ株式会社
ロールコンパクション成形装置およびロールコンパクション成形用搬送装置
14日前
株式会社KMC
監視システム、センサープレート及び通信制御ユニット
1か月前
住友重機械工業株式会社
プレス装置、診断装置、プレス装置の健全性診断方法及び健全性診断プログラム
6か月前
学校法人金沢工業大学
加工機械の制御方法、加工機械の制御装置及び制御プログラム
5か月前
コマツ産機株式会社
プレス機械の金型用の予知保全システム及び予知保全のための方法
25日前
株式会社放電精密加工研究所
機械学習装置、情報処理装置、推論装置、機械学習方法、情報処理方法、及び、推論方法
3日前
株式会社JKB
順送プレス加工方法及びその加工システム
1か月前
フェッテ コンパクティング ゲーエムベーハー
回転プレス機でペレットをテストプレスする方法および回転プレス機
5か月前
フェック ライニッシュ ゲゼルシャフト ミット ベシュレンクテル ハフツング
プレス工具及びプレスプレートの製造方法
1か月前
フェック ライニッシュ ゲゼルシャフト ミット ベシュレンクテル ハフツング
プレス工具及びプレスプレートの製造方法
1か月前
フィースラー・エレクトロニク・ゲゼルシャフト・ミト・ベシュレンクテル・ハフツング・ウント・コンパニー・コマンデイトゲゼルシャフト
保護装置、曲げ機械及び曲げ機械の動作方法
5か月前
アライドコーヒーロースターズ株式会社
ペレット製造装置及びペレットの製造方法
3か月前
続きを見る
他の特許を見る