TOP
|
特許
|
意匠
|
商標
特許ウォッチ
Twitter
他の特許を見る
公開番号
2025071510
公報種別
公開特許公報(A)
公開日
2025-05-08
出願番号
2023181728
出願日
2023-10-23
発明の名称
工具ヘッドと据置台との組み合わせ
出願人
株式会社西田製作所
代理人
個人
主分類
B30B
1/32 20060101AFI20250428BHJP(プレス)
要約
【課題】被加工物の姿勢に応じて工具ヘッドの姿勢を簡単に変えることのできる工具ヘッドと据置台との組み合わせを提供する。
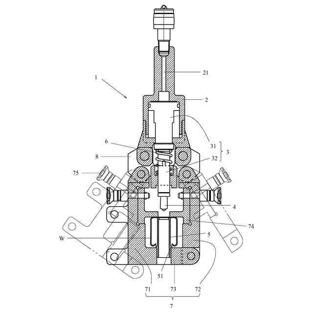
【解決手段】流体圧シリンダー2、同シリンダーのラム3の先端に取り付けられた可動型4、及びシリンダー2の出力側端部にラム3と干渉しないように取り付けられた固定型5を含む工具ヘッド1と、同工具ヘッドを所望の面に据え置くための据置台9とを備え、可動型4と固定型5との間に被加工物を配置し、シリンダー2の昇圧に伴って固定型5に対して可動型4を相対移動させることにより、前記被加工物を加工するものにおいて、工具ヘッド1は、固定型5における偏心位置でシリンダー2の軸線とねじれの位置関係にある回転軸を中心として揺動及び静止自在に据置台9に連結されていることを特徴とする。
【選択図】図2
特許請求の範囲
【請求項1】
流体圧シリンダー、同シリンダーのラムの先端に取り付けられた可動型、及び前記シリンダーの出力側端部に前記ラムと干渉しないように取り付けられた固定型を含む工具ヘッドと、同工具ヘッドを所望の面に据え置くための据置台とを備え、前記可動型と固定型との間に被加工物を配置し、前記シリンダーの昇圧に伴って前記固定型に対して前記ラムとともに前記可動型を相対移動させることにより、前記被加工物を加工するものにおいて、
前記工具ヘッドは、前記固定型における偏心位置で前記シリンダーの軸線とねじれの位置関係にある回転軸を中心として揺動及び静止自在に前記据置台に連結されている
ことを特徴とする工具ヘッドと据置台との組み合わせ。
続きを表示(約 210 文字)
【請求項2】
前記可動型がポンチ又は切り刃で、前記固定型がダイ又は受け刃である、、請求項1に記載の組み合わせ。
【請求項3】
前記据置台が、前記据置面における前記工具ヘッドの両側に安定に配置されうる支持部材と、前記回転軸を含み前記支持部材と前記工具ヘッドを連結する連結部材とを備え、同連結部材が前記支持部材に対して鉛直方向の一定範囲内の任意の高さに固定されうる、請求項1に記載の組み合わせ。
発明の詳細な説明
【技術分野】
【0001】
この発明は、油圧などの流体圧を駆動源とする工具のヘッド、例えばパンチャーやカッターなどのヘッドと、それを据え置く据置台との組み合わせに関する。
続きを表示(約 2,000 文字)
【背景技術】
【0002】
ハンガーレール又はレースウェイ(以下、単に「被加工物」ともいう。)は、ボルトやねじで天井や鴨居などの建築物に取り付けることにより、扉やカーテンなどを走行可能に吊したり、照明器具を給電可能に取り付けたりするものである。従って、通常は規格化された長さに取り付け前に切断されるとともに、前記ボルトやねじを通す孔が開けられた状態で現場に運ばれる。切断は通常、レールを通すだけの溝孔が形成された受け刃と、同じく溝孔が形成されて受け刃と面対偶の関係にあって移動可能な切り刃とを備えるカッターによって行われる。
【0003】
切断と穴開けとは、カッターと穴開け工具とを近くに配置させて流れ作業で行われることがある。穴開けの工具としては、ドリルと油圧パンチャーとがあり、それぞれ一長一短であり、油圧パンチャーの方が細かな切りくずを生じない、騒音が小さい、などの利点を有する。油圧パンチャーは、可動型であるポンチと固定型であるダイとの間にレールを挿入し、ポンチとダイの嵌合に伴う剪断力によって一気に孔を開けるからである。
【0004】
ハンガーレールにしろレースウェイにしろ通常、中板部と両側壁部とからなる断面視コの字形状を有しているところ、カッターによっては、前記溝孔が下向きコの字形状を有しているものと上向きコの字形状を有しているものがある。また、パンチャーにしても前記中板部の外面をダイで支持するタイプと(特許文献1、2)、内面を支持するタイプとがある。従って、切断時と孔開け時とで被加工物の姿勢を変えなければならない場合がある。
【先行技術文献】
【特許文献】
【0005】
実用新案登録第3011026号公報
実用新案登録第3019678号公報
【発明の概要】
【発明が解決しようとする課題】
【0006】
しかし、切断と穴開けを前記のように流れ作業で行う場合、被加工物の姿勢を切断時と穴開け時とで変える必要が無ければそれだけ作業効率が上がる。かといって、前工程と後工程とで被加工物の姿勢を合わせるために、前工程と後工程とのそれぞれで複数の油圧工具を所有することは作業者に経済的負担を強いることとなる。
それ故、この発明の課題は、被加工物の姿勢に応じて工具ヘッドの姿勢を簡単に変えることのできる工具ヘッドと据置台との組み合わせを提供することにある。
【課題を解決するための手段】
【0007】
その課題を解決するために、この発明の工具ヘッドと据置台との組み合わせは、
流体圧シリンダー、同シリンダーのラムの先端に取り付けられた可動型、及び前記シリンダーの出力側端部に前記ラムと干渉しないように取り付けられた固定型を含む工具ヘッドと、同工具ヘッドを所望の面に据え置くための据置台とを備え、前記可動型と固定型との間に被加工物を配置し、前記シリンダーの昇圧に伴って前記固定型に対して前記ラムとともに前記可動型を相対移動させることにより、前記被加工物を加工するものにおいて、
前記工具ヘッドは、前記固定型における偏心位置で前記シリンダーの軸線とねじれの位置関係にある回転軸を中心として揺動及び静止自在に前記据置台に連結されている
ことを特徴とする。
【0008】
この組み合わせによれば、工具ヘッドが揺動及び静止自在に据置台に連結されているので、工具ヘッドの姿勢を被加工物の姿勢に簡単に合わせることができる。しかも、その工具ヘッドが、前記固定型における偏心位置で前記シリンダーの軸線とねじれの位置関係にある回転軸を介して前記据置台に連結されているので、被加工物がレールのように長い物であっても、前記可動型と固定型との間への被加工物の配置を前記回転軸が妨げることもない。前記可動型は典型的にはポンチ又は切り刃で、前記固定型はダイ又は受け刃である。
【0009】
工具ヘッドと据置台との組み合わせは、前記据置台が、前記据置面における前記工具ヘッドの両側に安定に配置されうる支持部材と、前記回転軸を含み前記支持部材と前記工具ヘッドを連結する連結部材とを備え、同連結部材が前記支持部材に対して鉛直方向の一定範囲内の任意の高さに固定されうるものであってよい。これにより工具ヘッドの姿勢だけでなく、前工程又は後工程における被加工物の高さに応じて工具ヘッドの高さを調整することができる。
【発明の効果】
【0010】
以上のように、この発明の工具ヘッドと据置台との組み合わせによれば、様々な姿勢の被加工物に使用可能であるから、作業者の経済的負担を軽減する。
【図面の簡単な説明】
(【0011】以降は省略されています)
この特許をJ-PlatPat(特許庁公式サイト)で参照する
関連特許
株式会社ヨコオ
製造装置
5か月前
日機装株式会社
加圧装置
6か月前
日機装株式会社
加圧システム
6か月前
株式会社ササキコーポレーション
圧縮装置
7か月前
株式会社ササキコーポレーション
圧縮装置
7か月前
トヨタ紡織株式会社
プレス装置
6か月前
大同工業株式会社
高温成形用金型
4か月前
住友重機械工業株式会社
プレス装置
5か月前
住友重機械工業株式会社
プレス装置
4か月前
日本発條株式会社
加工油供給方法及び装置
3か月前
株式会社石垣
スクリュープレスの外筒スクリーン洗浄方法
3か月前
株式会社西田製作所
工具ヘッドと据置台との組み合わせ
5か月前
株式会社ジェイテクトフルードパワーシステム
加圧パンチ装置
4か月前
シージーケー株式会社
プレス装置
7か月前
個人
プレス機械の往復運動を利用したスクラップ搬送装置
7か月前
いすゞ自動車株式会社
成形装置
1か月前
株式会社合同資源
金属ヨウ化物錠剤の製造方法
6か月前
大同特殊鋼株式会社
連続式真空ホットプレス装置
1か月前
株式会社金陽社
熱プレス用緩衝材
1か月前
株式会社ディムコ
ガイドユニットを備えるダブルベルトプレス装置
4か月前
トヨタ紡織株式会社
金型装置の下死点把握方法及び金型装置
7か月前
住友重機械工業株式会社
プレス装置及びプレス装置の配管工程
3か月前
トヨタ自動車株式会社
ロールプレス装置
22日前
冨士発條株式会社
プレスシステム、およびトランスファ装置
2か月前
株式会社SGIC
加熱ブロック及びダブルベルトプレス
5か月前
UBEマシナリー株式会社
押出プレス装置の支援システム
3か月前
日伸工業株式会社
プレス加工システム及びプレス加工装置
1日前
株式会社石垣
スクリュープレスにおける目詰まり防止機構及びそれを用いた目詰まり防止方法
5か月前
アイダエンジニアリング株式会社
プレス機械及びプレス機械の操作支援方法
1か月前
株式会社KMC
監視システム、センサープレート及び通信制御ユニット
1か月前
ノリタケ株式会社
ロールコンパクション成形装置およびロールコンパクション成形用搬送装置
15日前
住友重機械工業株式会社
プレス装置、診断装置、プレス装置の健全性診断方法及び健全性診断プログラム
6か月前
フェッテ コンパクティング ゲーエムベーハー
回転式プレス機のペレットをプレス試験する方法。
6か月前
学校法人金沢工業大学
加工機械の制御方法、加工機械の制御装置及び制御プログラム
5か月前
コマツ産機株式会社
プレス機械の金型用の予知保全システム及び予知保全のための方法
26日前
株式会社放電精密加工研究所
機械学習装置、情報処理装置、推論装置、機械学習方法、情報処理方法、及び、推論方法
4日前
続きを見る
他の特許を見る