TOP
|
特許
|
意匠
|
商標
特許ウォッチ
Twitter
他の特許を見る
公開番号
2025173531
公報種別
公開特許公報(A)
公開日
2025-11-28
出願番号
2024079076
出願日
2024-05-15
発明の名称
空き缶潰し器
出願人
有限会社ダイルクラブ
代理人
個人
主分類
B30B
9/32 20060101AFI20251120BHJP(プレス)
要約
【課題】従来の空き缶潰し器は、空き缶を潰すためには大きな力が必要であり、潰した後はゴミ箱を探すほかない。
【解決手段】開口部及び缶スロープ部を有し、側部を押し潰した状態の空き缶を載置可能なベース部と、多角柱状の缶潰し突起部を幅方向に配し、一端側が上方に付勢された状態で他端側が前記ベース部端に回動可能に取り付けられたレバー部とを備えた
ことを特徴とする空き缶潰し器を用いることによって、比較的小さい力で空き缶を潰すことが可能となり、空き缶回収部に自動的に潰れた空き缶が入る構造であるため、従来の空き缶ゴミ箱に載せることによって、1つの空き缶ゴミ箱の回収量が増え、街中の美化に貢献できる。
【選択図】図5
特許請求の範囲
【請求項1】
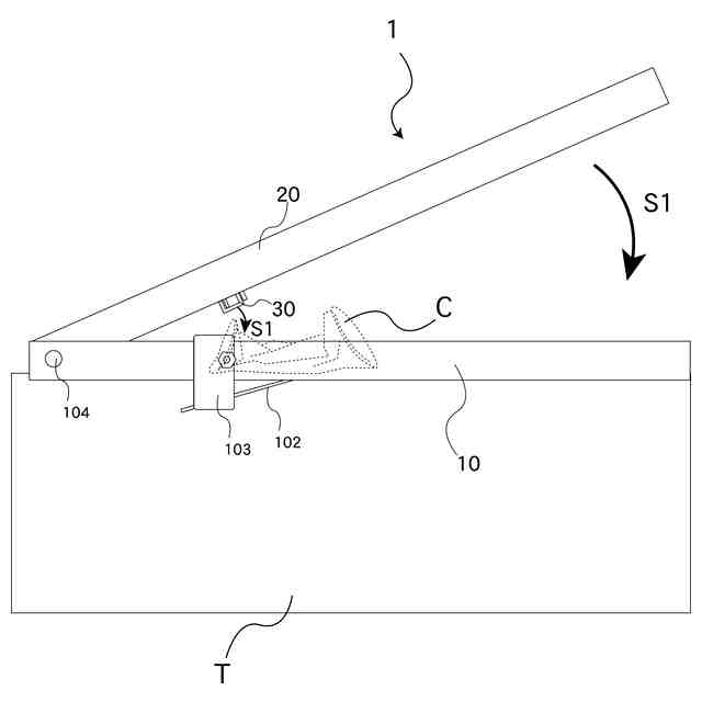
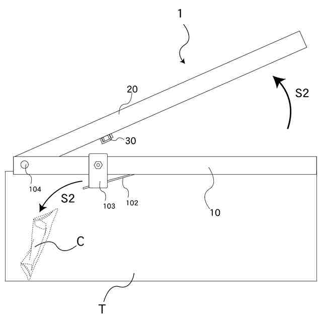
開口部及び缶スロープ部を有し、側部を押し潰した状態の空き缶を載置可能なベース部と、
多角柱状の缶潰し突起部を幅方向に配し、一端側が上方に付勢された状態で他端側が前記ベース部端に回動可能に取り付けられたレバー部と、
を備え、
前記空き缶の上部または底部の一方を押し潰した後、奥にスライド、又は他方に入れ替えて押し潰し可能とする、
ことを特徴とする空き缶潰し器。
続きを表示(約 340 文字)
【請求項2】
前記ベース部の下部に、空き缶回収部を配する、
ことを特徴とする請求項1記載の空き缶潰し器。
【請求項3】
前記ベース部に備えられた前記開口部の開口部幅は100mm乃至140mm、開口部高は10mm乃至50mmであり、缶スロープ部の長さは100mm乃至200mmである、
ことを特徴とする請求項1記載の空き缶潰し器。
【請求項4】
前記レバー部に備えられた缶潰し突起部の形状は、四角柱形状である、
ことを特徴とする請求項1記載の空き缶潰し器。
【請求項5】
前記レバー部に備えられた缶潰し突起部の素材は、鉄、アルミニウム又はプラスチックである、 ことを特徴とする請求項1記載の空き缶潰し器。
発明の詳細な説明
【技術分野】
【0001】
本発明は、空き缶を手の力で押し潰す空き缶潰し器に関する。
続きを表示(約 990 文字)
【背景技術】
【0002】
従来の空き缶潰し器としては、手動式のもの、足踏み式のもの、電動式のもの等が存在する。
【先行技術文献】
【特許文献】
【0003】
実願昭50-156048号
特開2011-245511号
【発明の概要】
【発明が解決しようとする課題】
【0004】
例えば、特許文献1記載の考案は、押し潰しレバーの下面側に空き缶すべり止めの突起を設けた空き缶潰し器である。
【0005】
また、特許文献2の発明は、コンパクトかつ、屋外にも容易に持ち運んで使用することが可能であり、構造も簡易であった。
【0006】
しかし上記考案及び発明は、空き缶を潰すためには大きな力が必要であり、潰した後はゴミ箱を探すほかない。
【課題を解決するための手段】
【0007】
前記課題を解決するために、請求項1の発明は、開口部及び缶スロープ部を有し、側部を押し潰した状態の空き缶を載置可能なベース部と、多角柱状の缶潰し突起部を幅方向に配し、一端側が上方に付勢された状態で他端側が前記ベース部端に回動可能に取り付けられたレバー部を備え、前記空き缶の上部または底部の一方を押し潰した後、奥にスライド、又は他方に入れ替えて押し潰し可能とすることを特徴としている。
【0008】
また、請求項2の発明は、請求項1記載の空き缶潰し器であって、前記ベース部の下部に、空き缶回収部を配することを特徴としている。
【0009】
さらに、請求項3の発明は、請求項1記載の空き缶潰し器であって、前記ベース部に備えられた前記開口部の開口部幅は100mm乃至140mm、開口部高は10mm乃至50mmであり、缶スロープ部の長さは100mm乃至200mmであることを特徴としている。
【発明の効果】
【0010】
上記発明によれば、比較的小さい力で空き缶を潰すことが可能となり、空き缶回収部に自動的に潰れた空き缶が入る構造であるため、従来の空き缶ゴミ箱に載せることによって、1つの空き缶ゴミ箱の回収量が増え、街中の美化に貢献できる。
【図面の簡単な説明】
(【0011】以降は省略されています)
この特許をJ-PlatPat(特許庁公式サイト)で参照する
関連特許
有限会社ダイルクラブ
空き缶潰し器
7日前
日機装株式会社
加圧装置
1か月前
相源株式会社
制御装置
1か月前
有限会社ダイルクラブ
空き缶潰し器
7日前
大同工業株式会社
高温成形用金型
5か月前
住友重機械工業株式会社
プレス装置
6か月前
日本発條株式会社
加工油供給方法及び装置
4か月前
株式会社石垣
スクリュープレスの外筒スクリーン洗浄方法
5か月前
株式会社ジェイテクトフルードパワーシステム
加圧パンチ装置
6か月前
いすゞ自動車株式会社
成形装置
3か月前
株式会社菊水製作所
成形品製造用機械の監視システム
16日前
マクセル株式会社
粉体成型体の製造方法及び製造装置
23日前
株式会社金陽社
熱プレス用緩衝材
2か月前
大同特殊鋼株式会社
連続式真空ホットプレス装置
2か月前
株式会社ディムコ
ガイドユニットを備えるダブルベルトプレス装置
6か月前
住友重機械工業株式会社
プレス装置及びプレス装置の配管工程
5か月前
トヨタ自動車株式会社
ロールプレス装置
2か月前
冨士発條株式会社
プレスシステム、およびトランスファ装置
3か月前
UBEマシナリー株式会社
押出プレス装置の支援システム
5か月前
日伸工業株式会社
プレス加工システム及びプレス加工装置
1か月前
アイダエンジニアリング株式会社
プレス機械及びプレス機械の操作支援方法
2か月前
ノリタケ株式会社
ロールコンパクション成形装置およびロールコンパクション成形用搬送装置
1か月前
株式会社KMC
監視システム、センサープレート及び通信制御ユニット
3か月前
アピックヤマダ株式会社
プレス装置、プレス方法、樹脂封止装置及び樹脂封止方法
28日前
コマツ産機株式会社
プレス機械の金型用の予知保全システム及び予知保全のための方法
2か月前
株式会社放電精密加工研究所
機械学習装置、情報処理装置、推論装置、機械学習方法、情報処理方法、及び、推論方法
1か月前
株式会社JKB
順送プレス加工方法及びその加工システム
3か月前
フェッテ コンパクティング ゲーエムベーハー
回転式錠剤プレス機および回転式錠剤プレス機を用いたプレスパンチの潤滑方法
21日前
日本精工株式会社
サーボプレス機構、プレス加工方法、軸受の製造方法、機械装置の製造方法、及び車両の製造方法
2日前
フェック ライニッシュ ゲゼルシャフト ミット ベシュレンクテル ハフツング
プレス工具及びプレスプレートの製造方法
3か月前
フェック ライニッシュ ゲゼルシャフト ミット ベシュレンクテル ハフツング
プレス工具及びプレスプレートの製造方法
3か月前
アライドコーヒーロースターズ株式会社
ペレット製造装置及びペレットの製造方法
5か月前
株式会社カプコン
プログラム、情報処理方法および情報処理装置
2か月前
株式会社カプコン
プログラム、情報処理方法および情報処理装置
2か月前
株式会社カプコン
プログラム、情報処理方法および情報処理装置
2か月前
トヨタ自動車株式会社
車両および車両制御インターフェース
今日
続きを見る
他の特許を見る