TOP
|
特許
|
意匠
|
商標
特許ウォッチ
Twitter
他の特許を見る
10個以上の画像は省略されています。
公開番号
2025129069
公報種別
公開特許公報(A)
公開日
2025-09-03
出願番号
2025077090,2023575917
出願日
2025-05-07,2022-10-25
発明の名称
プレス工具及びプレスプレートの製造方法
出願人
フェック ライニッシュ ゲゼルシャフト ミット ベシュレンクテル ハフツング
代理人
個人
,
個人
,
個人
,
個人
,
個人
主分類
B30B
15/06 20060101AFI20250827BHJP(プレス)
要約
【課題】本発明は、プレス面を有するプレス工具、及びプレス工具の製造方法に関する。
【解決手段】本発明は、プレス面(2)を備えた、工作物を製造するためのプレス工具に関する。このプレス工具は、ベース構造体(10)と、表面(31)上に配置されたプレス面(2)を形成する少なくとも2つのセラミック層(11、12)とを含み、複数のセラミック層(11、12)のうちの第1セラミック層(11)は第1の光沢度を有し、第2セラミック層(12)は第1セラミック層(11)の第1の光沢度とは異なる第2の光沢度を有する。
【選択図】図2
特許請求の範囲
【請求項1】
工作物を製造するためのプレス工具であって、
プレス面(2)と、
表面(31)を備えたベース構造体(10)と、
前記表面(31)上に配置され、前記プレス面(2)を形成する少なくとも2つのセラミック層(11、12)であって、第1セラミック層(11)は第1の光沢度を有し、第2セラミック層(12)は前記第1セラミック層(11)の前記第1の光沢度とは異なる第2の光沢度を有する、工作物を製造するためのプレス工具。
続きを表示(約 1,000 文字)
【請求項2】
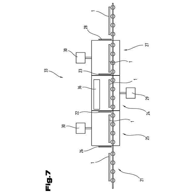
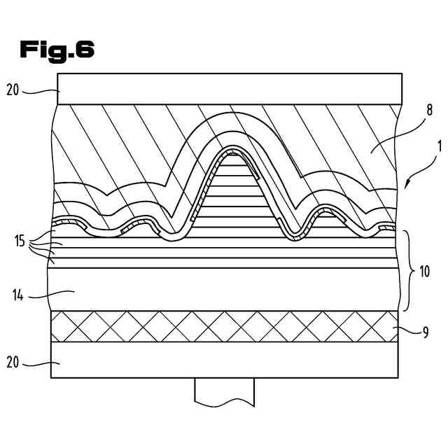
前記プレス工具は材料ボード(8)を製造するためのプレスプレート(1)である、請求項1に記載のプレス工具。
【請求項3】
前記プレス工具の前記ベース構造体(10)は、金属、特にステンレス鋼からなる支持構造体(14)を有する、請求項1又は2に記載のプレス工具。
【請求項4】
前記プレス面(2)は、隆起部(4)と凹み部(3)の構造を有し、前記ベース構造体(10)は支持構造体(14)上に設けられた構造化された表面(31)を有しており、
少なくとも2つの、特に金属製のベース構造層(15)が前記支持構造体(14)上に設けられ、前記ベース構造層(15)は、少なくとも部分的に互いに重なり合って配置され、前記ベース構造体(10)の前記構造化された表面(31)を形成する、請求項1~3の何れか一項に記載のプレス工具。
【請求項5】
前記第1セラミック層(11)又は前記第2セラミック層(12)は、前記ベース構造体(10)の構造化された表面(31)に部分的にのみ塗布され、前記構造化された表面(31)のリリーフ層構造(16)を形成する、請求項1~4の何れか一項に記載のプレス工具。
【請求項6】
前記第1セラミック層(11)と前記第2セラミック層(12)は、それぞれ前記ベース構造体(10)の構造化された表面(31)に部分的にのみ塗布されている、請求項1~4の何れか一項に記載のプレス工具。
【請求項7】
前記第2セラミック層(12)は少なくとも部分的に前記第1セラミック層(11)上に配置されている、請求項1~6の何れか一項に記載のプレス工具。
【請求項8】
前記第1セラミック層(11)又は前記第2セラミック層(12)は、少なくともレーザー加工領域(17)でレーザーを用いて加工されている、請求項1~7の何れか一項に記載のプレス工具。
【請求項9】
前記第2セラミック層(12)内に、前記ベース構造体(10)の方向に見て前記第1セラミック層(11)まで達する開口部(5)が設けられている、請求項7に記載のプレス工具。
【請求項10】
前記開口部(5)は、塗布された前記第2セラミック層(12)の後続加工によって作製された切り込み(6)である、請求項9に記載のプレス工具。
(【請求項11】以降は省略されています)
発明の詳細な説明
【技術分野】
【0001】
本発明は、プレス面を有するプレス工具、及びプレス工具の製造方法に関する。
続きを表示(約 1,900 文字)
【背景技術】
【0002】
プレスプレート、エンドレスベルト、エンボスローラなどの形態のプレス工具は、特に木工産業において、例えば家具や、ラミネート又はパネルなどの材料ボード、即ち一般に工作物の製造に使用される。工作物はプレス工具のプレス面でプレスされて、工作物にプレス面に対応する表面が与えられる。
【0003】
材料ボード、例えば木質系材料ボードは、家具産業や内装仕上げ用、例えばラミネートフローリング用に必要とされる。材料ボードは、MDF(中密度繊維板)又はHDF(高密度繊維板)製の芯材を有し、その芯材の少なくとも片面には、例えば(視覚的)装飾層や保護層(オーバーレイ層)など、様々な材料層が形成されている。
【0004】
製造された材料ボードの反りを避けるため、このような材料ボードは通常、両面に同じ数の材料層が設けられている。材料ボードの個々の層(芯材、材料層など)を互いに結合するため、これらはプレス機で特殊なプレス工具、特にプレスプレート又はエンドレスベルトを使用して互いにプレスされる。その際に材料ボードの表面刻印も行われる。通常はホットプレスを用いて、熱の作用プラスチック材料を融合させることによって、熱硬化性樹脂、例えばメラミン樹脂の様々な材料層を芯材の表面と結合する。
【0005】
この場合、装飾層が、材料ボードの模様と色彩を決定する。一方、所望の表面構造は、適切なプレス工具を使用することによって達成することができる。例えば木やタイルの装飾を装飾層(装飾紙)に印刷したり、それぞれの使用目的に応じて芸術的にデザインされた模様や色彩の装飾層を使用したりできる。その際に、上面又は下面に印刷されたオーバーレイ層も使用できる。
【0006】
実物どおりの再現を改善するために、プレス工具は、特に木材、タイル又は天然石の装飾を有する材料ボードの場合、装飾層と完全に一致するように設計されて、所望の表面構造のネガティブ画像を形成する表面構造を備える。したがってプレス工具は、例えば木の表面の葉脈を模倣する3Dプロファイル(奥行構造)を備えて、例えば材料ボードの装飾層にそのような木の表面の外観を与えることができる。
【0007】
材料ボード若しくはラミネートの一致した表面刻印、即ち装飾層とラミネートのプレス面の構造に必要な正確な一致を達成するためには、プレス工具の製造に高い品質基準が要求される。特にプレスプレート又はエンドレスベルトは、プレスプレート及び好ましくはプレスパッドで覆われたショートサイクルプレス機で上型及び下型として使用され、或いはエンドレスベルトの場合にはダブルベルトプレスで使用されて、材料ボードの刻印と加熱が同時に行われる。その結果、材料ボードの装飾層及び/又はオーバーレイ層の熱硬化性樹脂が最初に溶融されて、プレス工具のプレス面の構造に対応する表面構造が外側の材料層に導入され、続く硬化により構造化された材料層が材料ボードの芯材と結合される。
【0008】
特許文献1は、エンボス型の構造化されたプレス面を加工する方法を開示している。第1のクロム層を全面に施した表面上に、所定の領域で少なくとも1つの別のクロム層が配置される。両クロム層の光沢度は異なる。プレス面によって、光沢度が異なる構造を有する表面を持つ材料ボードとして形成された工作物を製造することができる。このプレス工具の製造は、クロム層の使用と複数のマスキング工程及び洗浄工程により、環境に比較的有害である。
【0009】
特許文献2には、樹脂を含浸させた紙から装飾ラミネートを製造するための平坦なプレス面の製造方法が開示されている。この目的のために、平坦なプレス面に所望の仕上げを施し、平坦な表面から不純物を除去し、この平坦な表面に二ホウ化ハフニウム、二ホウ化モリブデン、二ホウ化タンタル、二ホウ化チタン、二ホウ化タングステン、二ホウ化バナジウム、二ホウ化ジルコニウム又はこれらの物質の混合物が、表面マグネトロンスパッタリング被覆装置で、少なくとも2000HVのビッカース硬さに被覆され、そのために平坦な表面と表面マグネトロンスパッタリング被覆装置のスパッタリングヘッドとを、平坦なプレス面内に27.78℃以下の熱勾配を生じさせるのに十分な走査速度で相対的に動かす。
【先行技術文献】
【特許文献】
【0010】
国際公開第2009/062488(A2)号
米国特許第6190514(B1)号明細書
【発明の概要】
【発明が解決しようとする課題】
(【0011】以降は省略されています)
この特許をJ-PlatPat(特許庁公式サイト)で参照する
関連特許
日機装株式会社
加圧装置
1か月前
相源株式会社
制御装置
1か月前
有限会社ダイルクラブ
空き缶潰し器
10日前
いすゞ自動車株式会社
成形装置
3か月前
株式会社菊水製作所
成形品製造用機械の監視システム
19日前
マクセル株式会社
粉体成型体の製造方法及び製造装置
26日前
大同特殊鋼株式会社
連続式真空ホットプレス装置
3か月前
株式会社金陽社
熱プレス用緩衝材
3か月前
トヨタ自動車株式会社
ロールプレス装置
2か月前
日伸工業株式会社
プレス加工システム及びプレス加工装置
1か月前
アイダエンジニアリング株式会社
プレス機械及びプレス機械の操作支援方法
2か月前
株式会社KMC
監視システム、センサープレート及び通信制御ユニット
3か月前
ノリタケ株式会社
ロールコンパクション成形装置およびロールコンパクション成形用搬送装置
1か月前
アピックヤマダ株式会社
プレス装置、プレス方法、樹脂封止装置及び樹脂封止方法
1か月前
コマツ産機株式会社
プレス機械の金型用の予知保全システム及び予知保全のための方法
2か月前
株式会社放電精密加工研究所
機械学習装置、情報処理装置、推論装置、機械学習方法、情報処理方法、及び、推論方法
1か月前
株式会社JKB
順送プレス加工方法及びその加工システム
3か月前
フェッテ コンパクティング ゲーエムベーハー
回転式錠剤プレス機および回転式錠剤プレス機を用いたプレスパンチの潤滑方法
24日前
日本精工株式会社
サーボプレス機構、プレス加工方法、軸受の製造方法、機械装置の製造方法、及び車両の製造方法
5日前
フェック ライニッシュ ゲゼルシャフト ミット ベシュレンクテル ハフツング
プレス工具及びプレスプレートの製造方法
3か月前
フェック ライニッシュ ゲゼルシャフト ミット ベシュレンクテル ハフツング
プレス工具及びプレスプレートの製造方法
3か月前
株式会社カプコン
プログラム、情報処理方法および情報処理装置
3か月前
株式会社カプコン
プログラム、情報処理方法および情報処理装置
2か月前
株式会社カプコン
プログラム、情報処理方法および情報処理装置
2か月前
トヨタ自動車株式会社
車両および車両制御インターフェース
3日前
ローム株式会社
時間測定回路
2か月前
株式会社カプコン
プログラム、情報処理方法および情報処理装置
2か月前
甘李薬業股フン有限公司
インスリン誘導体
1か月前
セラ セラピューティクス エルエルシー
眼圧降下剤、神経栄養剤、C型ナトリウム利尿ペプチド、ナトリウム利尿ペプチド受容体B、アポトーシスシグナリング断片化阻害剤またはFASリガンド阻害剤を含む、緑内障または高眼圧症を治療するための薬剤送達系
1か月前
ミルウォーキー エレクトリック ツール コーポレイション
バッテリパック
1か月前
サノフイ
ヒトのがんを治療するための特異的抗CD38抗体
2か月前
キヤノン株式会社
モジュール
2か月前
カバー株式会社
仮想空間コンテンツ配信システム、仮想空間コンテンツ配信プログラム、および仮想空間コンテンツ配信方法
2か月前
カバー株式会社
仮想空間コンテンツ配信システム、仮想空間コンテンツ配信プログラム、および仮想空間コンテンツ配信方法
2か月前
カバー株式会社
仮想空間コンテンツ配信システム、仮想空間コンテンツ配信プログラム、および仮想空間コンテンツ配信方法
2か月前
カバー株式会社
仮想空間コンテンツ配信システム、仮想空間コンテンツ配信プログラム、および仮想空間コンテンツ配信方法
2か月前
続きを見る
他の特許を見る