TOP
|
特許
|
意匠
|
商標
特許ウォッチ
Twitter
他の特許を見る
10個以上の画像は省略されています。
公開番号
2025159483
公報種別
公開特許公報(A)
公開日
2025-10-21
出願番号
2024062072
出願日
2024-04-08
発明の名称
機械学習装置、情報処理装置、推論装置、機械学習方法、情報処理方法、及び、推論方法
出願人
株式会社放電精密加工研究所
代理人
個人
,
個人
主分類
B30B
15/00 20060101AFI20251014BHJP(プレス)
要約
【課題】プレス加工機の状態及び特性に基づいてメンテナンスの情報を推論するための学習モデルを生成する機械学習装置を提供する。
【解決手段】学習モデル44aを生成する機械学習装置4であって、電動プレス加工機の所定部分の状態を示す状態情報、及び、電動プレス加工機の所定部分の特性を示す特性情報を含む入力情報と、電動プレス加工機のメンテナンスに関するメンテナンス情報と、をそれぞれ含み、入力情報とメンテナンス情報とが対応付けられた学習用データを複数組記憶する学習用データ記憶部42と、学習モデル44aに学習用データを複数組入力することで、入力情報とメンテナンス情報との相関関係を学習モデル44aに学習させる機械学習部43と、機械学習部43により学習させた学習モデル44aを記憶する学習済みモデル記憶部44と、を備える。
【選択図】図7
特許請求の範囲
【請求項1】
電動プレス加工機におけるメンテナンスに関する情報を推論するための学習モデルを生成する機械学習装置であって、
前記電動プレス加工機の所定部分の状態を示す状態情報、及び、前記電動プレス加工機の所定部分の特性を示す特性情報を含む入力情報と、前記電動プレス加工機のメンテナンスに関するメンテナンス情報と、をそれぞれ含み、前記入力情報及び前記メンテナンス情報が対応付けられた学習用データを複数組記憶する学習用データ記憶部と、
前記学習モデルに前記学習用データを複数組入力することで、前記入力情報と前記メンテナンス情報との相関関係を前記学習モデルに学習させる機械学習部と、
前記機械学習部により学習させた前記学習モデルを記憶する学習済みモデル記憶部と、を備える、
機械学習装置。
続きを表示(約 1,600 文字)
【請求項2】
前記状態情報は、
前記電動プレス加工機の本体の状態を示す本体状態情報、
前記電動プレス加工機に用いられる金型の状態を示す金型状態情報、
前記電動プレス加工機で加工される被加工材の状態を示す被加工材状態情報、
又は、
前記電動プレス加工機に用いられる潤滑剤の状態を示す潤滑剤状態情報、
の少なくとも1つ
を含む
請求項1に記載の機械学習装置。
【請求項3】
前記本体状態情報は、
加工時の前記電動プレス加工機の本体のスライダーの少なくとも一部にかかる荷重を示すスライダー荷重、
加工時の前記スライダーの少なくとも一部の位置を示すスライダー位置、
又は、
前記金型を交換した後の前記スライダーのショット数、
の少なくとも1つ
を含む
請求項2に記載の機械学習装置。
【請求項4】
前記金型状態情報は、
加工時の前記金型の少なくとも一部にかかる荷重を示す金型荷重、
加工時の前記金型の少なくとも一部の温度を示す金型温度、
又は
加工前後の前記金型の寸法の変化を示す金型変位、
の少なくとも1つ
を含む
請求項2に記載の機械学習装置。
【請求項5】
前記被加工材状態情報は、
加工後の前記被加工材の少なくとも一部の寸法を示す加工後寸法、
加工後の前記被加工材の少なくとも一部の表面粗さを示す表面性、
加工時の前記被加工材の少なくとも一部の温度を示す被加工材温度、
又は、
加工前後の前記被加工材の寸法の変化を示す被加工材変位、
の少なくとも1つ
を含む
請求項2に記載の機械学習装置。
【請求項6】
前記潤滑剤状態情報は、
加工時の前記潤滑剤の少なくとも一部の粘度を示す潤滑剤粘度、
加工時の前記潤滑剤の少なくとも一部の温度を示す潤滑剤温度、
又は、
加工時の前記潤滑剤の周囲の少なくとも一部の湿度を示す周囲湿度、
の少なくとも1つ
を含む
請求項2に記載の機械学習装置。
【請求項7】
前記特性情報は、
前記電動プレス加工機に用いられる金型の特性を示す金型特性情報、
前記電動プレス加工機で加工される被加工材の特性を示す被加工材特性情報、
又は、
前記電動プレス加工機に用いられる潤滑剤の特性を示す潤滑剤特性情報、
の少なくとも1つ
を含む
請求項1に記載の機械学習装置。
【請求項8】
前記金型特性情報は、
前記金型の材料名を示す金型材料名、
前記金型の荷重に対する変形を示す金型荷重特性、
又は
前記金型の温度に対する変形を示す金型温度特性、
の少なくとも1つ
を含む
請求項7に記載の機械学習装置。
【請求項9】
前記被加工材特性情報は、
前記被加工材の材料名を示す被加工材材料名、
前記被加工材の荷重に対する変形を示す被加工材荷重特性、
又は
前記被加工材の温度に対する変形を示す被加工材温度特性、
の少なくとも1つ
を含む
請求項7に記載の機械学習装置。
【請求項10】
前記潤滑剤特性情報は、
前記潤滑剤の材料名を示す潤滑剤材料名、
前記潤滑剤の温度に対する粘度、膨張率又は収縮率を示す潤滑剤温度特性、
又は、
前記潤滑剤の湿度に対する粘度、膨張率又は収縮率を示す潤滑剤湿度特性、
の少なくとも1つ
を含む
請求項7に記載の機械学習装置。
(【請求項11】以降は省略されています)
発明の詳細な説明
【技術分野】
【0001】
本発明は、機械学習装置、情報処理装置、推論装置、機械学習方法、情報処理方法、及び、推論方法に関する。
続きを表示(約 1,900 文字)
【背景技術】
【0002】
従来、金型の使用履歴や掲示履歴を詳細に表示することで、使用回数だけでなく保管状況等も加味し管理状況を表示する金型プレス装置が開示されている(特許文献1参照)。特許文献1に記載の技術によれば、使用回数だけでなく保管状況等も加味した管理状況を表示することができるので、より信頼性の高い加工工具の履歴管理を実現することができる。
【先行技術文献】
【特許文献】
【0003】
特開2018-063668号公報
【発明の概要】
【発明が解決しようとする課題】
【0004】
しかしながら、特許文献1の金型プレス装置は、使用回数及び保管状況を加味した管理状況を表示するのみであって、金型等の状態及び特性を考慮するものではなく、メンテナンスの必要性を予測するものでもなかった。
【0005】
本発明は、様々な形式のプレス加工機に用いることができ、プレス加工機の状態及び特性に基づいてメンテナンスの情報を推論するための学習モデルを生成する機械学習装置を提供することを目的としている。
【課題を解決するための手段】
【0006】
本発明にかかる機械学習装置は、
電動プレス加工機におけるメンテナンスに関する情報を推論するための学習モデルを生成する機械学習装置であって、
前記電動プレス加工機の所定部分の状態を示す状態情報、及び、前記電動プレス加工機の所定部分の特性を示す特性情報を含む入力情報と、前記電動プレス加工機のメンテナンスに関するメンテナンス情報と、をそれぞれ含み、前記入力情報及び前記メンテナンス情報が対応付けられた学習用データを複数組記憶する学習用データ記憶部と、
前記学習モデルに前記学習用データを複数組入力することで、前記入力情報と前記メンテナンス情報との相関関係を前記学習モデルに学習させる機械学習部と、
前記機械学習部により学習させた前記学習モデルを記憶する学習済みモデル記憶部と、を備える。
【発明の効果】
【0007】
本発明にかかる機械学習装置によれば、様々な形式のプレス加工機に用いることができ、プレス加工機の状態及び特性に基づいてメンテナンスの情報を推論するための学習モデルを生成することができる。
【図面の簡単な説明】
【0008】
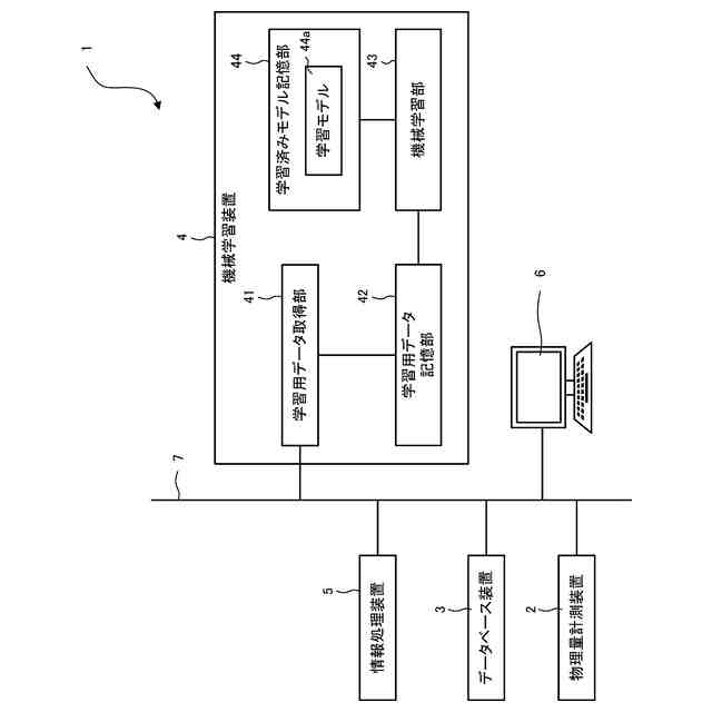
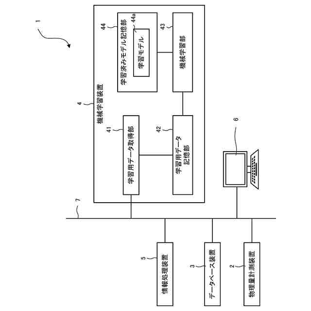
本実施形態の情報処理システム1の一例を示す。
本実施形態の情報処理システム1で扱われる情報の一例を示す。
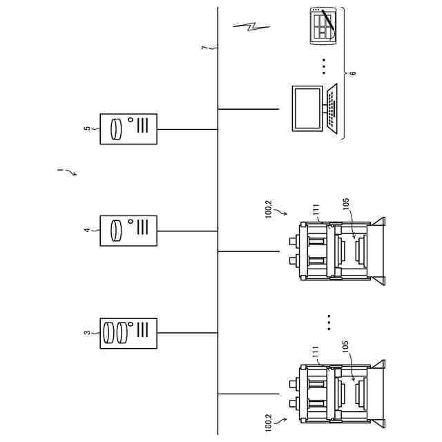
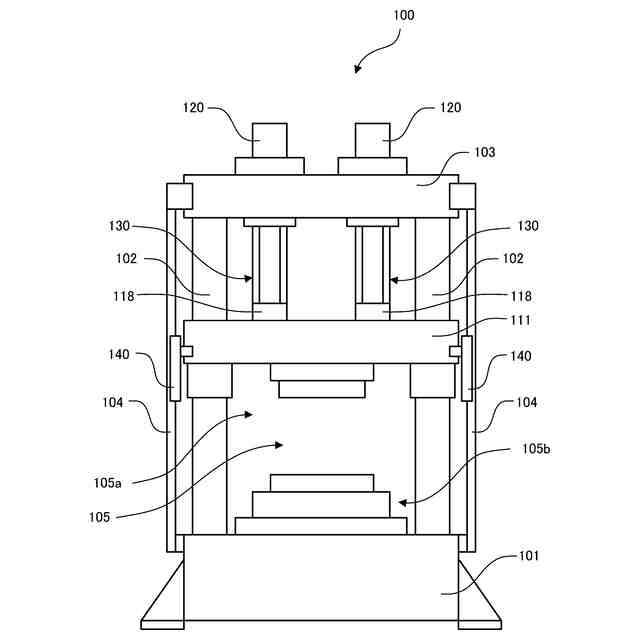
本実施形態の電動プレス加工機100の一例を示す。
本実施形態の電動プレス加工機100のスライド機構の一例を示す。
本実施形態の電動プレス加工機100のスライダー111を含む水平断面の一例を示す。
本実施形態の電動プレス加工機100のシステム構成の一例を示す。
本実施形態の情報処理システム1の機械学習装置4のシステム構成の一例を示す。
本実施形態の機械学習装置4で使用されるニューラルネットワークモデルの一例を示す。
本実施形態の機械学習装置4による機械学習方法のフローチャートの一例を示す。
本実施形態の情報処理装置5のシステム構成の一例を示す。
本実施形態の摩耗情報推論方法のフローチャートの一例を示す。
【発明を実施するための形態】
【0009】
図1は、本実施形態の情報処理システム1の一例を示す。図2は、本実施形態の情報処理システム1で扱われる情報の一例を示す。図2(a)は入力情報10の一例、図2(b)は状態情報11の一例、図2(c)は特性情報12の一例、図2(d)はメンテナンス情報13の一例を示す。
【0010】
情報処理システム1は、電動プレス加工機100のメンテナンスの必要な状態を管理するためのシステムとして機能する。情報処理システム1は、その主要な構成として、計測対象の物理量を計測する物理量計測装置2と、各種情報が記憶されるデータベース装置3と、後述する学習モデル44aを作成する機械学習装置4と、学習モデル44aを用いて電動プレス加工機100のメンテナンスの必要な状態を推論する情報処理装置5と、ユーザが操作するユーザ端末装置6と、を備える。各装置2~6は、例えば、汎用又は専用のコンピュータで構成されるとともに、有線又は無線のネットワーク7に接続されて、各種のデータを相互に送受信可能に構成される。なお、各装置2~6の数やネットワーク7の接続構成は、図1の例に限られず、適宜変更してもよい。
(【0011】以降は省略されています)
この特許をJ-PlatPat(特許庁公式サイト)で参照する
関連特許
日機装株式会社
加圧装置
1か月前
相源株式会社
制御装置
1か月前
有限会社ダイルクラブ
空き缶潰し器
9日前
大同工業株式会社
高温成形用金型
5か月前
住友重機械工業株式会社
プレス装置
6か月前
住友重機械工業株式会社
プレス装置
6か月前
日本発條株式会社
加工油供給方法及び装置
5か月前
株式会社石垣
スクリュープレスの外筒スクリーン洗浄方法
5か月前
株式会社ジェイテクトフルードパワーシステム
加圧パンチ装置
6か月前
いすゞ自動車株式会社
成形装置
3か月前
株式会社菊水製作所
成形品製造用機械の監視システム
18日前
マクセル株式会社
粉体成型体の製造方法及び製造装置
25日前
大同特殊鋼株式会社
連続式真空ホットプレス装置
3か月前
株式会社金陽社
熱プレス用緩衝材
3か月前
株式会社ディムコ
ガイドユニットを備えるダブルベルトプレス装置
6か月前
住友重機械工業株式会社
プレス装置及びプレス装置の配管工程
5か月前
トヨタ自動車株式会社
ロールプレス装置
2か月前
冨士発條株式会社
プレスシステム、およびトランスファ装置
4か月前
株式会社SGIC
加熱ブロック及びダブルベルトプレス
6か月前
UBEマシナリー株式会社
押出プレス装置の支援システム
5か月前
日伸工業株式会社
プレス加工システム及びプレス加工装置
1か月前
株式会社石垣
スクリュープレスにおける目詰まり防止機構及びそれを用いた目詰まり防止方法
6か月前
アイダエンジニアリング株式会社
プレス機械及びプレス機械の操作支援方法
2か月前
株式会社KMC
監視システム、センサープレート及び通信制御ユニット
3か月前
ノリタケ株式会社
ロールコンパクション成形装置およびロールコンパクション成形用搬送装置
1か月前
アピックヤマダ株式会社
プレス装置、プレス方法、樹脂封止装置及び樹脂封止方法
1か月前
学校法人金沢工業大学
加工機械の制御方法、加工機械の制御装置及び制御プログラム
6か月前
コマツ産機株式会社
プレス機械の金型用の予知保全システム及び予知保全のための方法
2か月前
株式会社放電精密加工研究所
機械学習装置、情報処理装置、推論装置、機械学習方法、情報処理方法、及び、推論方法
1か月前
株式会社JKB
順送プレス加工方法及びその加工システム
3か月前
フェッテ コンパクティング ゲーエムベーハー
回転式錠剤プレス機および回転式錠剤プレス機を用いたプレスパンチの潤滑方法
23日前
日本精工株式会社
サーボプレス機構、プレス加工方法、軸受の製造方法、機械装置の製造方法、及び車両の製造方法
4日前
フェック ライニッシュ ゲゼルシャフト ミット ベシュレンクテル ハフツング
プレス工具及びプレスプレートの製造方法
3か月前
フェック ライニッシュ ゲゼルシャフト ミット ベシュレンクテル ハフツング
プレス工具及びプレスプレートの製造方法
3か月前
アライドコーヒーロースターズ株式会社
ペレット製造装置及びペレットの製造方法
5か月前
株式会社カプコン
プログラム、情報処理方法および情報処理装置
3か月前
続きを見る
他の特許を見る