TOP
|
特許
|
意匠
|
商標
特許ウォッチ
Twitter
他の特許を見る
公開番号
2025145119
公報種別
公開特許公報(A)
公開日
2025-10-03
出願番号
2024045142
出願日
2024-03-21
発明の名称
ロールプレス装置
出願人
トヨタ自動車株式会社
,
株式会社豊田自動織機
代理人
個人
,
個人
主分類
B30B
3/00 20060101AFI20250926BHJP(プレス)
要約
【課題】ワークへの圧縮荷重を低下させることなく、装置全体を小型化することができるロールプレス装置を提供する。
【解決手段】上下に設けられかつ両端が軸受によって回転自在に保持されたロール対の間でワークに圧縮荷重を作用させつつ、ワークWを搬送するロールプレス装置であって、ロール対4,5,6は、ワークWの幅方向にズレて複数設けられている。
【選択図】図1
特許請求の範囲
【請求項1】
上下に設けられかつ両端が軸受によって回転自在に保持されたロール対の間でワークに圧縮荷重を作用させつつ、ワークを搬送するロールプレス装置であって、
前記ロール対は、前記ワークの幅方向にズレて複数設けられている
ことを特徴とするロールプレス装置。
続きを表示(約 500 文字)
【請求項2】
請求項1に記載のロールプレス装置であって、
複数の前記ロール対は、前記ワークの進行方向および前記ワークの幅方向にズレて配置され、かつ前記ワークの進行方向における上流側のロール対と、前記ワークの進行方向における下流側のロール対とは、前記ワークの幅方向で少なくとも一部が重なっている
ことを特徴とするロールプレス装置。
【請求項3】
請求項1または2に記載のロールプレス装置であって、
前記ロール対は、前記ワークの上面に当接する上側ロールと、前記ワークの下面に当接する下側ロールとを含み、
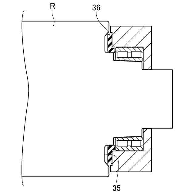
前記上側ロールと前記下側ロールとの少なくともいずれか一方のロールの軸線方向における端面に、前記一方のロールの端部の剛性を低下させる凹部が形成されている
ことを特徴とするロールプレス装置。
【請求項4】
請求項3に記載のロールプレス装置であって、
前記一方のロールを回転自在に保持する軸受を更に備え、
前記軸受の少なくとも一部が、前記凹部に挿入されている
ことを特徴とするロールプレス装置。
発明の詳細な説明
【技術分野】
【0001】
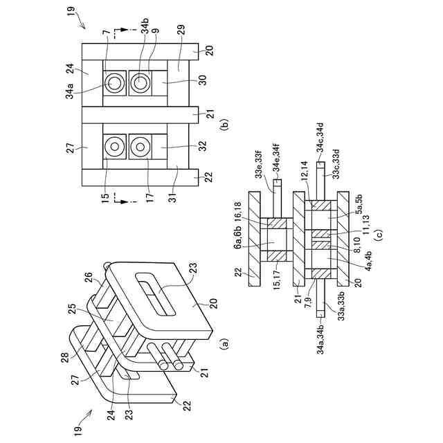
この発明は、上下に設けられたロール対によってワークに圧縮荷重を作用させるロールプレス装置に関するものである。
続きを表示(約 1,600 文字)
【背景技術】
【0002】
特許文献1には、上下一対のロールの間に薄膜材を通すことにより、薄膜材を圧縮加工するロールプレス装置が記載されている。このロールプレス装置における上下のロールは、それぞれ両端が主軸受と、ベンド軸受とによって支持されている。また、ロールプレス装置は、薄膜材を圧縮加工する際のロールの撓み方向に対向したベンド荷重をベンド軸受に作用させるベンド機構を備えている。このベンド機構は、シリンダと、そのシリンダ内を往復動作するピストンと、ピストンに一体化されたピストンロッドと、ピストンロッドの先端に設けられ、ベンド軸受にピストンの荷重を作用させるリンク部とによって構成されている。
【先行技術文献】
【特許文献】
【0003】
特許第7176154号公報
【発明の概要】
【発明が解決しようとする課題】
【0004】
特許文献1に記載されたロールプレス装置のように、一対のロールの間に薄膜材のワークを通して圧縮加工や圧延加工を行うロールプレス装置は、ワークの大きさに応じたロールを用いることになる。すなわち、ワークの幅が広い場合には、ロールの軸長が長くなる。また、通常、ロールプレス加工では、ロールの軸長全体に分布して荷重が作用する。したがって、ロールの軸長が長くなることに伴って、ベンド機構によって発生させるべき荷重も大きくなるため、ベンド機構が大型化し、ひいてはロールプレス装置が大型化する可能性がある。
【0005】
この発明は上記の技術的課題に着目して考え出されたものであり、ワークへの圧縮荷重を低下させることなく、装置全体を小型化することができるロールプレス装置を提供することを目的とするものである。
【課題を解決するための手段】
【0006】
上記の目的を達成するために、この発明は、上下に設けられかつ両端が軸受によって回転自在に保持されたロール対の間でワークに圧縮荷重を作用させつつ、ワークを搬送するロールプレス装置であって、前記ロール対は、前記ワークの幅方向にズレて複数設けられていることを特徴とするものである。
【0007】
また、この発明では、複数の前記ロール対は、前記ワークの進行方向および前記ワークの幅方向にズレて配置され、かつ前記ワークの進行方向における上流側のロール対と、前記ワークの進行方向における下流側のロール対とは、前記ワークの幅方向で少なくとも一部が重なっていてよい。
【0008】
また、この発明では、前記ロール対は、前記ワークの上面に当接する上側ロールと、前記ワークの下面に当接する下側ロールとを含み、前記上側ロールと前記下側ロールとの少なくともいずれか一方のロールの軸線方向における端面に、前記一方のロールの端部の剛性を低下させる凹部が形成されていてよい。
【0009】
そして、この発明では、前記一方のロールを回転自在に保持する軸受を更に備え、前記軸受の少なくとも一部が、前記凹部に挿入されていてよい。
【発明の効果】
【0010】
この発明のロールプレス装置は、ワークに圧縮荷重を作用させるロール対が、ワークの幅方向にズレて複数設けられている。すなわち、一つのロール対によってワークの幅方向における全域に亘って圧縮荷重を作用させる構成と比較して、ロール対の軸長が短く形成されている。そのため、ロール対を保持する軸受同士の距離を短くすることができる。したがって、軸間距離が短くなる分、ロール対の断面二次モーメントを小さくすること、すなわち、ロール対の外径寸法を小さくすることができる。その結果、ワークへの圧縮荷重を低下させることなく、ロール対およびロール対を支持するための軸受などを小型化することができ、ひいては、ロールプレス装置を小型化することができる。
【図面の簡単な説明】
(【0011】以降は省略されています)
この特許をJ-PlatPat(特許庁公式サイト)で参照する
関連特許
トヨタ自動車株式会社
蓄電装置
今日
トヨタ自動車株式会社
予測モデル
今日
トヨタ自動車株式会社
電気自動車
今日
トヨタ自動車株式会社
電気自動車
今日
トヨタ自動車株式会社
電気自動車
今日
トヨタ自動車株式会社
電気自動車
今日
トヨタ自動車株式会社
電気自動車
今日
トヨタ自動車株式会社
回転トランス
今日
トヨタ自動車株式会社
充電制御装置
今日
トヨタ自動車株式会社
ダッシュパネル
今日
トヨタ自動車株式会社
車両の配管構造
今日
トヨタ自動車株式会社
情報処理装置及びシステム
今日
トヨタ自動車株式会社
車体への空調装置の取付構造
今日
株式会社SOKEN
センサ装置
今日
トヨタ自動車株式会社
電子制御装置、通信ネットワークシステム
今日
株式会社SOKEN
車両用帯電制御装置
今日
トヨタ自動車株式会社
運転者の一瞥挙動を管理するシステム及び方法
4日前
株式会社豊田自動織機
蓄電モジュール製造方法
今日
株式会社デンソー
衝突判定装置
今日
トヨタ自動車株式会社
負極活物質、リチウムイオン電池および負極活物質の製造方法
今日
トヨタ自動車株式会社
車両用表示制御装置、車両用表示システム、車両用表示制御方法及びプログラム
4日前
日機装株式会社
加圧装置
7か月前
株式会社ヨコオ
製造装置
7か月前
日機装株式会社
加圧装置
1か月前
相源株式会社
制御装置
1か月前
日機装株式会社
加圧システム
7か月前
有限会社ダイルクラブ
空き缶潰し器
11日前
大同工業株式会社
高温成形用金型
5か月前
住友重機械工業株式会社
プレス装置
6か月前
住友重機械工業株式会社
プレス装置
6か月前
日本発條株式会社
加工油供給方法及び装置
5か月前
株式会社石垣
スクリュープレスの外筒スクリーン洗浄方法
5か月前
株式会社西田製作所
工具ヘッドと据置台との組み合わせ
7か月前
株式会社ジェイテクトフルードパワーシステム
加圧パンチ装置
6か月前
いすゞ自動車株式会社
成形装置
3か月前
株式会社合同資源
金属ヨウ化物錠剤の製造方法
8か月前
続きを見る
他の特許を見る