TOP
|
特許
|
意匠
|
商標
特許ウォッチ
Twitter
他の特許を見る
公開番号
2025167853
公報種別
公開特許公報(A)
公開日
2025-11-07
出願番号
2024072818
出願日
2024-04-26
発明の名称
プレス装置、プレス方法、樹脂封止装置及び樹脂封止方法
出願人
アピックヤマダ株式会社
代理人
弁理士法人綿貫国際特許・商標事務所
主分類
B30B
15/24 20060101AFI20251030BHJP(プレス)
要約
【課題】可動プラテンの傾きを調整可能なプレス装置、プレス方法、樹脂封止装置及び樹脂封止方法を提供する。
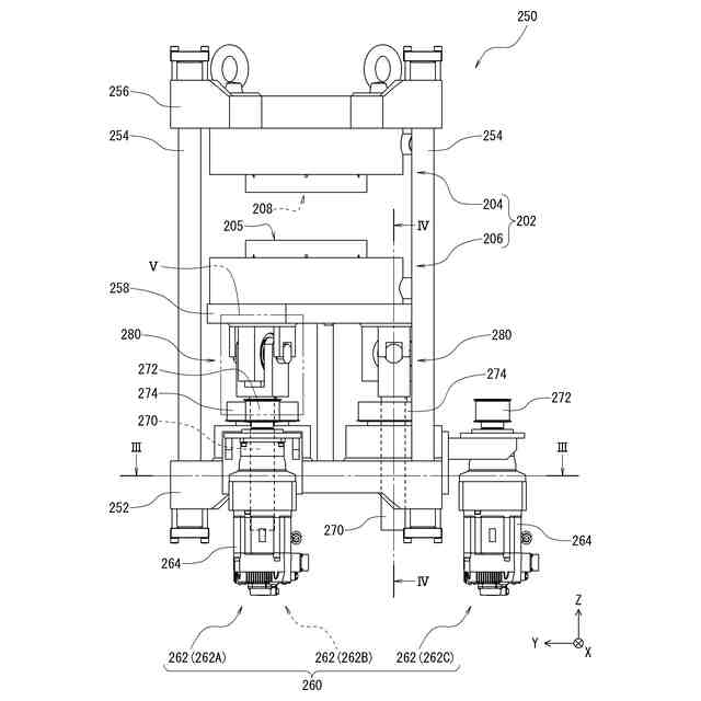
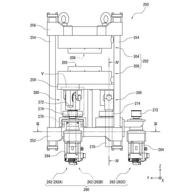
【解決手段】基盤252と、基盤252に立設されたタイバー254と、タイバー254に固定された固定プラテン256と、上下方向に移動する可動プラテン258と、可動プラテン256を駆動する駆動部260と、を備え、駆動部260は、複数の駆動機構262を個別に制御可能な構成であり、可動プラテン258は、タイバー254にガイドされない構成である。
【選択図】図2
特許請求の範囲
【請求項1】
基盤と、前記基盤に立設されたタイバーと、前記タイバーに固定された固定プラテンと、上下方向に移動する可動プラテンと、前記可動プラテンを駆動する駆動部と、を備え、
前記駆動部は、複数の駆動機構を個別に制御可能な構成であり、
前記可動プラテンは、前記タイバーにガイドされない構成であること
を特徴とするプレス装置。
続きを表示(約 670 文字)
【請求項2】
前記駆動部は、三つの前記駆動機構から構成されていること
を特徴とする請求項1記載のプレス装置。
【請求項3】
前記駆動機構は、
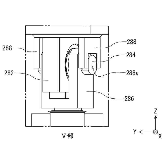
駆動源と、前記基盤に回転可能に設けられたナットと、前記ナットに螺合されたボールねじと、を備え、
前記駆動源の駆動力が前記ナットに伝達されて前記ナットが回転することにより、前記ボールねじが上下方向に直線運動する構成であること
を特徴とする請求項1または請求項2記載のプレス装置。
【請求項4】
前記可動プラテンの傾き状態を検知する検知手段をさらに備えること
を特徴とする請求項1または請求項2記載のプレス装置。
【請求項5】
請求項1から請求項4のいずれか一項に記載のプレス装置を備える樹脂封止装置。
【請求項6】
基盤と、前記基盤に立設されたタイバーと、前記タイバーに固定された固定プラテンと、上下方向に移動する可動プラテンと、前記可動プラテンを駆動する駆動部と、を備えたプレス装置を用いたプレス方法であって、
試し打ちを行う工程の後に前記可動プラテンの傾きを調整する工程を備えること
を特徴とするプレス方法。
【請求項7】
前記可動プラテンの傾き状態を検知する検知手段によって前記可動プラテンの傾き状態を検知すること
を特徴とする請求項6記載のプレス方法。
【請求項8】
請求項6または請求項7記載のプレス方法を備える樹脂封止方法。
発明の詳細な説明
【技術分野】
【0001】
本発明は、プレス装置、プレス方法、樹脂封止装置及び樹脂封止方法に関する。
続きを表示(約 1,300 文字)
【背景技術】
【0002】
基材に電子部品が搭載されたワークを封止樹脂により封止して成形品に加工する樹脂封止装置及び樹脂封止方法の例として、トランスファ成形方式や圧縮成形方式によるものが知られている。
【0003】
トランスファ成形方式は、上型と下型とを備えて構成される封止金型に設けられる一対の封止領域(キャビティ)に所定量の樹脂を供給するポットを設けて、当該各封止領域に対応する位置にワークをそれぞれ配置して上型と下型とでクランプし、ポットからキャビティに樹脂を流し込む操作によって樹脂封止する技術である。また、圧縮成形方式は、上型と下型とを備えて構成される封止金型に設けられる封止領域(キャビティ)に所定量の封止樹脂を供給すると共に当該封止領域にワークを配置して、上型と下型とでクランプする操作によって樹脂封止する技術である(特許文献1:特開2023-176518号公報参照)。
【0004】
いずれの方式においても、封止金型の型閉じを行ってワークの樹脂封止を行うプレス装置が設けられている。プレス装置は、一対の可動プラテン及び固定プラテンに封止金型が固定されており、駆動装置によって可動プラテンを固定プラテンに向けて駆動(押動)することによって、封止金型に型閉じ力(加圧力)を印加する構成が一般的である。
【先行技術文献】
【特許文献】
【0005】
特開2023-176518号公報
【発明の概要】
【発明が解決しようとする課題】
【0006】
成形品のTTV(Total Thickness Variation)を小さくするためには、型閉じ時に固定プラテンと可動プラテンとの間隔を高精度に調整して上型と下型が平行になるように配置する必要がある。そのため、可動プラテンは、タイバーに沿って摺動可能な構成、すなわち、タイバーにガイドされる構成が一般的である。
【0007】
プレス装置においては、成形の調整を目的として、可動プラテンの傾きを調整したい要望がある。しかしながら、可動プラテンがタイバーにガイドされる構成であるが故に、可動プラテンとタイバーとのクリアランスが僅少となり、可動プラテンの傾きを調整することはほぼ不可能(もしくは困難)であった。
【課題を解決するための手段】
【0008】
本発明は、上記事情に鑑みてなされ、可動プラテンの傾きを調整可能なプレス装置、プレス方法、樹脂封止装置及び樹脂封止方法を提供することを目的とする。
【0009】
本発明は、一実施形態として以下に記載するような解決手段により、前記課題を解決する。
【0010】
一実施形態に係るプレス装置は、基盤と、前記基盤に立設されたタイバーと、前記タイバーに固定された固定プラテンと、上下方向に移動する可動プラテンと、前記可動プラテンを駆動する駆動部と、を備え、前記駆動部は、複数の駆動機構を個別に制御可能な構成であり、前記可動プラテンは、前記タイバーにガイドされない構成であることを要件とする。
(【0011】以降は省略されています)
この特許をJ-PlatPat(特許庁公式サイト)で参照する
関連特許
日機装株式会社
加圧装置
7か月前
株式会社ヨコオ
製造装置
7か月前
日機装株式会社
加圧装置
1か月前
日機装株式会社
加圧システム
7か月前
相源株式会社
制御装置
1か月前
有限会社ダイルクラブ
空き缶潰し器
7日前
大同工業株式会社
高温成形用金型
5か月前
住友重機械工業株式会社
プレス装置
6か月前
住友重機械工業株式会社
プレス装置
6か月前
日本発條株式会社
加工油供給方法及び装置
4か月前
株式会社石垣
スクリュープレスの外筒スクリーン洗浄方法
5か月前
株式会社西田製作所
工具ヘッドと据置台との組み合わせ
7か月前
株式会社ジェイテクトフルードパワーシステム
加圧パンチ装置
6か月前
いすゞ自動車株式会社
成形装置
3か月前
株式会社合同資源
金属ヨウ化物錠剤の製造方法
8か月前
マクセル株式会社
粉体成型体の製造方法及び製造装置
23日前
株式会社菊水製作所
成形品製造用機械の監視システム
16日前
大同特殊鋼株式会社
連続式真空ホットプレス装置
2か月前
株式会社金陽社
熱プレス用緩衝材
2か月前
株式会社ディムコ
ガイドユニットを備えるダブルベルトプレス装置
6か月前
住友重機械工業株式会社
プレス装置及びプレス装置の配管工程
5か月前
トヨタ自動車株式会社
ロールプレス装置
2か月前
冨士発條株式会社
プレスシステム、およびトランスファ装置
3か月前
株式会社SGIC
加熱ブロック及びダブルベルトプレス
6か月前
UBEマシナリー株式会社
押出プレス装置の支援システム
5か月前
日伸工業株式会社
プレス加工システム及びプレス加工装置
1か月前
株式会社石垣
スクリュープレスにおける目詰まり防止機構及びそれを用いた目詰まり防止方法
6か月前
アイダエンジニアリング株式会社
プレス機械及びプレス機械の操作支援方法
2か月前
株式会社KMC
監視システム、センサープレート及び通信制御ユニット
3か月前
ノリタケ株式会社
ロールコンパクション成形装置およびロールコンパクション成形用搬送装置
1か月前
住友重機械工業株式会社
プレス装置、診断装置、プレス装置の健全性診断方法及び健全性診断プログラム
7か月前
学校法人金沢工業大学
加工機械の制御方法、加工機械の制御装置及び制御プログラム
6か月前
アピックヤマダ株式会社
プレス装置、プレス方法、樹脂封止装置及び樹脂封止方法
28日前
コマツ産機株式会社
プレス機械の金型用の予知保全システム及び予知保全のための方法
2か月前
株式会社放電精密加工研究所
機械学習装置、情報処理装置、推論装置、機械学習方法、情報処理方法、及び、推論方法
1か月前
株式会社JKB
順送プレス加工方法及びその加工システム
3か月前
続きを見る
他の特許を見る