TOP
|
特許
|
意匠
|
商標
特許ウォッチ
Twitter
他の特許を見る
公開番号
2025170597
公報種別
公開特許公報(A)
公開日
2025-11-19
出願番号
2024075312
出願日
2024-05-07
発明の名称
成形品製造用機械の監視システム
出願人
株式会社菊水製作所
代理人
個人
,
個人
主分類
B30B
11/08 20060101AFI20251112BHJP(プレス)
要約
【課題】粉体から成形品を成形する目的で使用される機械に故障が生じる前にその兆候を検知できる監視システムを提供する。
【解決手段】粉体から成形品を製造するために使用される機械における所定の部材14、141、142に異常の兆候が生じたときにそれを検知する監視システムであって、前記機械の所定の部材14、141、142に当接又は近接して配置されるAEセンサ21と、前記機械の稼働中に前記AEセンサ21が出力する信号を受信し、当該信号に基づいて前記所定の部材14、141、142について異常の兆候が生じたか否かを判定し、その判定結果に関する情報を出力する制御装置とを具備する成形品製造用機械の監視システムを構成した。
【選択図】図5
特許請求の範囲
【請求項1】
粉体から成形品を製造するために使用される機械における所定の部材に異常の兆候が生じたときにそれを検知する監視システムであって、
前記機械の所定の部材に当接又は近接して配置されるAEセンサと、
前記機械の稼働中に前記AEセンサが出力する信号を受信し、当該信号に基づいて前記所定の部材について異常の兆候が生じたか否かを判定し、その判定結果に関する情報を出力する制御装置と
を具備する成形品製造用機械の監視システム。
続きを表示(約 1,000 文字)
【請求項2】
前記機械は、テーブルに貫通した臼孔が設けられ、各臼孔の上下に上杵及び下杵がそれぞれ摺動可能に保持され、テーブル及び杵を水平回転させて上杵及び下杵の対が上ロール及び下ロールの間を通過するときに臼孔内に充填された粉体を圧縮成形する回転式の粉体圧縮成形機であり、
前記部材が、前記粉体圧縮成形機のロール又はロールを回動可能に支持する部材であり、
前記AEセンサが、前記粉体圧縮成形機のロール又はロールを回動可能に支持する部材に当接又は近接して配置され、
前記制御装置が、前記粉体圧縮成形機の稼働中に前記AEセンサが出力する信号を受信し、当該信号に基づき前記ロール又はロールを回動可能に支持する部材について異常の兆候が生じたか否かを判定し、その判定結果に関する情報を出力する請求項1記載の監視システム。
【請求項3】
前記機械は、テーブルに貫通した臼孔が設けられ、各臼孔の上下に上杵及び下杵がそれぞれ摺動可能に保持され、テーブル及び杵を水平回転させて上杵及び下杵の対が上ロール及び下ロールの間を通過するときに臼孔内に充填された粉体を圧縮成形する回転式の粉体圧縮成形機であり、
前記部材が、前記粉体圧縮成形機の杵を上下動させながら案内するカムレールであり、
前記AEセンサが、前記粉体圧縮成形機の杵を上下動させながら案内するカムレールに当接又は近接して配置され、
前記制御装置が、前記粉体圧縮成形機の稼働中に前記AEセンサが出力する信号を受信し、当該信号に基づき前記カムレールについて異常の兆候が生じたか否かを判定し、その判定結果に関する情報を出力する請求項1記載の監視システム。
【請求項4】
前記制御装置は、前記AEセンサの出力信号に含まれる所定の周波数帯の成分を基に求められる値を判定閾値と比較することを通じて前記部材に異常の兆候が生じたか否かを判定するものであり、
前記制御装置において、前記成形品の種類、形状、寸法、成形品の材料又は成形品を圧縮成形する際の圧縮圧力に応じて、前記周波数帯又は前記判定閾値を変更する請求項1、2又は3記載の監視システム。
【請求項5】
前記制御装置は、前記機械の稼働中に前記AEセンサが出力した信号を基に生成される信号データを入力して生成された学習済みモデルを用いて前記部材に異常の兆候が生じたか否かを判定するものである請求項1、2又は3記載の監視システム。
発明の詳細な説明
【技術分野】
【0001】
本発明は、粉体から成形品を成形する目的で使用される機械に故障が生じる前にその兆候を検知する監視システムに関する。
続きを表示(約 1,600 文字)
【背景技術】
【0002】
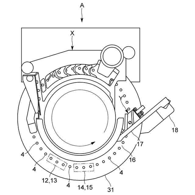
回転盤のテーブルに臼孔を設けると共に、各臼孔の上下に上杵及び下杵をそれぞれ摺動可能に保持させておき、臼孔及び杵を共に水平回転させて、上杵及び下杵の対が上ロール及び下ロールの間を通過する際に臼孔内に充填された粉体を圧縮成形して成形品を得る回転式粉体圧縮成形機(例えば、下記特許文献を参照)が公知である。この種の粉体圧縮成形機は、医薬品の錠剤、食品、電子部品等の量産のために用いられる。
【先行技術文献】
【特許文献】
【0003】
特開2023-101294号公報
【発明の概要】
【発明が解決しようとする課題】
【0004】
粉体圧縮成形機を稼働させ成形品を製造している最中、杵を押圧する圧縮ロールや、ロールを回動可能に支持する軸、軸受(ベアリング)、軸の両端を支持するブロック等には大きな外力が加わり、局所的に大きな応力が作用する。杵を上下動させながら案内するカムレーム等もまた同様である。それら部材が経時劣化として変形し又は破損すると、成形品の製造に支障を来すことになり得る。
【0005】
製造現場では、何れかの部材が損傷したことを認識したときにその部材を交換する事後保全や、部材の損傷を認識していなくとも部材を定期的に点検し交換する予防保全を行う。だが、事後保全では、どうしても突発的な対応となり、これのみに頼っていると機械の稼働率を高く維持することは難しくなる。予防保全では、計画や見通しが立てやすい反面、過剰な頻度で点検作業したり、未だ使用可能な部材を交換したりしてコスト増を招くデメリットがある。無駄のない適正な点検・交換スパンの見極めも容易ではない。
【0006】
上記の問題は、粉体圧縮成形機以外の機械、例えば、複数種類の粉体を混合する混合機や所望の粒径に解砕整粒する造粒機・整粒機等といった固形製剤に関連する機械全般について当てはまる。
【0007】
本発明は、粉体から成形品を成形する目的で使用される機械に故障が生じる前にその兆候を検知できる監視システムを提供しようとするものである。
【課題を解決するための手段】
【0008】
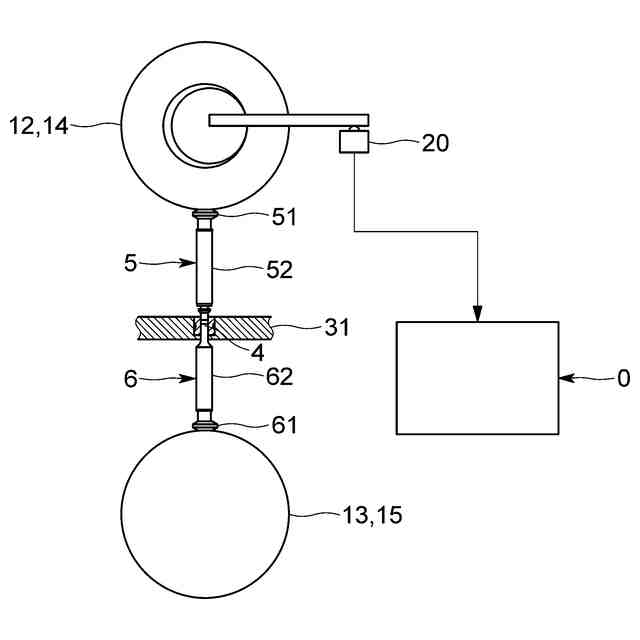
本発明では、粉体から成形品を製造するために使用される機械における所定の部材に異常の兆候が生じたときにそれを検知する監視システムであって、前記機械の所定の部材に当接又は近接して配置されるAE(Acoustic Emission)センサと、前記機械の稼働中に前記AEセンサが出力する信号を受信し、当該信号に基づいて前記所定の部材について異常の兆候が生じたか否かを判定し、その判定結果に関する情報を出力する制御装置とを具備する成形品製造用機械の監視システムを構成した。
【0009】
ここで、粉体とは、微小個体の集合体であり、いわゆる顆粒などの粒体の集合体と、粒体より小なる形状の粉末の集合体とを含む概念である。複数種の粉体を混合したものもまた粉体である。AEとは、固体が変形し又は破壊される際にそれまで蓄えられていた歪みのエネルギが解放され、その一部が弾性波として放射される現象である。木材が変形し又は折れる前のミシミシという音や、錫の双晶変形(大規模の剪断変形が不連続かつ高速で起こる)によりジリジリと音が出る錫鳴り現象は、AEの具体例である。AEセンサは、そのAE波を感知する。
【0010】
本発明では、機械を構成する部材に異常の兆候が現れた段階で、その兆候が現れた事実を検知して報知する。これにより、事後保全や予防保全によらずとも、適時に部材を交換等することが可能となり、徒にコストの増加を招くことなく機械の稼働率を向上せしめ、正常な成形品の効率的な量産に寄与できる。
(【0011】以降は省略されています)
この特許をJ-PlatPat(特許庁公式サイト)で参照する
関連特許
株式会社菊水製作所
成形品の製造現場の管理システム
23日前
日機装株式会社
加圧装置
1か月前
相源株式会社
制御装置
1か月前
有限会社ダイルクラブ
空き缶潰し器
14日前
日本発條株式会社
加工油供給方法及び装置
5か月前
株式会社石垣
スクリュープレスの外筒スクリーン洗浄方法
5か月前
いすゞ自動車株式会社
成形装置
3か月前
株式会社菊水製作所
成形品製造用機械の監視システム
23日前
マクセル株式会社
粉体成型体の製造方法及び製造装置
1か月前
パナソニックIPマネジメント株式会社
プレス成形金型
2日前
大同特殊鋼株式会社
連続式真空ホットプレス装置
3か月前
株式会社金陽社
熱プレス用緩衝材
3か月前
トヨタ自動車株式会社
ロールプレス装置
2か月前
冨士発條株式会社
プレスシステム、およびトランスファ装置
4か月前
日伸工業株式会社
プレス加工システム及びプレス加工装置
1か月前
アイダエンジニアリング株式会社
プレス機械及びプレス機械の操作支援方法
2か月前
株式会社KMC
監視システム、センサープレート及び通信制御ユニット
3か月前
ノリタケ株式会社
ロールコンパクション成形装置およびロールコンパクション成形用搬送装置
2か月前
アピックヤマダ株式会社
プレス装置、プレス方法、樹脂封止装置及び樹脂封止方法
1か月前
コマツ産機株式会社
プレス機械の金型用の予知保全システム及び予知保全のための方法
2か月前
株式会社放電精密加工研究所
機械学習装置、情報処理装置、推論装置、機械学習方法、情報処理方法、及び、推論方法
1か月前
コアテック株式会社
サーボプレスの波形データ解析システム及びサーボプレスの波形データ解析プログラム
1日前
株式会社JKB
順送プレス加工方法及びその加工システム
3か月前
フェッテ コンパクティング ゲーエムベーハー
回転式錠剤プレス機および回転式錠剤プレス機を用いたプレスパンチの潤滑方法
28日前
日本精工株式会社
サーボプレス機構、プレス加工方法、軸受の製造方法、機械装置の製造方法、及び車両の製造方法
9日前
フェック ライニッシュ ゲゼルシャフト ミット ベシュレンクテル ハフツング
プレス工具及びプレスプレートの製造方法
3か月前
フェック ライニッシュ ゲゼルシャフト ミット ベシュレンクテル ハフツング
プレス工具及びプレスプレートの製造方法
3か月前
アライドコーヒーロースターズ株式会社
ペレット製造装置及びペレットの製造方法
5か月前
株式会社カプコン
プログラム、情報処理方法および情報処理装置
3か月前
株式会社カプコン
プログラム、情報処理方法および情報処理装置
2か月前
株式会社カプコン
プログラム、情報処理方法および情報処理装置
2か月前
トヨタ自動車株式会社
車両および車両制御インターフェース
7日前
ローム株式会社
時間測定回路
2か月前
株式会社カプコン
プログラム、情報処理方法および情報処理装置
2か月前
シプルメット・ゲーエムベーハー
治療用ペプチド及び治療用タンパク質の経粘膜送達のための薬学的組成物
3日前
甘李薬業股フン有限公司
インスリン誘導体
1か月前
続きを見る
他の特許を見る