TOP
|
特許
|
意匠
|
商標
特許ウォッチ
Twitter
他の特許を見る
10個以上の画像は省略されています。
公開番号
2025130240
公報種別
公開特許公報(A)
公開日
2025-09-08
出願番号
2024027270
出願日
2024-02-27
発明の名称
熱プレス用緩衝材
出願人
株式会社金陽社
代理人
弁理士法人スズエ国際特許事務所
主分類
B30B
15/02 20060101AFI20250901BHJP(プレス)
要約
【課題】 従来技術に比べて簡易な構造を有し、圧力を均一に付与することが可能な熱プレス用緩衝材を提供する。
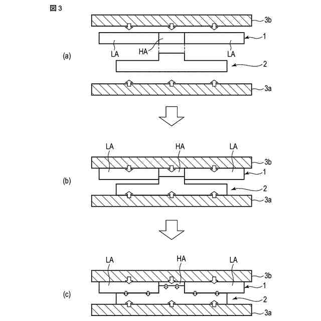
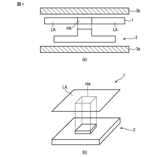
【解決手段】 1層以上の繊維層と1層以上の弾性層とが積層された構成の熱プレス用緩衝材である。熱プレス対象物と対向する面内に、熱プレス対象物の表面形状に対応する高圧縮性領域及び低圧縮性領域を備える。高圧縮性領域の圧縮応力は、低圧縮性領域の圧縮応力に比べて10%以上低い。
【選択図】図1
特許請求の範囲
【請求項1】
1層以上の繊維層と1層以上の弾性層とが積層された層構造の熱プレス用緩衝材であって、
熱プレス対象物と対向する面内に、前記熱プレス対象物の表面形状に対応する高圧縮性領域及び低圧縮性領域を備え、
前記高圧縮性領域の圧縮応力は、前記低圧縮性領域の圧縮応力に比べて10%以上低い熱プレス用緩衝材。
続きを表示(約 530 文字)
【請求項2】
前記高圧縮性領域の空隙率が、前記低圧縮性領域の空隙率に比べて1%以上高い請求項1に記載の熱プレス用緩衝材。
【請求項3】
前記高圧縮性領域を構成する前記繊維層の少なくとも1層が、前記低圧縮性領域を構成する繊維層の少なくとも1層に比べて高い空隙率を有する請求項2に記載の熱プレス用緩衝材。
【請求項4】
前記高圧縮性領域を構成する前記弾性層の少なくとも1層が多孔質である請求項2に記載の熱プレス用緩衝材。
【請求項5】
3層以上の層を備え、
前記高圧縮性領域に貫通穴、未貫通穴及び窪みの少なくとも一つを備え、
前記貫通穴及び前記未貫通穴が、前記層構造の最上層及び最下層以外の層の少なくとも1層に形成され、
前記窪みが、前記層構造の前記最上層及び前記最下層の少なくとも一方に形成されている請求項1に記載の熱プレス用緩衝材。
【請求項6】
前記弾性層の少なくとも1層において、前記高圧縮性領域に対応する部分が、前記低圧縮性領域に対応する部分に比べて、JIS K6253に基づいてタイプAデュロメータで測定した硬さが15度以上低い請求項1に記載の熱プレス用緩衝材。
発明の詳細な説明
【技術分野】
【0001】
本発明は、熱プレス用緩衝材に関するものである。
続きを表示(約 1,200 文字)
【背景技術】
【0002】
様々な電子機器に多用される銅張層積層板やフレキシブルプリント配線基板(以下、FPCと称する)などのプリント基板、化粧板やハニカムボードなどの建築及び航空機材は、一般に熱プレス加工や熱圧着によって加工及び成形される。例えば、FPCの製造では、保護フィルムを樹脂層面等に貼り付けるために熱プレス加工や熱圧着が行われる。
【0003】
熱プレス加工では、熱プレス対象物を熱プレス装置の熱プレス盤間に挟み込み、一定の圧力と熱をかける方法が用いられる。精度の良い成形品を得るためには、熱プレス対象物に加えられるプレス圧力を均一にする必要がある。
【0004】
しかしながら、上記の熱プレス加工では、熱プレス対象物の形状によっては圧力に偏りが生じ、熱プレス盤からの圧力が均一に付与されず、プレス加工の精度が悪くなるという問題を有している。
【0005】
このようなことから、特許文献1にはプレス装置が開示されている。プレス装置は、プレス対象物が載置される複数に分割された載置部材と、各載置部材を昇降させる複数の油圧シリンダと、複数の油圧シリンダをそれぞれの油圧シリンダ毎に、又は複数の油圧シリンダが分けられた複数のグループ毎に、独立して制御する制御部を備えている。このようなプレス装置によれば、プレス対象物を複数に分割された載置部材に載置し、当該プレス対象物をプレス盤で押えた状態で、制御部からの指令により複数の油圧シリンダによる分割された載置部材の昇降を制御することによって、プレス対象部材に対して均一な圧力を付与できるため、プレス対象物を高い精度で加工することが可能になる。
【先行技術文献】
【特許文献】
【0006】
特許第6510869号公報
【発明の概要】
【発明が解決しようとする課題】
【0007】
しかしながら、特許文献1のプレス装置は、複数に分割された載置部材と、各載置部材を昇降させる複数の油圧シリンダとが必要であるため、複雑な構造となり装置コストが高騰する。
【0008】
本発明は、従来技術に比べて簡易な構造を有し、圧力を均一に付与することが可能な熱プレス用緩衝材を提供する。
【課題を解決するための手段】
【0009】
本発明は、1層以上の繊維層と1層以上の弾性層とが積層された構成の熱プレス用緩衝材である。熱プレス用緩衝材は、熱プレス対象物と対向する面内に、熱プレス対象物の表面形状に対応する高圧縮性領域及び低圧縮性領域を備える。高圧縮性領域の圧縮応力は、低圧縮性領域の圧縮応力に比べて10%以上低い。
【発明の効果】
【0010】
本発明によれば、従来技術に比べて簡易な構造を有し、圧力を均一に付与することが可能な熱プレス用緩衝材を提供できる。
【図面の簡単な説明】
(【0011】以降は省略されています)
この特許をJ-PlatPat(特許庁公式サイト)で参照する
関連特許
日機装株式会社
加圧装置
6か月前
日機装株式会社
加圧装置
今日
株式会社ヨコオ
製造装置
6か月前
相源株式会社
制御装置
今日
日機装株式会社
加圧システム
6か月前
トヨタ紡織株式会社
プレス装置
7か月前
大同工業株式会社
高温成形用金型
4か月前
住友重機械工業株式会社
プレス装置
4か月前
住友重機械工業株式会社
プレス装置
5か月前
日本発條株式会社
加工油供給方法及び装置
3か月前
株式会社石垣
スクリュープレスの外筒スクリーン洗浄方法
3か月前
株式会社ジェイテクトフルードパワーシステム
加圧パンチ装置
4か月前
株式会社西田製作所
工具ヘッドと据置台との組み合わせ
5か月前
いすゞ自動車株式会社
成形装置
2か月前
株式会社合同資源
金属ヨウ化物錠剤の製造方法
6か月前
大同特殊鋼株式会社
連続式真空ホットプレス装置
1か月前
株式会社金陽社
熱プレス用緩衝材
1か月前
株式会社ディムコ
ガイドユニットを備えるダブルベルトプレス装置
5か月前
住友重機械工業株式会社
プレス装置及びプレス装置の配管工程
3か月前
トヨタ自動車株式会社
ロールプレス装置
27日前
冨士発條株式会社
プレスシステム、およびトランスファ装置
2か月前
株式会社SGIC
加熱ブロック及びダブルベルトプレス
5か月前
UBEマシナリー株式会社
押出プレス装置の支援システム
3か月前
日伸工業株式会社
プレス加工システム及びプレス加工装置
6日前
株式会社石垣
スクリュープレスにおける目詰まり防止機構及びそれを用いた目詰まり防止方法
5か月前
アイダエンジニアリング株式会社
プレス機械及びプレス機械の操作支援方法
1か月前
ノリタケ株式会社
ロールコンパクション成形装置およびロールコンパクション成形用搬送装置
20日前
株式会社KMC
監視システム、センサープレート及び通信制御ユニット
1か月前
住友重機械工業株式会社
プレス装置、診断装置、プレス装置の健全性診断方法及び健全性診断プログラム
6か月前
フェッテ コンパクティング ゲーエムベーハー
回転式プレス機のペレットをプレス試験する方法。
7か月前
学校法人金沢工業大学
加工機械の制御方法、加工機械の制御装置及び制御プログラム
5か月前
コマツ産機株式会社
プレス機械の金型用の予知保全システム及び予知保全のための方法
1か月前
株式会社放電精密加工研究所
機械学習装置、情報処理装置、推論装置、機械学習方法、情報処理方法、及び、推論方法
9日前
株式会社JKB
順送プレス加工方法及びその加工システム
1か月前
フェッテ コンパクティング ゲーエムベーハー
回転プレス機でペレットをテストプレスする方法および回転プレス機
5か月前
フェック ライニッシュ ゲゼルシャフト ミット ベシュレンクテル ハフツング
プレス工具及びプレスプレートの製造方法
1か月前
続きを見る
他の特許を見る