TOP
|
特許
|
意匠
|
商標
特許ウォッチ
Twitter
他の特許を見る
公開番号
2025129557
公報種別
公開特許公報(A)
公開日
2025-09-05
出願番号
2024026267
出願日
2024-02-26
発明の名称
監視システム、センサープレート及び通信制御ユニット
出願人
株式会社KMC
代理人
弁理士法人南青山国際特許事務所
主分類
B30B
15/28 20060101AFI20250829BHJP(プレス)
要約
【課題】無線によるデータ伝送を使ってプレス機の不具合を精度よく監視すること。
【解決手段】このプレス機の監視システムは、プレス機の所定の部位に生じた歪みを検出するセンサーユニットと、前記センサーユニットにより検出された歪み信号に係るディジタルデータを抽出する時間軸の基準として前記カム機構から得られるカム信号を用い、当該カム信号に基づく所定の時間帯域の前記ディジタルデータを抽出し、前記抽出したディジタルデータを無線により送信する通信制御ユニットと、前記通信制御ユニットから送信されたディジタルデータを受信し、前記受信したディジタルデータに基づき前記プレス機を監視する監視装置とを具備する。
【選択図】図1
特許請求の範囲
【請求項1】
カム機構を使って金型を可動する機構を有する機械の所定の部位に生じた歪みを検出するセンサーユニットと、
前記センサーユニットにより検出された歪み信号に係るディジタルデータを抽出する時間軸の基準として前記カム機構から得られるカム信号を用い、当該カム信号に基づく所定の時間帯域の前記ディジタルデータを抽出し、前記抽出したディジタルデータに係るデータを無線により送信する通信制御ユニットと、
前記通信制御ユニットから送信されたデータを受信し、前記受信したデータに基づき前記機械を監視する監視装置と
を具備する監視システム。
続きを表示(約 1,300 文字)
【請求項2】
請求項1に記載の監視システムであって、
前記センサーユニットは、
一方側に配置されたMEMS歪みセンサーを有するフレキシブル基板と、
前記フレキシブル基板のうち前記MEMS歪みセンサーが配置された領域が底部に貼り付けられた凹部を有する金属製の部材と、
前記凹部に充填され、前記領域を封止する封止材と
を有する
監視システム。
【請求項3】
請求項2に記載の監視システムであって、
前記センサーユニットは、
外部からの操作により前記MEMS歪みセンサーで検出されたアナログの歪み信号のオフセット値及び倍率を設定する制御部を更に有する
監視システム。
【請求項4】
請求項1~3のうちいずれか一項に記載の監視システムであって、
前記通信制御ユニットは、
前記センサーユニットから得られたアナログの歪み信号を入力する入力部と、
前記入力部に入力されたアナログの歪み信号をディジタルデータに変換するA/D変換部とを有し、
前記変換されたディジタルデータから前記カム信号に基づく所定の時間帯域の前記ディジタルデータを抽出し、前記抽出したディジタルデータを電文化して無線により送信する
監視システム。
【請求項5】
請求項4に記載の監視システムであって、
前記通信制御ユニットは、前記入力部に入力されたアナログの歪み信号を外部に出力する出力部を更に有する
監視システム。
【請求項6】
請求項4又は5に記載の監視システムであって、
前記通信制御ユニットは、前記入力部を介して前記センサーユニットに電力を供給し、かつ前記供給する電力の電圧値を可変することが可能な電源供給部を更に有する
監視システム。
【請求項7】
一方側に配置されたMEMS歪みセンサーを有するフレキシブル基板と、
前記フレキシブル基板のうち前記MEMS歪みセンサーが配置された領域が底部に貼り付けられた凹部を有する金属製の部材と、
前記凹部に充填され、前記領域を封止する封止材と
を具備するセンサーユニット。
【請求項8】
カム機構を使って金型を可動する機構を有する機械で検出されたアナログの歪み信号を入力する第1の入力部と、
前記機械のカム機構からカム信号を入力する第2の入力部と、
前記第1の入力部に入力されたアナログの歪み信号をディジタルデータに変換するA/D変換部とを有し、
前記A/D変換部により変換されたディジタルデータから前記第2の入力部により入力されたカム信号に基づく所定の時間帯域の前記ディジタルデータを抽出し、前記抽出したディジタルデータを電文化して無線により送信する
通信制御ユニット。
【請求項9】
請求項8に記載の通信制御ユニットであって、
前記カム信号に基づく所定の時間帯域のディジタルデータを抽出する間、前記カム機構での回転速度に応じてデータ取得速度を調整する
通信制御ユニット。
発明の詳細な説明
【技術分野】
【0001】
本発明は、例えばプレス機の監視システム、このシステムに用いるのに好適なセンサープレート及び通信制御ユニットに関する。
続きを表示(約 1,600 文字)
【背景技術】
【0002】
本発明者等は、セットされる金型の劣化に起因する不良事象の発生を高速かつ高精度に推定することを可能とし、不良品の発生を最少に抑えることに寄与し得るシステムを開示している(特許文献1参照)。
【先行技術文献】
【特許文献】
【0003】
特開2019-126823号公報
【発明の概要】
【発明が解決しようとする課題】
【0004】
このようなシステムでは、センサーで検出した信号をディジタルデータに変換し、これらのディジタルデータの分析等を行う例えばパーソナルコンピュータ(PC)に当該ディジタルデータを伝送している。
【0005】
不良事象の発生を高精度に推定しようとすると、センサーで検出した信号からA/D変換されるディジタルデータはかなり大きくなり、またプレス機が高速駆動される場合にもそのディジタルデータは大きくなる。従って、プレス機側とPC側との間のデータ伝送に無線を使うと有線を使った場合に比べて配線が不要となり、配線に伴う周囲の乱雑さや断線不良等を回避できるが、データ伝送の容量が小さくなり、推定精度等の点で劣ることになる。
【0006】
以上のような事情に鑑み、本発明の目的は、無線によるデータ伝送を使ってプレス機等の不具合を精度よく監視することができる監視システムを提供することにある。また、本発明は、このようなシステムに用いるのに好適なセンサープレート及び通信制御ユニットを提供することを目的とする。
【課題を解決するための手段】
【0007】
上記目的を達成するため、本発明の一形態に係るプレス機の監視システムは、
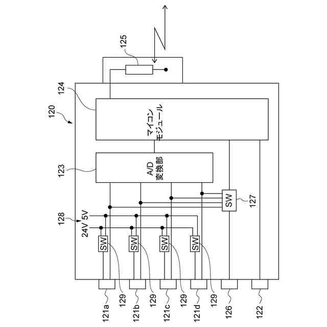
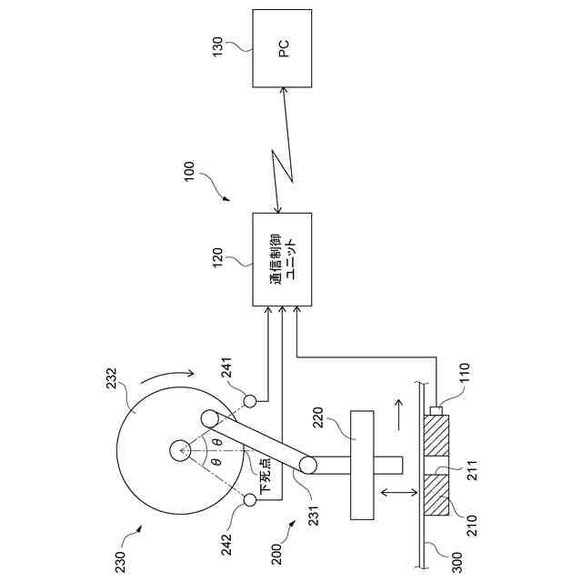
カム機構を使って金型を可動する機構を有する機械、例えばプレス機の所定の部位に生じた歪みを検出するセンサーユニットと、前記センサーユニットにより検出された歪み信号に係るディジタルデータを抽出する時間軸の基準として前記カム機構から得られるカム信号を用い、当該カム信号に基づく所定の時間帯域の前記ディジタルデータを抽出し、前記抽出したディジタルデータに係るデータを無線により送信する通信制御ユニットと、前記通信制御ユニットから送信されたデータを受信し、前記受信したデータに基づき前記機械を監視する監視装置とを具備する。
【0008】
この監視システムによれば、所定の時間帯域の前記ディジタルデータを抽出し、抽出したディジタルデータに係るデータを無線により送信しているので、無線によるデータ伝送を使ってプレス機等の不具合を精度よく監視することができる。その際に、センサーユニットにより検出された歪み信号に係るディジタルデータを抽出する時間軸の基準として、プレス機の打ち抜き動作と同期しているカム機構から得られるカム信号を用いているので、各サイクルのディジタルデータを精度よく比較することができ、プレス機等の不具合を精度よく監視することができる。
【0009】
本発明の一形態に係るセンサーユニットは、一方側に配置されたMEMS歪みセンサーを有するフレキシブル基板と、前記フレキシブル基板のうち前記MEMS歪みセンサーが配置された領域が底部に貼り付けられた凹部を有する金属製の部材と、前記凹部に充填され、前記領域を封止する封止材とを具備する。
【0010】
このセンサーユニットによれば、金属製の部材、典型的には金属製の板又は金属製の棒に凹部を設け、当該凹部の底部にフレキシブル基板のうちMEMS歪みセンサーが配置された領域を貼り付け、これらを封止材により封止している、特にMEMS歪みセンサーについては二重に封止しているので、プレス機などの油が飛び散り激しい振動に晒される環境においてもMEMS歪みセンサーに油やごみが侵入することによる不具合を回避することができる。
(【0011】以降は省略されています)
この特許をJ-PlatPat(特許庁公式サイト)で参照する
関連特許
株式会社KMC
監視システム、センサープレート及び通信制御ユニット
2か月前
日機装株式会社
加圧装置
20日前
相源株式会社
制御装置
20日前
大同工業株式会社
高温成形用金型
4か月前
住友重機械工業株式会社
プレス装置
6か月前
住友重機械工業株式会社
プレス装置
5か月前
日本発條株式会社
加工油供給方法及び装置
4か月前
株式会社石垣
スクリュープレスの外筒スクリーン洗浄方法
4か月前
株式会社ジェイテクトフルードパワーシステム
加圧パンチ装置
5か月前
いすゞ自動車株式会社
成形装置
2か月前
株式会社菊水製作所
成形品製造用機械の監視システム
今日
マクセル株式会社
粉体成型体の製造方法及び製造装置
7日前
株式会社金陽社
熱プレス用緩衝材
2か月前
大同特殊鋼株式会社
連続式真空ホットプレス装置
2か月前
株式会社ディムコ
ガイドユニットを備えるダブルベルトプレス装置
5か月前
住友重機械工業株式会社
プレス装置及びプレス装置の配管工程
4か月前
トヨタ自動車株式会社
ロールプレス装置
1か月前
冨士発條株式会社
プレスシステム、およびトランスファ装置
3か月前
UBEマシナリー株式会社
押出プレス装置の支援システム
4か月前
日伸工業株式会社
プレス加工システム及びプレス加工装置
26日前
株式会社石垣
スクリュープレスにおける目詰まり防止機構及びそれを用いた目詰まり防止方法
6か月前
アイダエンジニアリング株式会社
プレス機械及びプレス機械の操作支援方法
2か月前
株式会社KMC
監視システム、センサープレート及び通信制御ユニット
2か月前
ノリタケ株式会社
ロールコンパクション成形装置およびロールコンパクション成形用搬送装置
1か月前
学校法人金沢工業大学
加工機械の制御方法、加工機械の制御装置及び制御プログラム
6か月前
アピックヤマダ株式会社
プレス装置、プレス方法、樹脂封止装置及び樹脂封止方法
12日前
コマツ産機株式会社
プレス機械の金型用の予知保全システム及び予知保全のための方法
1か月前
株式会社放電精密加工研究所
機械学習装置、情報処理装置、推論装置、機械学習方法、情報処理方法、及び、推論方法
29日前
株式会社JKB
順送プレス加工方法及びその加工システム
2か月前
フェッテ コンパクティング ゲーエムベーハー
回転式錠剤プレス機および回転式錠剤プレス機を用いたプレスパンチの潤滑方法
5日前
フェック ライニッシュ ゲゼルシャフト ミット ベシュレンクテル ハフツング
プレス工具及びプレスプレートの製造方法
2か月前
フェック ライニッシュ ゲゼルシャフト ミット ベシュレンクテル ハフツング
プレス工具及びプレスプレートの製造方法
2か月前
アライドコーヒーロースターズ株式会社
ペレット製造装置及びペレットの製造方法
4か月前
株式会社カプコン
プログラム、情報処理方法および情報処理装置
2か月前
株式会社カプコン
プログラム、情報処理方法および情報処理装置
1か月前
株式会社カプコン
プログラム、情報処理方法および情報処理装置
1か月前
続きを見る
他の特許を見る