TOP
|
特許
|
意匠
|
商標
特許ウォッチ
Twitter
他の特許を見る
10個以上の画像は省略されています。
公開番号
2025173302
公報種別
公開特許公報(A)
公開日
2025-11-27
出願番号
2024078822
出願日
2024-05-14
発明の名称
発光素子の製造方法及び発光素子
出願人
日機装株式会社
代理人
弁理士法人平田国際特許事務所
主分類
H10H
20/855 20250101AFI20251119BHJP()
要約
【課題】生産性の向上が可能な発光素子の製造方法及び発光素子を提供する。
【解決手段】発光素子の製造方法は、基板の第1主面201にn型半導体層3、活性層4及びp型半導体層5を形成する半導体形成工程と、n型半導体層3の表面にn側電極6を形成するとともに、p型半導体層5の表面にp側電極7を形成する電極形成工程と、基板を第1主面201と反対側の第2主面から削って平面部211及び平面部211から隆起した複数のレンズ部212を形成するレンズ形成工程と、半導体形成工程、電極形成工程及びレンズ形成工程の後に実施され、基板200、n型半導体層3、活性層4、p型半導体層5、n側電極6及びp側電極7を備えた素子構造体10を、平面部211の位置で切断し、レンズ部212をそれぞれ備えた複数の発光素子に個片化する個片化工程と、を備える。
【選択図】図9
特許請求の範囲
【請求項1】
基板の第1主面にn型半導体層、活性層及びp型半導体層を形成する半導体形成工程と、
前記n型半導体層の表面にn側電極を形成するとともに、前記p型半導体層の表面にp側電極を形成する電極形成工程と、
前記基板を前記第1主面と反対側の第2主面から削って平面部及び前記平面部から隆起した複数のレンズ部を形成するレンズ形成工程と、
前記半導体形成工程、前記電極形成工程及び前記レンズ形成工程の後に実施され、前記基板、前記n型半導体層、前記活性層、前記p型半導体層、前記n側電極及び前記p側電極を備えた素子構造体を、前記平面部の位置で切断し、前記レンズ部をそれぞれ備えた複数の発光素子に個片化する個片化工程と、を備える
発光素子の製造方法。
続きを表示(約 620 文字)
【請求項2】
前記レンズ形成工程後、前記半導体形成工程が実施される、
請求項1に記載の発光素子の製造方法。
【請求項3】
前記半導体形成工程後、前記レンズ形成工程が実施される、
請求項1に記載の発光素子の製造方法。
【請求項4】
前記電極形成工程後、前記レンズ形成工程が実施される、
請求項3に記載の発光素子の製造方法。
【請求項5】
前記レンズ形成工程後の前記基板は、前記平面部が形成された部位の厚みが、前記第1主面から前記複数のレンズ部における前記第1主面から遠い側の端部の位置までの厚みの半分未満である、
請求項1に記載の発光素子の製造方法。
【請求項6】
基板と、
前記基板の一方側に積層されたn型半導体層、活性層及びp型半導体層と、
前記n型半導体層の表面に形成されたn側電極と、
前記p型半導体層の表面に形成されたp側電極と、を備え、
前記基板の他方側の面は、環状の平面部と、前記平面部の中央から隆起したレンズ部とを有する、
発光素子。
【請求項7】
前記基板における前記平面部が形成された部位の厚みは、前記基板における前記n型半導体層側の面である下面から前記レンズ部における前記下面から遠い側の端部の位置までの厚みの半分未満である、
請求項6に記載の発光素子。
発明の詳細な説明
【技術分野】
【0001】
本発明は、発光素子の製造方法及び発光素子に関する。
続きを表示(約 1,800 文字)
【背景技術】
【0002】
特許文献1には、基板上に多層膜が形成された深紫外発光素子と、基板における多層膜と反対側の面に接合されたレンズとを備える深紫外発光素子チップが開示されている。
【先行技術文献】
【特許文献】
【0003】
特開2016-111085号公報
【発明の概要】
【発明が解決しようとする課題】
【0004】
特許文献1に記載の深紫外発光素子チップにおいては、1つ1つの深紫外発光素子にレンズを接合する必要があり、生産性を向上させ難い。
【0005】
本発明は、前述の事情に鑑みてなされたものであり、生産性の向上が可能な発光素子の製造方法及び発光素子を提供することを目的とする。
【課題を解決するための手段】
【0006】
本発明は、前記の目的を達成するため、基板の第1主面にn型半導体層、活性層及びp型半導体層を形成する半導体形成工程と、前記n型半導体層の表面にn側電極を形成するとともに、前記p型半導体層の表面にp側電極を形成する電極形成工程と、前記基板を前記第1主面と反対側の第2主面から削って平面部及び前記平面部から隆起した複数のレンズ部を形成するレンズ形成工程と、前記半導体形成工程、前記電極形成工程及び前記レンズ形成工程の後に実施され、前記基板、前記n型半導体層、前記活性層、前記p型半導体層、前記n側電極及び前記p側電極を備えた素子構造体を、前記平面部の位置で切断し、前記レンズ部をそれぞれ備えた複数の発光素子に個片化する個片化工程と、を備える発光素子の製造方法を提供する。
【0007】
また、本発明は、前記の目的を達成するため、基板と、前記基板の一方側に積層されたn型半導体層、活性層及びp型半導体層と、前記n型半導体層の表面に形成されたn側電極と、前記p型半導体層の表面に形成されたp側電極と、を備え、前記基板の他方側の面は、環状の平面部と、前記平面部の中央から隆起したレンズ部とを有する、発光素子を提供する。
【発明の効果】
【0008】
本発明によれば、生産性の向上が可能な発光素子の製造方法及び発光素子を提供することが可能となる。
【図面の簡単な説明】
【0009】
第1の実施の形態における、発光素子の構成を示す模式的な断面図である。
第1の実施の形態における、発光素子の模式的な平面図である。
第1の実施の形態における、発光素子の製造方法のフローチャートである。
第1の実施の形態における、レンズ形成工程前の基板の模式的な断面図である。
第1の実施の形態における、マスクが形成された基板の模式的な断面図である。
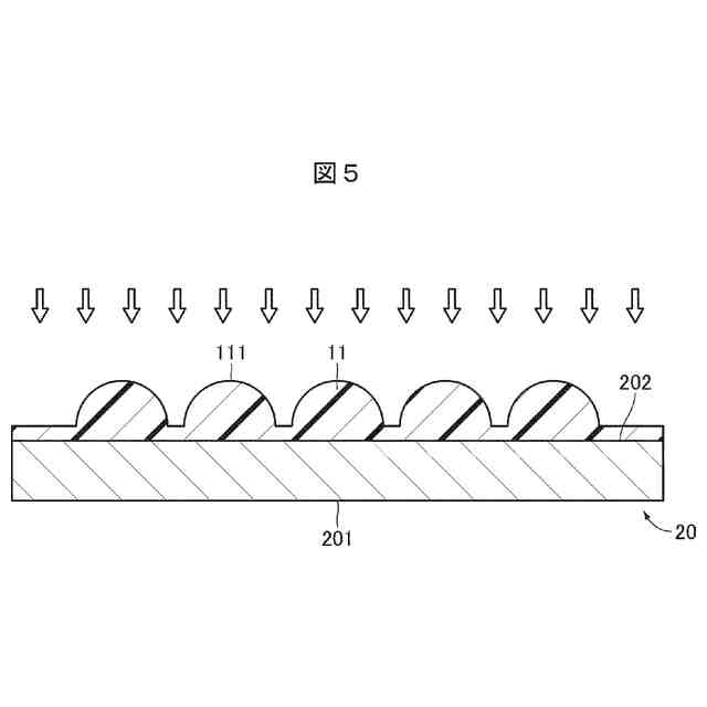
第1の実施の形態における、レンズ形成工程後の基板の模式的な断面図である。
第1の実施の形態における、レンズ形成工程後の基板の模式的な平面図である。
第1の実施の形態における、半導体形成工程及び電極形成工程後の素子構造体の模式的な断面図である。
第1の実施の形態における、スクライブ工程において素子構造体にスクライブラインを形成している状態を示す模式的な断面図である。
第1の実施の形態における、スクライブ工程後の素子構造体の平面図である。
第1の実施の形態における、ブレイク工程において素子構造体を分割する様子を示す模式的な断面図である。
第2の実施の形態における、発光素子の製造方法のフローチャートである。
第3の実施の形態における、発光素子の製造方法のフローチャートである。
第4の実施の形態における、発光素子の構成を示す模式的な断面図である。
第4の実施の形態における、発光素子の模式的な平面図である。
【発明を実施するための形態】
【0010】
[第1の実施の形態]
本発明の第1の実施の形態について、図1乃至図11を参照して説明する。なお、以下に説明する実施の形態は、本発明を実施する上での好適な具体例として示すものであり、技術的に好ましい種々の技術的事項を具体的に例示している部分もあるが、本発明の技術的範囲は、この具体的態様に限定されるものではない。
(【0011】以降は省略されています)
この特許をJ-PlatPat(特許庁公式サイト)で参照する
関連特許
日機装株式会社
加圧装置
28日前
日機装株式会社
遠心ポンプ
1か月前
日機装株式会社
半導体発光装置
15日前
日機装株式会社
キャップ、コネクタおよび装置
1か月前
日機装株式会社
発光素子の製造方法及び発光素子
今日
日機装株式会社
発光素子及び発光素子の製造方法
今日
日機装株式会社
窒化物半導体発光素子の製造方法
8日前
日機装株式会社
乳酸吸着剤、乳酸除去装置および乳酸除去方法
1か月前
日機装株式会社
半導体発光素子および半導体発光素子の製造方法
13日前
日機装株式会社
血液浄化装置、血液浄化システム、及び情報移行方法
1か月前
個人
積和演算用集積回路
21日前
サンケン電気株式会社
半導体装置
20日前
日機装株式会社
半導体発光装置
15日前
エイブリック株式会社
縦型ホール素子
1か月前
旭化成株式会社
発光素子
1か月前
エイブリック株式会社
縦型ホール素子
1か月前
ローム株式会社
抵抗チップ
1か月前
三菱電機株式会社
半導体装置
7日前
株式会社東芝
半導体装置
7日前
富士電機株式会社
半導体装置
1か月前
三菱電機株式会社
半導体装置
29日前
株式会社半導体エネルギー研究所
表示装置
1か月前
日亜化学工業株式会社
発光装置
1か月前
日亜化学工業株式会社
発光装置
1か月前
ローム株式会社
半導体集積回路
29日前
ローム株式会社
半導体装置
20日前
富士電機株式会社
半導体装置の製造方法
1か月前
ローム株式会社
半導体装置
1か月前
ローム株式会社
窒化物半導体装置
1か月前
ローム株式会社
窒化物半導体装置
1か月前
株式会社半導体エネルギー研究所
発光デバイス
15日前
サンケン電気株式会社
半導体装置
7日前
ローム株式会社
半導体装置
1か月前
株式会社半導体エネルギー研究所
発光デバイス
28日前
大日本印刷株式会社
太陽電池
1か月前
株式会社カネカ
太陽電池モジュール
1か月前
続きを見る
他の特許を見る