TOP
|
特許
|
意匠
|
商標
特許ウォッチ
Twitter
他の特許を見る
10個以上の画像は省略されています。
公開番号
2025140532
公報種別
公開特許公報(A)
公開日
2025-09-29
出願番号
2024039992
出願日
2024-03-14
発明の名称
キャップ、コネクタおよび装置
出願人
日機装株式会社
代理人
個人
主分類
F16L
55/115 20060101AFI20250919BHJP(機械要素または単位;機械または装置の効果的機能を生じ維持するための一般的手段)
要約
【課題】コネクタ本体から外されたキャップ本体の内側にゴミが付着しにくいキャップを提供する。
【解決手段】キャップ10は、コネクタ本体の先端部を覆うように取付可能なキャップ本体12と、コネクタ本体の基部に固定可能な保持部14と、保持部14からキャップ本体12に向けて長手方向Lに延び、保持部14とキャップ本体12を連結する連結部16と、を備える。連結部16は、キャップ本体12を把持して連結部16を長手方向Lの軸まわりに捻る力を加えることによってキャップ本体12の向きが反転可能となる可撓性を有し、かつ、キャップ本体12を離して連結部16を捻る力を解除することによってキャップ本体12の向きが元に戻る弾性を有する。
【選択図】図1
特許請求の範囲
【請求項1】
コネクタ本体の先端部を覆うように取付可能なキャップ本体と、
前記コネクタ本体の基部に固定可能な保持部と、
前記保持部から前記キャップ本体に向けて長手方向に延び、前記保持部と前記キャップ本体を連結する連結部と、を備え、
前記連結部は、前記キャップ本体を把持して前記連結部を前記長手方向の軸まわりに捻る力を加えることによって前記キャップ本体の向きが反転可能となる可撓性を有し、かつ、前記キャップ本体を離して前記連結部を捻る力を解除することによって前記キャップ本体の向きが元に戻る弾性を有する、
キャップ。
続きを表示(約 1,000 文字)
【請求項2】
前記連結部の前記長手方向に直交する高さ方向の寸法は、前記連結部の前記長手方向および前記高さ方向に直交する幅方向の寸法の0.5倍以上2倍以下である、
請求項1に記載のキャップ。
【請求項3】
前記連結部の前記長手方向に直交する断面形状は、円形または楕円形である、
請求項1に記載のキャップ。
【請求項4】
前記連結部の前記長手方向に直交する断面形状は、前記連結部の前記長手方向の全体にわたって一定である、
請求項1に記載のキャップ。
【請求項5】
前記連結部の前記長手方向の寸法は、前記キャップ本体の前記長手方向に直交する高さ方向の寸法および前記保持部の前記高さ方向の寸法の合計の2倍以上4倍以下である、
請求項1に記載のキャップ。
【請求項6】
前記保持部は、前記コネクタ本体の外周に固定可能なリング部と、前記リング部から突起する突起部とを備える、
請求項1に記載のキャップ。
【請求項7】
前記突起部は、前記リング部から径方向内側に突起する、
請求項6に記載のキャップ。
【請求項8】
前記リング部は、前記連結部が捻れていない状態において、前記キャップ本体の天面と同じ側を向いている前面部と、前記前面部とは反対側の背面部とを有し、
前記突起部は、前記背面部よりも前記前面部に近い位置に設けられる、
請求項6に記載のキャップ。
【請求項9】
コネクタ本体と、
請求項1から8のいずれか一項に記載のキャップと、を備え、
前記保持部は、前記連結部が捻れていない状態において、前記キャップ本体の天面と前記コネクタ本体の先端部とが同じ側を向くように前記コネクタ本体に取り付けられる、
コネクタ。
【請求項10】
筐体と、
前記筐体の外面から突出するコネクタ本体と、
請求項1から8のいずれか一項に記載のキャップと、を備え、
前記保持部は、前記連結部が捻れていない状態において、前記キャップ本体の天面と前記コネクタ本体の先端部とが同じ側を向くように前記コネクタ本体に取り付けられる、
装置。
(【請求項11】以降は省略されています)
発明の詳細な説明
【技術分野】
【0001】
本発明は、キャップ、コネクタおよび装置に関する。
続きを表示(約 1,700 文字)
【背景技術】
【0002】
コネクタの先端部には、コネクタを保護するためのキャップが取り付けられることがある。コネクタの先端部からキャップを外した後に、キャップを紛失してまうことを防ぐために、コネクタ本体に取り付けられる被保持部と、キャップ本体との間を連結した構造が知られている(例えば、特許文献1参照)。
【先行技術文献】
【特許文献】
【0003】
特開2022-146557号公報
【発明の概要】
【発明が解決しようとする課題】
【0004】
コネクタ本体からキャップ本体を外したままにすると、キャップ本体の内側が外部に露出し、キャップ本体の内側にゴミが付着しうる。キャップ本体の内側にゴミが付着した状態で、コネクタ本体の先端部にキャップ本体を再度取り付けた場合、コネクタ本体の内側のコンタクトにゴミが付着して汚染される可能性がある。
【0005】
本発明はこうした課題に鑑みてなされたものであり、その例示的な目的のひとつは、コネクタ本体から外されたキャップ本体の内側にゴミが付着しにくいキャップを提供することにある。
【課題を解決するための手段】
【0006】
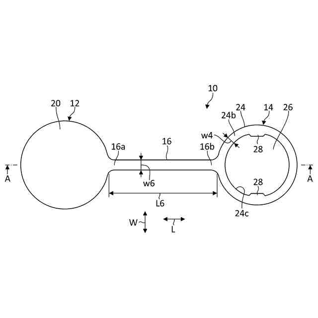
本発明のある態様のキャップは、コネクタ本体の先端部を覆うように取付可能なキャップ本体と、コネクタ本体の基部に固定可能な保持部と、保持部からキャップ本体に向けて長手方向に延び、保持部とキャップ本体を連結する連結部と、を備える。連結部は、キャップ本体を把持して連結部を長手方向の軸まわりに捻る力を加えることによってキャップ本体の向きが反転可能となる可撓性を有し、かつ、キャップ本体を離して連結部を捻る力を解除することによってキャップ本体の向きが元に戻る弾性を有する。
【0007】
本発明の別の態様は、コネクタである。このコネクタは、コネクタ本体と、ある態様のキャップと、を備える。保持部は、連結部が捻れていない状態において、キャップ本体の天面とコネクタ本体の先端部とが同じ側を向くようにコネクタ本体に取り付けられる。
【0008】
本発明のさらに別の態様は、装置である。この装置は、筐体と、筐体の外面から突出するコネクタ本体と、ある態様のキャップと、を備える。保持部は、連結部が捻れていない状態において、キャップ本体の天面とコネクタ本体の先端部とが同じ側を向くようにコネクタ本体に取り付けられる。
【発明の効果】
【0009】
本発明によれば、コネクタ本体から外されたキャップ本体の内側にゴミが付着しにくいキャップを提供できる。
【図面の簡単な説明】
【0010】
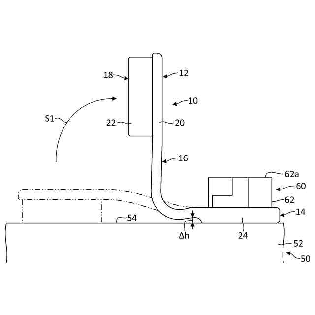
第1の実施の形態に係るキャップの構成を概略的に示す断面図である。
第1の実施の形態に係るキャップの構成を概略的に示す前面図である。
第1の実施の形態に係るキャップの構成を概略的に示す背面図である。
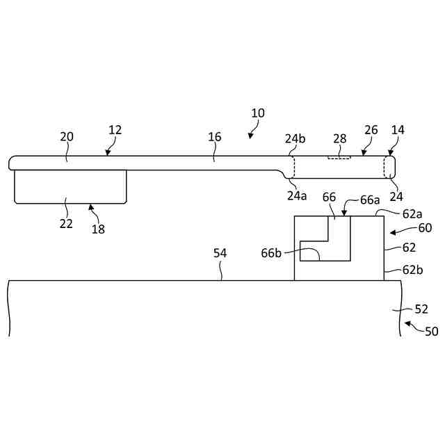
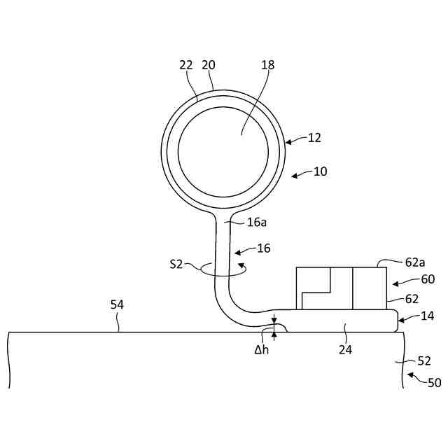
第1の実施の形態に係る装置およびコネクタの構成を概略的に示す上面図である。
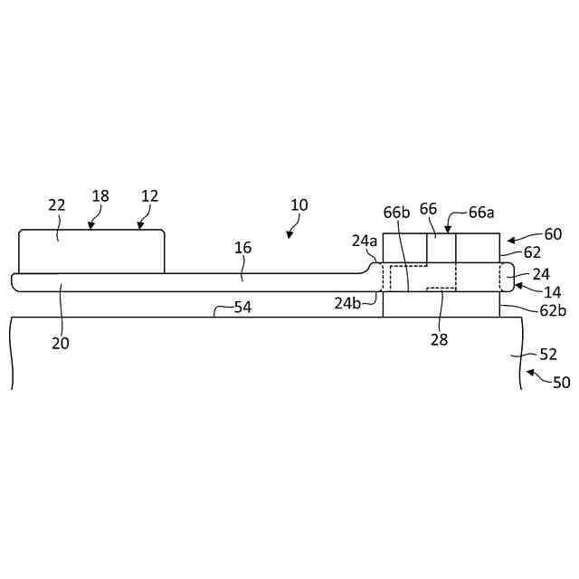
コネクタ本体の基部に保持部を固定する方法を概略的に示す側面図である。
コネクタ本体の基部に保持部を固定する方法を概略的に示す側面図である。
コネクタ本体に保持部を反対向きに固定する場合を示す側面図である。
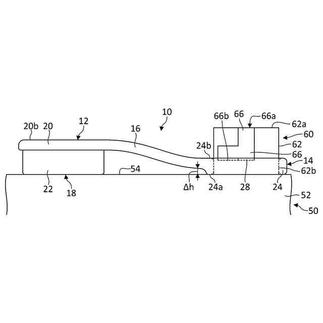
コネクタ本体の先端部にキャップ本体を取り付ける方法を概略的に示す側面図である。
コネクタ本体の先端部にキャップ本体を取り付ける方法を概略的に示す側面図である。
コネクタ本体の先端部にキャップ本体を取り付ける方法を概略的に示す側面図である。
第2の実施の形態に係るコネクタの構成を概略的に示す側面図である。
第2の実施の形態に係るコネクタの構成を概略的に示す上面図である。
コネクタ本体の先端部にキャップ本体を取り付けた状態を概略的に示す側面図である。
コネクタ本体の先端部からキャップ本体を取り外した状態を概略的に示す側面図である。
【発明を実施するための形態】
(【0011】以降は省略されています)
この特許をJ-PlatPat(特許庁公式サイト)で参照する
関連特許
日機装株式会社
遠心ポンプ
8日前
日機装株式会社
キャップ、コネクタおよび装置
26日前
日機装株式会社
医療機器、表示方法およびプログラム
1か月前
日機装株式会社
血液浄化装置、血液浄化システム、及び情報移行方法
16日前
日機装株式会社
医療機器、表示方法およびプログラム
1か月前
日機装株式会社
モータ軸受摩耗監視装置、断線検出プログラム、断線推定プログラム、および断線検出方法
1か月前
日機装株式会社
凍結された腎臓細胞の製造方法及び凍結された腎臓細胞
1か月前
個人
留め具
11日前
個人
鍋虫ねじ
2か月前
個人
紛体用仕切弁
2か月前
個人
回転伝達機構
2か月前
個人
差動歯車用歯形
4か月前
個人
ジョイント
1か月前
個人
給排気装置
18日前
個人
ナット
1か月前
株式会社不二工機
電磁弁
3か月前
個人
地震の揺れ回避装置
3か月前
個人
吐出量監視装置
1か月前
カヤバ株式会社
緩衝器
3か月前
カヤバ株式会社
緩衝器
17日前
カヤバ株式会社
緩衝器
3か月前
柿沼金属精機株式会社
分岐管
2か月前
アズビル株式会社
回転弁
1か月前
株式会社ニフコ
クリップ
22日前
株式会社奥村組
制振機構
26日前
株式会社奥村組
制振機構
26日前
株式会社不二工機
電磁弁
2か月前
株式会社不二工機
電動弁
18日前
株式会社三五
ドライブシャフト
3日前
株式会社タカギ
水栓装置
2か月前
株式会社ノーリツ
分配弁
22日前
株式会社オンダ製作所
識別リング
2か月前
株式会社ノナガセ
免震装置
4日前
アイホン株式会社
電気機器
26日前
株式会社ケアコム
取付器具
2か月前
個人
ワンウェイベアリング
3か月前
続きを見る
他の特許を見る