TOP
|
特許
|
意匠
|
商標
特許ウォッチ
Twitter
他の特許を見る
公開番号
2025175376
公報種別
公開特許公報(A)
公開日
2025-12-03
出願番号
2024081438
出願日
2024-05-20
発明の名称
鍵管理システムおよび鍵管理方法
出願人
富士電機株式会社
代理人
インフォート弁理士法人
主分類
H04L
9/08 20060101AFI20251126BHJP(電気通信技術)
要約
【課題】簡単な構成または低コストで、サーバにアクセスするための認証用鍵を端末間でコピーする方法を提供する。
【解決手段】第1の端末の保存部には、秘密鍵および第1のセキュリティコードが保存されている。第2の端末の保存部には、第2のセキュリティコードが保存されている。第1の端末は、第1のセキュリティコードでカウンタコードを暗号化することで暗号化カウンタコードを生成し、サーバに送信する。サーバは、暗号化カウンタコードおよび秘密鍵に対応する公開鍵を第2の端末に送信する。第2の端末は、第2のセキュリティコードで暗号化カウンタコードを復号した結果を、公開鍵で暗号化することで再暗号化カウンタコードを生成する。第1の端末は、秘密鍵で再暗号化カウンタコードを復号した結果がカウンタコードと一致するときに、秘密鍵を第2の端末に送信する。
【選択図】図4
特許請求の範囲
【請求項1】
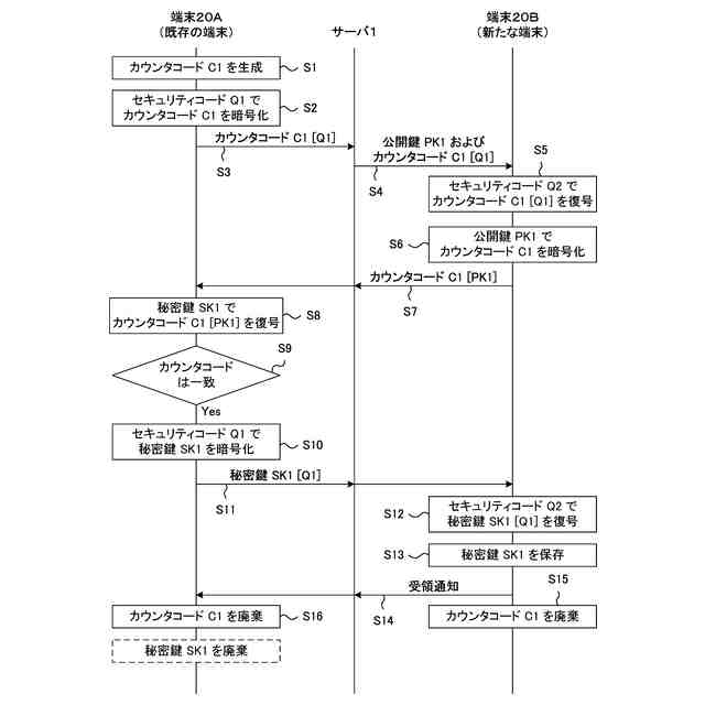
第1の端末および第2の端末がサーバにアクセスする際に使用する秘密鍵を管理する鍵管理システムであって、
前記第1の端末は、
第1の保存部と、
第1の鍵管理部と、を備え、
前記第2の端末は、
第2の保存部と、
第2の鍵管理部と、を備え、
前記第1の保存部には、予め、前記秘密鍵および第1のセキュリティコードが保存されており、
前記第2の保存部には、予め、第2のセキュリティコードが保存されており、
前記サーバは、前記秘密鍵に対応する公開鍵を保持し、
前記第1の鍵管理部は、
所定のカウンタコードを生成し、
前記第1のセキュリティコードで前記カウンタコードを暗号化することで暗号化カウンタコードを生成し、
前記暗号化カウンタコードを前記サーバに送信し、
前記サーバは、前記暗号化カウンタコードおよび前記公開鍵を前記第2の端末に送信し、
前記第2の鍵管理部は、
前記第2のセキュリティコードで前記暗号化カウンタコードを復号することで復号カウンタコードを生成し、
前記公開鍵で前記復号カウンタコードを暗号化することで再暗号化カウンタコードを生成し、
前記第1の鍵管理部は、
前記秘密鍵で前記再暗号化カウンタコードを復号することで再復号カウンタコードを生成し、
前記カウンタコードと前記再復号カウンタコードとが一致するときに、前記秘密鍵を前記第2の端末に送信する
ことを特徴とする鍵管理システム。
続きを表示(約 990 文字)
【請求項2】
前記第1の鍵管理部が前記秘密鍵を前記第2の端末に送信する処理は、
前記第1のセキュリティコードで前記秘密鍵を暗号化することで暗号化秘密鍵を生成する工程と、
前記暗号化秘密鍵を前記第2の端末に送信する工程と、を含み、
前記第2の鍵管理部は、前記第2のセキュリティコードで前記暗号化秘密鍵を復号することで前記秘密鍵を取得する
ことを特徴とする請求項1に記載の鍵管理システム。
【請求項3】
前記第2の鍵管理部は、前記秘密鍵を取得した後に、
前記復号カウンタコードを廃棄し、
前記秘密鍵を取得したことを表す受領通知を前記第1の端末に送信し、
前記第1の鍵管理部は、前記受領通知を受信すると、前記カウンタコードを廃棄する
ことを特徴とする請求項2に記載の鍵管理システム。
【請求項4】
第1の端末および第2の端末がサーバにアクセスする際に使用する秘密鍵を管理する鍵管理方法であって、
前記第1の端末が備える第1の保存部には、予め、前記秘密鍵および第1のセキュリティコードが保存されており、
前記第2の端末が備える第2の保存部には、予め、第2のセキュリティコードが保存されており、
前記サーバは、前記秘密鍵に対応する公開鍵を保持し、
前記第1の端末は、
所定のカウンタコードを生成し、
前記第1のセキュリティコードで前記カウンタコードを暗号化することで暗号化カウンタコードを生成し、
前記暗号化カウンタコードを前記サーバに送信し、
前記サーバは、前記暗号化カウンタコードおよび前記公開鍵を前記第2の端末に送信し、
前記第2の端末は、
前記第2のセキュリティコードで前記暗号化カウンタコードを復号することで復号カウンタコードを生成し、
前記公開鍵で前記復号カウンタコードを暗号化することで再暗号化カウンタコードを生成し、
前記第1の端末は、
前記秘密鍵で前記再暗号化カウンタコードを復号することで再復号カウンタコードを生成し、
前記カウンタコードと前記再復号カウンタコードとが一致するときに、前記秘密鍵を前記第2の端末に送信する
ことを特徴とする鍵管理方法。
発明の詳細な説明
【技術分野】
【0001】
本発明は、サーバにアクセスする際に使用する認証用鍵を端末間で共有するシステムおよび方法に係わる。
続きを表示(約 1,900 文字)
【背景技術】
【0002】
認証用鍵を使用してサーバにアクセスするシステムにおいては、サーバおよびクライアント端末に事前に認証用鍵が登録される。このようなシステムにおいてクライアント端末を交換するときは、サーバおよび新たなクライアント端末に認証用鍵が再登録される。ただし、認証用鍵の再登録は、システムの管理者にとって大きな負担である。そこで、端末間で認証用鍵をコピーする方法が提案されている(例えば、特許文献1)。
【先行技術文献】
【特許文献】
【0003】
特許第6479723号
【発明の概要】
【発明が解決しようとする課題】
【0004】
上述のように、端末間で認証用鍵をコピーする方法が提案されている。ただし、従来の技術では、端末間で認証用鍵をコピーする際のコストが大きくなることがある。例えば、特許文献1に記載のシステムでは、コピー元端末およびコピー先端末の双方で生体認証等のユーザ認証が実施された後に認証用鍵のコピーが許可される。すなわち、従来の技術では、セキュリティを確保するために生体認証デバイス等の専用の機器が必要であり、コストが大きくなる。
【0005】
本発明の1つの側面に係わる目的は、簡単な構成または低コストで、サーバにアクセスするための認証用鍵を端末間でコピーする方法を提供することである。
【課題を解決するための手段】
【0006】
本発明の1つの態様に係わる鍵管理システムは、第1の端末および第2の端末がサーバにアクセスする際に使用する秘密鍵を管理する。前記第1の端末は、第1の保存部と、第1の鍵管理部と、を備える。前記第2の端末は、第2の保存部と、第2の鍵管理部と、を備える。前記第1の保存部には、予め、前記秘密鍵および第1のセキュリティコードが保存されている。前記第2の保存部には、予め、第2のセキュリティコードが保存されている。前記サーバは、前記秘密鍵に対応する公開鍵を保持する。前記第1の鍵管理部は、所定のカウンタコードを生成し、前記第1のセキュリティコードで前記カウンタコードを暗号化することで暗号化カウンタコードを生成し、前記暗号化カウンタコードを前記サーバに送信する。前記サーバは、前記暗号化カウンタコードおよび前記公開鍵を前記第2の端末に送信する。前記第2の鍵管理部は、前記第2のセキュリティコードで前記暗号化カウンタコードを復号することで復号カウンタコードを生成し、前記公開鍵で前記復号カウンタコードを暗号化することで再暗号化カウンタコードを生成する。前記第1の鍵管理部は、前記秘密鍵で前記再暗号化カウンタコードを復号することで再復号カウンタコードを生成し、前記カウンタコードと前記再復号カウンタコードとが一致するときに、前記秘密鍵を前記第2の端末に送信する。
【発明の効果】
【0007】
上述の態様によれば、簡単な構成または低コストで、サーバにアクセスするための認証用鍵を端末間でコピーできる。
【図面の簡単な説明】
【0008】
本発明の実施形態に係わるクライアントサーバシステムの一例を示す図である。
本発明の実施形態に係わる端末の構成の一例を示す図である。
クライアントサーバシステムにおいて既存の端末を新たな端末に交換するケースの一例を示す図である。
端末間で秘密鍵をコピーする手順の一例を示すシーケンス図である。
【発明を実施するための形態】
【0009】
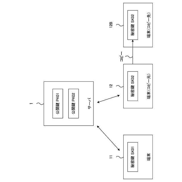
図1は、本発明の実施形態に係わるクライアントサーバシステムの一例を示す。この実施例では、サーバ1は、端末11および端末12にサービスを提供する。端末11および端末12は、それぞれサーバ1のクライアントである。すなわち、各端末11、12は、サーバ1が提供するサービスを受けることができる。
【0010】
各端末(11、12)は、サーバ1にアクセスするための認証用鍵を保持する。この実施例では、公開鍵暗号を利用してサーバ1へのアクセスが認証される。したがって、端末11は秘密鍵SK01を保持し、端末12は秘密鍵SK02を保持する。サーバ1は、各端末(11、12)が使用する秘密鍵に対応する公開鍵を保持する。この実施例では、サーバ1は、秘密鍵SK01に対応する公開鍵PK01および秘密鍵SK02に対応する公開鍵PK02を保持する。
(【0011】以降は省略されています)
この特許をJ-PlatPat(特許庁公式サイト)で参照する
関連特許
富士電機株式会社
駆動回路
1か月前
富士電機株式会社
集積回路
6日前
富士電機株式会社
冷却装置
6日前
富士電機株式会社
電磁接触器
2か月前
富士電機株式会社
電磁接触器
2か月前
富士電機株式会社
電磁接触器
2か月前
富士電機株式会社
半導体装置
2か月前
富士電機株式会社
半導体装置
20日前
富士電機株式会社
電磁接触器
2か月前
富士電機株式会社
電磁接触器
2か月前
富士電機株式会社
電磁接触器
14日前
富士電機株式会社
半導体装置
7日前
富士電機株式会社
自動販売機
7日前
富士電機株式会社
パネル構造
6日前
富士電機株式会社
自動販売機
1か月前
富士電機株式会社
パネル構造
6日前
富士電機株式会社
半導体装置
1か月前
富士電機株式会社
商品収納装置
1か月前
富士電機株式会社
飲料供給装置
6日前
富士電機株式会社
金銭処理装置
1か月前
富士電機株式会社
学習システム
1か月前
富士電機株式会社
ショーケース
1か月前
富士電機株式会社
飲料抽出装置
1か月前
富士電機株式会社
硬貨処理装置
1か月前
富士電機株式会社
硬貨処理装置
1か月前
富士電機株式会社
自動販売装置
1か月前
富士電機株式会社
半導体モジュール
1か月前
富士電機株式会社
ガス処理システム
1か月前
富士電機株式会社
半導体モジュール
1か月前
富士電機株式会社
チャンネルベース
2か月前
富士電機株式会社
半導体モジュール
1か月前
富士電機株式会社
チャンネルベース
2か月前
富士電機株式会社
電力変換システム
2か月前
富士電機株式会社
制御装置、制御方法
1か月前
富士電機株式会社
集積回路、電源回路
1か月前
富士電機株式会社
自動販売機システム
6日前
続きを見る
他の特許を見る