TOP
|
特許
|
意匠
|
商標
特許ウォッチ
Twitter
他の特許を見る
10個以上の画像は省略されています。
公開番号
2025177888
公報種別
公開特許公報(A)
公開日
2025-12-05
出願番号
2024085036
出願日
2024-05-24
発明の名称
脆弱性分析装置、脆弱性分析方法
出願人
株式会社日立製作所
代理人
弁理士法人サンネクスト国際特許事務所
主分類
G06F
21/57 20130101AFI20251128BHJP(計算;計数)
要約
【課題】分析対象機器の脆弱性の分析を効果的に行う。
【解決手段】脆弱性分析装置2は、分析対象機器の脆弱性分析を行う装置であって、分析対象機器の脆弱性に関する脆弱性情報231を取得する脆弱性情報取得部212と、脆弱性情報231に基づいて、脆弱性が悪用される可能性がある1つ以上の悪用可能条件を導出する悪用可能条件導出部213と、悪用可能条件導出部213により導出された悪用可能条件を出力する分析結果出力部218と、を備える。
【選択図】図3
特許請求の範囲
【請求項1】
分析対象機器の脆弱性分析を行う装置であって、
前記分析対象機器の脆弱性に関する脆弱性情報を取得する脆弱性情報取得部と、
前記脆弱性情報に基づいて、前記脆弱性が悪用される可能性がある1つ以上の悪用可能条件を導出する悪用可能条件導出部と、
前記悪用可能条件導出部により導出された前記悪用可能条件を出力する分析結果出力部と、を備える、
脆弱性分析装置。
続きを表示(約 1,100 文字)
【請求項2】
請求項1に記載の脆弱性分析装置であって、
前記悪用可能条件導出部は、前記悪用可能条件の各々について、確認作業や対策の容易度に応じた優先順位を決定し、
前記分析結果出力部は、前記悪用可能条件ごとに決定された前記優先順位を出力する、
脆弱性分析装置。
【請求項3】
請求項1に記載の脆弱性分析装置であって、
前記悪用可能条件導出部は、生成AIを用いて前記悪用可能条件を導出する、
脆弱性分析装置。
【請求項4】
請求項1に記載の脆弱性分析装置であって、
前記悪用可能条件導出部が導出した各悪用可能条件について、前記分析対象機器の仕様に関する製品情報と当該悪用可能条件に基づき、前記分析対象機器において前記脆弱性の悪用が可能か否かの悪用可否判定を行う悪用可否判定部を備え、
前記分析結果出力部は、前記悪用可否判定部による前記悪用可能条件ごとの前記悪用可否判定の結果を出力する、
脆弱性分析装置。
【請求項5】
請求項4に記載の脆弱性分析装置であって、
前記分析結果出力部は、前記悪用可否判定の根拠と、前記分析対象機器における前記脆弱性の影響を確認するための提案と、の少なくとも一方に関する情報を、前記悪用可能条件ごとに出力する、
脆弱性分析装置。
【請求項6】
請求項5に記載の脆弱性分析装置であって、
前記分析結果出力部は、
前記悪用可否判定により、前記分析対象機器において前記脆弱性の悪用が可能と前記悪用可否判定部が判定した前記悪用可能条件については、当該判定結果の根拠に関する情報を出力し、
前記悪用可否判定の実施が不可能な前記悪用可能条件については、前記提案に関する情報を出力する、
脆弱性分析装置。
【請求項7】
請求項4に記載の脆弱性分析装置であって、
前記悪用可否判定部による前記悪用可能条件ごとの前記悪用可否判定の結果と、予め設定された制約条件および推定ルールと、に基づいて、前記分析対象機器における前記脆弱性への対策の必要性を推定する対策要否推定部を備える、
脆弱性分析装置。
【請求項8】
分析対象機器の脆弱性分析を行う方法であって、
コンピュータにより、
前記分析対象機器の脆弱性に関する脆弱性情報を取得し、
前記脆弱性情報に基づいて、前記脆弱性が悪用される可能性がある1つ以上の悪用可能条件を導出し、
前記悪用可能条件をユーザに提示する、
脆弱性分析方法。
発明の詳細な説明
【技術分野】
【0001】
本発明は、分析対象機器の脆弱性に関する分析を行う装置および方法に関する。
続きを表示(約 2,000 文字)
【背景技術】
【0002】
近年、様々な分野においてIoT(Internet of Things)機器を用いたサービスの利用が進んでおり、これに伴ってIoT機器の脆弱性を狙ったサイバー攻撃が増加している。こうしたIoT機器を対象としたサイバー攻撃に対して的確な対処を行うために、近年ではPSIRT(Product Security Incident Response Team)の導入が注目されている。PSIRTとは、IoT機器の開発や製造を行う企業においてセキュリティ対策を担う組織のことであり、既知の脅威や脆弱性に関する情報の収集および分析を行い、自社の製品やサービスへの影響を考慮して有効な対策の立案等を行う。
【0003】
PSIRTにおける重要な業務の一つに、収集した脅威や脆弱性の情報に基づき、その脅威や脆弱性が自社の製品に対して損害を及ぼす可能性の分析を行い、その分析結果に基づいて対策が必要か否かを判断することが挙げられる。その際には、自社製品とセキュリティの両面に詳しい分析者が必要となる。しかしながら、このような分析者は貴重であり、その人的リソースには制限がある。また、IoT機器で用いられるソフトウェア規模の増大に伴い、分析者の負荷も日々大きくなっている。これらの要因により、企業におけるPSIRTの運用負荷は増加し続けている。
【0004】
上記課題を解決するため、分析対象の脆弱性に関するセキュリティ情報の収集および分析を行い、その分析結果をユーザに提示することで、セキュリティ分析者であるユーザの支援を行う装置が提案されている。例えば特許文献1には、情報システムにおける脆弱性に対するCVSS(Common Vulnerability Scoring System)の環境評価基準および基本評価基準を評価し、これらの評価結果に基づいて情報システムにおける脆弱性の対応要否を判断する分析装置が記載されている。
【先行技術文献】
【特許文献】
【0005】
特許第7396371号
【発明の概要】
【発明が解決しようとする課題】
【0006】
特許文献1の分析装置では、CVSSで規定されたスコア(指標値)に基づいて、情報システムにおける脆弱性の対応要否を判断している。しかしながら、CVSSのスコアでは情報システムの運用環境が十分に考慮されていないため、IoT機器のように様々な運用環境で使用される可能性がある分析対象機器のセキュリティ分析に適用した場合に、その運用環境を正確に反映した分析を行うことが困難である。したがって、特許文献1の分析装置による分析方法は、IoT機器のように運用環境に応じた分析が必要な分析対象機器の脆弱性の分析において、十分とは言えない。
【0007】
本発明は、こうした背景に基づきなされたものであり、分析対象機器の脆弱性の分析を効果的に行うことが可能な技術を提供することを目的とする。
【課題を解決するための手段】
【0008】
本発明による脆弱性分析装置は、分析対象機器の脆弱性分析を行う装置であって、前記分析対象機器の脆弱性に関する脆弱性情報を取得する脆弱性情報取得部と、前記脆弱性情報に基づいて、前記脆弱性が悪用される可能性がある1つ以上の悪用可能条件を導出する悪用可能条件導出部と、前記悪用可能条件導出部により導出された前記悪用可能条件を出力する分析結果出力部と、を備える。
本発明による脆弱性分析方法は、分析対象機器の脆弱性分析を行う方法であって、コンピュータにより、前記分析対象機器の脆弱性に関する脆弱性情報を取得し、前記脆弱性情報に基づいて、前記脆弱性が悪用される可能性がある1つ以上の悪用可能条件を導出し、前記悪用可能条件をユーザに提示する。
【発明の効果】
【0009】
本発明によれば、分析対象機器の脆弱性の分析を効果的に行うことができる。
【図面の簡単な説明】
【0010】
本発明の一実施形態に係る脆弱性分析システムの構成図である。
脆弱性分析装置のハードウェア構成を示す図である。
脆弱性分析装置の機能ブロック図である。
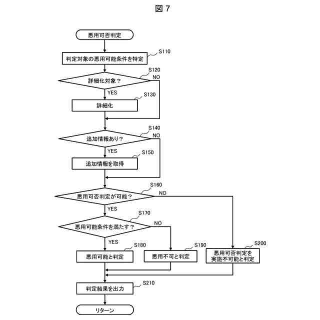
脆弱性分析装置の処理の流れを示すフローチャートである。
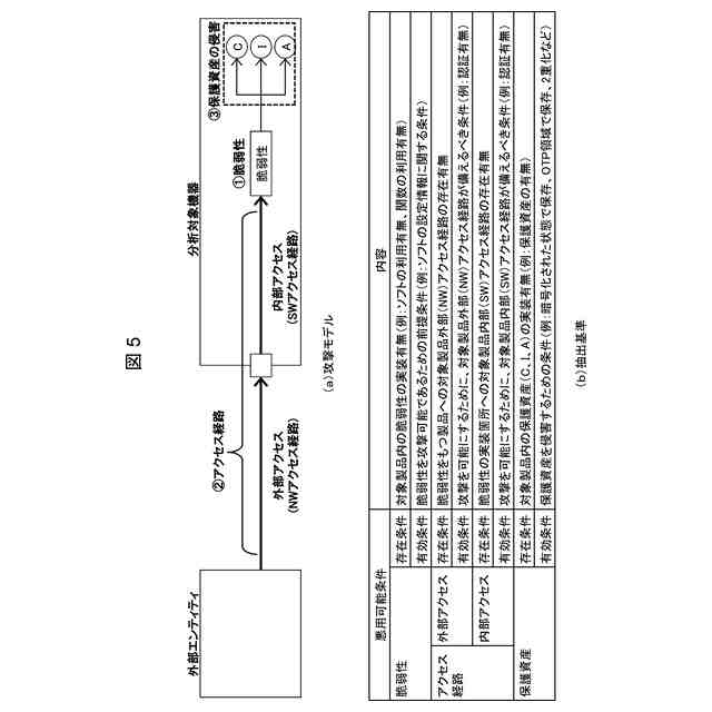
悪用可能条件の抽出に用いられる攻撃モデルと抽出基準の例を示す図である。
悪用可能条件の抽出例を示す図である。
悪用可否判定の処理の流れを示すフローチャートである。
各悪用可能条件に対する悪用可否の判定結果と判定根拠またはサジェストの例を示す図である。
対策要否の推定方法の例を示す図である。
【発明を実施するための形態】
(【0011】以降は省略されています)
この特許をJ-PlatPat(特許庁公式サイト)で参照する
関連特許
株式会社日立製作所
冷却構造
3日前
株式会社日立製作所
軌条車両
3日前
株式会社日立製作所
演算装置
9日前
株式会社日立製作所
回転電機
9日前
株式会社日立製作所
放射線モニタ
1か月前
株式会社日立製作所
電力変換装置
3日前
株式会社日立製作所
電力変換装置
4日前
株式会社日立製作所
電力変換システム
17日前
株式会社日立製作所
システム検証方法
1か月前
株式会社日立製作所
環境負荷算出装置
2日前
株式会社日立製作所
鉄道車両用空調装置
1か月前
株式会社日立製作所
診断装置及び診断方法
2日前
株式会社日立製作所
情報提示装置及び方法
2日前
株式会社日立製作所
分散電源管理システム
4日前
株式会社日立製作所
生産ライン設計システム
25日前
株式会社日立製作所
施設管理装置および方法
17日前
株式会社日立製作所
店舗管理装置および方法
1か月前
株式会社日立製作所
乗降床及び乗客コンベア
1か月前
株式会社日立製作所
実行ハードウエア決定方法
2日前
株式会社日立製作所
署名照合システム及び方法
1か月前
株式会社日立製作所
乗りかご及びエレベーター
1か月前
株式会社日立製作所
飲食店提案装置および方法
1か月前
株式会社日立製作所
乗りかご及びエレベーター
1か月前
株式会社日立製作所
検索システム及び検索方法
1か月前
株式会社日立製作所
モータ、及びロータ固定構造
9日前
株式会社日立製作所
検証システムおよび検証方法
9日前
株式会社日立製作所
IT運用管理装置および方法
10日前
株式会社日立製作所
膜分離設備設計支援システム
17日前
株式会社日立製作所
宇宙機、地上局及びアンテナ
17日前
株式会社日立製作所
生体認証装置、生体認証方法
1か月前
株式会社日立製作所
ソースコードを生成する方法
25日前
株式会社日立製作所
ソフトエラー率評価システム
18日前
株式会社日立製作所
設計支援装置及び設計支援方法
9日前
株式会社日立製作所
鉄道車両の排障器及び鉄道車両
4日前
株式会社日立製作所
水素製造制御システムおよび方法
11日前
株式会社日立製作所
購入関連行動分析装置および方法
1か月前
続きを見る
他の特許を見る