TOP
|
特許
|
意匠
|
商標
特許ウォッチ
Twitter
他の特許を見る
公開番号
2025176613
公報種別
公開特許公報(A)
公開日
2025-12-04
出願番号
2024082886
出願日
2024-05-21
発明の名称
位置推定システム及び位置推定方法
出願人
株式会社日立製作所
代理人
藤央弁理士法人
主分類
G01S
5/02 20100101AFI20251127BHJP(測定;試験)
要約
【課題】位置推定の精度を低コストで向上させることができる。
【解決手段】電波発信機は、所定の通信規格に基づいて、信号列を示す電波を送信し、受信機は、受信した電波の周波数帯ごとの周波数応答を示す周波数応答データを抽出し、電波の受信時刻を取得し、周波数応答データと、受信時刻に関する補助情報と、に基づいて統合データを生成し、受信した電波の周波数応答が示す波形の時間経過に対する不規則性を示す不規則性特徴量を、統合データから抽出し、不規則性特徴量に基づいて、受信機の位置を推定する。
【選択図】図1
特許請求の範囲
【請求項1】
位置推定システムであって、
電波発信機と、受信機と、を備え、
前記電波発信機は、
信号列を生成し、
所定の通信規格に基づいて、前記信号列を示す電波を送信し、
前記受信機は、
前記電波を受信し、
前記受信した電波の周波数帯ごとの周波数応答を示す周波数応答データを、前記電波から抽出し、
前記電波の受信時刻を取得し、
前記周波数応答データと、前記受信時刻に関する補助情報と、に基づいて統合データを生成し、
前記受信した電波の前記周波数応答が示す波形の時間経過に対する不規則性を示す不規則性特徴量を、前記統合データから抽出し、
前記不規則性特徴量に基づいて、前記受信機の位置を推定する、位置推定システム。
続きを表示(約 2,000 文字)
【請求項2】
請求項1に記載の位置推定システムであって、
前記受信機は、
前記受信時刻に基づいて、前記電波が示す信号の欠損及び前記信号の受信時刻のずれの少なくとも一方に関する情報を生成し、
前記生成した情報を前記補助情報に含め、
前記受信した電波の前記周波数応答が示す波形と、前記受信した電波の受信傾向と、の時間経過に対する不規則性を示す前記不規則性特徴量を、前記統合データから抽出する、位置推定システム。
【請求項3】
請求項2に記載の位置推定システムであって、
前記受信機は、
前記受信時刻と、前記電波を最初に受信した時刻と、前記電波発信機による前記電波の所定の送信インターバルと、所定の許容範囲誤差と、に基づいて、前記電波が示す信号の欠損が発生したかを示す信号欠損情報を生成し、
前記信号欠損情報を前記補助情報に含め、
前記受信した電波の前記周波数応答が示す波形の時間経過と、前記信号の欠損と、の時間経過に対する不規則性を示す前記不規則性特徴量を、前記統合データから抽出する、位置推定システム。
【請求項4】
請求項2に記載の位置推定システムであって、
前記受信機は、
前記受信時刻それぞれについて、前回の受信時刻からの差分を示す情報を生成し、
前記差分を示す情報を前記補助情報に含め、
前記受信した電波の前記周波数応答が示す波形と、前記電波の受信時刻のずれと、の時間経過に対する不規則性を示す前記不規則性特徴量を、前記統合データから抽出する、位置推定システム。
【請求項5】
請求項2に記載の位置推定システムであって、
前記電波発信機は、前記信号列に含まれる信号それぞれに対して送信時刻を付与した前記電波を送信し、
前記受信機は、
前記電波から前記送信時刻を取得し、
前記受信時刻と前記送信時刻との差分を示す情報を生成し、
前記差分を示す情報を前記補助情報に含め、
前記受信した電波の前記周波数応答が示す波形と、前記電波の受信時刻の遅れと、の時間経過に対する不規則性を示す前記不規則性特徴量を、前記統合データから抽出する、位置推定システム。
【請求項6】
請求項5に記載の位置推定システムであって、
前記受信機は、前記送信時刻と、前記受信時刻と、前記電波発信機による前記電波の所定の送信インターバルと、に基づいて、かつ最初の前記送信時刻と、最初の前記受信時刻と、を基準として、前記差分を算出する、位置推定システム。
【請求項7】
請求項5に記載の位置推定システムであって、
前記電波発信機と前記受信機との間で時刻を同期し、
前記受信は、前記受信時刻から前記送信を引いた値を前記差分として算出する、位置推定システム。
【請求項8】
請求項1に記載の位置推定システムであって、
前記電波発信機は、前記信号列に含まれる信号それぞれに対して連続する信号を区別する区別補助情報を付与した前記電波を送信し、
前記受信機は、
前記電波から前記区別補助情報を取得し、
前記区別補助情報に基づいて、前記電波が示す信号の欠損及び前記信号の受信順序の入替の少なくとも一方に関する情報を生成し、
前記生成した情報を前記補助情報に含め、
前記受信した電波の前記周波数応答が示す波形と、前記受信した電波の受信傾向と、の時間経過に対する不規則性を示す前記不規則性特徴量を、前記統合データから抽出する、位置推定システム。
【請求項9】
請求項8に記載の位置推定システムであって、
前記受信機は、
直近に受信した所定数の信号に対応する前記区別補助情報に基づいて、前記電波が示す信号の欠損が発生したかを示す順序欠損情報を生成し、
前記順序欠損情報を前記補助情報に含め、
前記受信した電波の前記周波数応答が示す波形と、前記信号の欠損と、時間経過に対する不規則性を示す前記不規則性特徴量を、前記統合データから抽出する、位置推定システム。
【請求項10】
請求項8に記載の位置推定システムであって、
前記受信機は、
直近に受信した所定数の信号に対応する前記区別補助情報に基づいて、前記電波が示す信号の受信順序の入替が発生したかを示す順序入替情報を生成し、
前記順序入替情報を前記補助情報に含め、
前記受信した電波の前記周波数応答が示す波形と、前記信号の受信順序の入替と、の時間経過に対する不規則性を示す前記不規則性特徴量を、前記統合データから抽出する、位置推定システム。
(【請求項11】以降は省略されています)
発明の詳細な説明
【技術分野】
【0001】
本発明は、位置推定システム及び位置推定方法に関する。
続きを表示(約 2,400 文字)
【背景技術】
【0002】
近年、マルチモーダルなデータを活用するシステムが増えている中、ユーザの位置情報は様々なシステムで活用される重要な情報源である。位置情報を取得する測位システムには様々な方式があり、特に衛星電波を用いるGPS(Global Positioning System)は、その手軽さゆえに広く利用されている手法である。しかし、衛星電波が届かない商業施設や工場などの屋内環境では、GPSに代わる方法として、測位のために専用のデバイスを設置し、発信する電波を基に位置推定する必要がある。ビーコン、超音波発信機、及びルータなどは、いずれも当該専用のデバイスの一例である。
【0003】
一般的に電波を用いた測位手法は、環境から受ける電波干渉などのノイズに対して脆弱である。電波の経路には、その性質上、発信機から受信機に電波が伝わるまでに障害物がない直線的な経路に加えて、周囲の物体を経由する反射的な経路がある。これにより、発信機が一回発信した電波に対して、受信機は特性の異なる複数の電波を受信することがあり、当該複数の電波は測位精度を下げるノイズとなる(マルチパスフェージング現象)。
【0004】
従来用いられてきた手法では、発信機と受信機の間に障害物がないLOS(Line of Sight)電波を多くするために、多数の発信機を環境内に密に設置する必要があった。しかし、デバイスの数が増えるほど全体のメンテナンスコストが大きくなってしまい、継続的に運用する場合はそのコストの高さがシステムの導入障壁となっていた。また建設現場のような、そもそもデバイスの設置場所が確保しにくい環境ではLOSの実現が困難である。従って、産業分野では少ないデバイスで屋内測位を実現できる手法が求められている。
【0005】
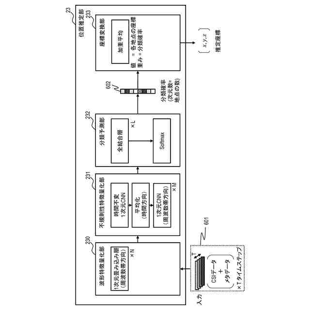
Wi-Fi(登録商標)のCSI(Channel State Information)データを活用するFingerprintingという測位手法は、環境に設置されるデバイス数を抑えつつ、広範囲をカバーできる手法として注目されている。CSIは受信電波の周波数応答を示す情報であり、一般的に周波数帯毎の振幅と位相と表す波形情報として表現される。
【0006】
Fingerprinting法は、環境内で離散的な地点のリストを定義し、各地点でのFingerprint情報(位置情報と観測されるCSIデータのペア)を記録及びデータセット化する。Fingerprinting法は、位置推定時に観測されたCSIデータを、データセットと照合し、CSIデータがどの地点で観測された確率が高いかを予測する。
【0007】
Fingerprinting法は、1台の市販のルータでも半径約100[m]の広範囲で計測できる特性上、大幅なデバイス数削減を実現できる。また、Fingerprinting法は、障害物が多く干渉波が多い環境であっても、干渉波のデータを含めてデータドリブンに予測器を構築できるため、LOSが確保できない環境にも適用可能である。これにより、Fingerprinting法は、メンテナンスコストの増大を抑制可能であったり、デバイスが設置困難な環境にも適用可能であったりする技術として期待されている。
【0008】
本技術分野の背景技術として、非特許文献1及び非特許文献2がある。非特許文献1に記載の技術は、Fingerprinting法による位置推定に、深層学習を用いた予測モデルを採用している。当該予測モデルに1タイムステップのCSIデータにおける周波数帯ごとの振幅及び位相を表す波形データが入力されると、各計測地点に対する分類確率が出力される。非特許文献1に記載の技術は、当該予測モデルに、波形データに対して1次元のCNN(Convolutional Neural Network)が適用されることで、周波数帯方向の特徴量を抽出して予測に活用する。
【0009】
非特許文献2の記載の技術は、深層学習を用いた予測モデルに対して、時間方向の情報量を増やす目的で、1タイムステップではなく連続する30タイムステップのCSIデータを入力する。CSIデータは地点に対して、ある程度固有の波形を示すが、時間経過で波形が揺らぐようなノイズが現れることがある。非特許文献2に記載の技術は、予測モデルに2次元CNNを導入することで、CSIデータを、その揺らぎ方の特性を含めて特徴量化する。具体的には、非特許文献2に記載の技術は、CNNが用いる2次元カーネル内で隣接する周波数帯の関係性と、時間的に隣接する観測の時間発展的な関係性と、をまとめて特徴量化する。
【先行技術文献】
【非特許文献】
【0010】
Wang, Liping and Sudeep Pasricha. “A Framework for CSI-Based Indoor Localization with ID Convolutional Neural Networks.” 2022 IEEE 12th International Conference on Indoor Positioning and Indoor Navigation (IPIN), 2022, pp.1-8
Chen, Hao et al. “ConFi: Convolutional Neural Networks Based Indoor Wi-Fi Localization Using Channel State Information.” IEEE Access 5, 2017, pp.18066-18074
【発明の概要】
【発明が解決しようとする課題】
(【0011】以降は省略されています)
この特許をJ-PlatPat(特許庁公式サイト)で参照する
関連特許
株式会社日立製作所
軌条車両
今日
株式会社日立製作所
鉄道車両
1か月前
株式会社日立製作所
冷却構造
今日
株式会社日立製作所
演算装置
6日前
株式会社日立製作所
回転電機
6日前
株式会社日立製作所
電力変換装置
1日前
株式会社日立製作所
電力変換装置
今日
株式会社日立製作所
放射線モニタ
1か月前
株式会社日立製作所
電力変換システム
14日前
株式会社日立製作所
システム検証方法
29日前
株式会社日立製作所
ガス分離システム
1か月前
株式会社日立製作所
調停案提示システム
1か月前
株式会社日立製作所
鉄道車両用空調装置
28日前
株式会社日立製作所
分散電源管理システム
1日前
株式会社日立製作所
施設管理装置および方法
14日前
株式会社日立製作所
生産ライン設計システム
22日前
株式会社日立製作所
店舗管理装置および方法
29日前
株式会社日立製作所
乗降床及び乗客コンベア
27日前
株式会社日立製作所
データ変換装置および方法
1か月前
株式会社日立製作所
署名照合システム及び方法
1か月前
株式会社日立製作所
乗りかご及びエレベーター
29日前
株式会社日立製作所
検索システム及び検索方法
29日前
株式会社日立製作所
飲食店提案装置および方法
29日前
株式会社日立製作所
乗りかご及びエレベーター
1か月前
株式会社日立製作所
膜分離設備設計支援システム
14日前
株式会社日立製作所
モータ、及びロータ固定構造
6日前
株式会社日立製作所
生体認証装置、生体認証方法
28日前
株式会社日立製作所
ソースコードを生成する方法
22日前
株式会社日立製作所
検証システムおよび検証方法
6日前
株式会社日立製作所
IT運用管理装置および方法
7日前
株式会社日立製作所
ソフトエラー率評価システム
15日前
株式会社日立製作所
宇宙機、地上局及びアンテナ
14日前
株式会社日立製作所
設計支援装置及び設計支援方法
6日前
株式会社日立製作所
鉄道車両の排障器及び鉄道車両
1日前
株式会社日立製作所
スカートモール及び乗客コンベア
14日前
株式会社日立製作所
ガス分離システムの劣化診断装置
14日前
続きを見る
他の特許を見る