TOP
|
特許
|
意匠
|
商標
特許ウォッチ
Twitter
他の特許を見る
公開番号
2025177693
公報種別
公開特許公報(A)
公開日
2025-12-05
出願番号
2024084744
出願日
2024-05-24
発明の名称
車両運行制御装置及び車両運行制御方法
出願人
株式会社日立製作所
代理人
弁理士法人第一国際特許事務所
主分類
G08G
1/16 20060101AFI20251128BHJP(信号)
要約
【課題】専用軌道に一般道から車両を進入させる場合、専用軌道を走行している車両と一般道から進入する車両が衝突することがないように両方の車両を制御する必要がある。そこで、安全性を確保しつつ、輸送力の向上を図ることができる車両運行制御システムを構築する必要がある。
【解決手段】本発明の車両運行制御装置201は、一般車両が進入しようとする専用軌道の区間において、区間内を走行する車両の走行状態に応じて、区間の車両の走行方向である区間方向を決定する区間方向決定部203と、決定された区間方向に基づいて、区間への車両の進入を許可する進入進出制御部204とを備え、区間方向決定部は、区間における在線の車両数が0の場合には、区間方向を未定とし、進入進出制御部は、区間方向が未定の場合には、区間の両端からの車両の進入を許可する。
【選択図】図2
特許請求の範囲
【請求項1】
一般車両が一般道から専用軌道に進入することを可能にする車両運行制御装置において、
前記一般車両が進入しようとする専用軌道の区間において、前記区間内を走行する車両の走行状態に応じて、前記区間の車両の走行方向である区間方向を決定する区間方向決定部と、
決定された前記区間方向に基づいて、前記区間への前記車両の進入を許可する進入進出制御部とを備え、
前記区間方向決定部は、前記区間における在線の車両数が0の場合には、前記区間方向を未定とし、在線している車両数が0でない場合は、前記在線している車両の進行方向に基づいて区間方向を決定し、
前記進入進出制御部は、前記区間方向が未定の場合には、前記区間の両端からの前記車両の進入を許可し、前記区間方向決定部が決定した前記区間方向と同一方向に走行する前記車両については前記区間への進入を許可する
ことを特徴とする車両運行制御装置。
続きを表示(約 2,000 文字)
【請求項2】
請求項1に記載の車両運行制御装置において、
前記進入進出制御部は、区間の両端に配置されたゲート及び前記ゲートの近傍設置された車両を検知するセンサと接続可能であり、
前記区間方向決定部は、前記センサからの情報に基づき、前記区間内を走行する車両の走行状態および前記区間に在線する車両数を判定し、
前記進入進出制御部は、前記ゲートを開状態および閉状態とすることによって前記車両の区間への進入を許可する
ことを特徴とする車両運行制御装置。
【請求項3】
請求項2に記載の車両運行制御装置において、
前記進入進出制御部は、前記区間の進出側の前記センサが車両を検知したとき、前記車両が前記区間から進出することを許可する
ことを特徴とする車両運行制御装置。
【請求項4】
請求項1または2に記載の車両運行制御装置において、
前記車両運行制御装置は、専用車両の運行計画を管理する管理システムに接続可能な計画受信部を備え、
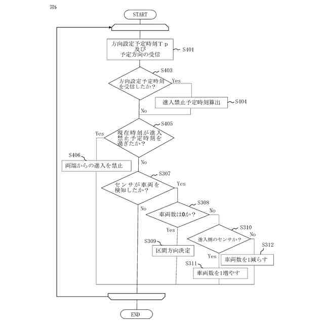
前記区間方向決定部は、前記計画受信部から専用車両の運行計画に基づいた方向設定予定時刻と予定方向を受信し、受信した前記方向設定予定時刻と前記予定方向に基づいて前記区間方向を決定することを特徴とする車両運行制御装置。
【請求項5】
請求項4に記載の車両運行制御装置において、
前記区間方向決定部は、前記方向設定予定時刻から前記専用車両が前記区間を走行する時間である区間走行時分前の時刻を進入禁止予定時刻として算出し、
前記進入進出制御部は、前記進入禁止予定時刻から以降、方向設定予定時刻までの間の時刻に当該区間への車両の進入を禁止する
ことを特徴とする車両運行制御装置。
【請求項6】
請求項1または2に記載の車両運行制御装置において、
前記進入進出制御部は前記車両に設置された無線機と接続可能であり、
前記進入進出制御部において、前記無線機を介して前記車両の前記区間への進入の許可を制御する
ことを特徴とする車両運行制御装置。
【請求項7】
請求項2に記載の車両運行制御装置において、
前記区間方向決定部は、前記センサから入力された進入可能区間に進入しようとする前記車両の走行方向が前記区間方向と矛盾する場合には警報を出力する
ことを特徴とする車両運行制御装置。
【請求項8】
請求項1または2に記載の車両運行制御装置において、
前記進入進出制御部は、前記区間に車両が在線している場合には、別の専用車両が前記区間に進入することを許可しない
ことを特徴とする車両運行制御装置。
【請求項9】
請求項1または2に記載の車両運行制御装置において、
前記進入進出制御部は、前記区間に車両が在線している場合であって、別の専用車両が前記区間に進入しようとするときは、
前記区間に在線している最後尾の車両と前記別の専用車両との距離が前記別の専用車両のブレーキ制動距離Lb以上であるか、前記最後尾の車両が、前記区間に進入してからの経過時間が、前記ブレーキ制動距離Lbを前記別の専用車両の走行速度で除して算出した安全時間よりも長い場合にのみ、別の専用車両が前記区間に進入することを許可する
ことを特徴とする車両運行制御装置。
【請求項10】
専用軌道の区間の両端に配置されたゲート及び前記ゲートの近傍に設置された車両を検知するセンサと接続可能であり、センサ制御部と、区間方向決定部と、進入進出制御部とを備えた車両運行制御装置を用いた車両運行制御方法であって、
前記区間方向決定部は、前記センサから車両を検知した情報を受信した場合には、区間内に在線している車両数及び区間方向を前記進入進出制御部に送信し、
前記進入進出制御部は、
在線している車両数が0の場合は、前記区間の両端のゲートをいずれも開とし、
在線している車両数が0でない場合は、前記在線している車両の進行方向に基づいて区間方向を決定し、
前記区間方向の進入側のゲートは開とし、進出側のゲートは閉とし、
区間方向センサの検知した車両が区間方向に対して進入側か進出側かを判定し、
進入側である場合には、ゲートを開のままとして進入を許可し、
区間方向に対して進出側である場合は、ゲートを開として進出を許可し、
区間方向に矛盾した方向の区間への進入である場合は、ゲートを閉のままとして進入許可を与えない、
ことを特徴とする車両運行制御方法。
(【請求項11】以降は省略されています)
発明の詳細な説明
【技術分野】
【0001】
本発明は、車両運行制御装置及び車両運行制御方法に関する。
続きを表示(約 2,000 文字)
【背景技術】
【0002】
近年、地方における人口の減少の影響等により、鉄道やバス路線の収益が悪化し、鉄道やバスが減便や廃線になるなど、地方の輸送力の低下が懸念されている。そこで、地域の交通課題の解決のために、LRT(Light Rail Transit)やBRT(Bus Rapid Transit)などの公共交通システムが導入されている。しかし、これらの専用軌道を用いた交通システムにおいては、専用軌道は専用車両のみが通行可能となっており、この点で、輸送路としての効率性が課題となっている。そこで、鉄道やバスに対して専用に設けられている専用軌道に、一般道からも車両が進入することを可能にすることで、地方の交通の利便性を向上し、輸送力を向上することが検討されている。
【0003】
一般道から専用軌道へ車両の進入を制御する技術としては、例えば、特許文献1には、一般道路から進入しようとする一般車両は、専用道路の運行管理センターから進入可能ゲートや進入可能時刻等の進入許可情報を取得して専用道路へ進入することができるようにする構成が開示されている。
【0004】
また、特許文献2には専用軌道における車両の安全性を確保する技術として、専用車両の駅間を1つの閉塞区間として、1つの閉塞区間には1つの車両しか走行できないように専用軌道への進入箇所と進出箇所に設けられたゲートを制御し、専用軌道への進入および進出を管理する構成が開示されている。
【先行技術文献】
【特許文献】
【0005】
特開2003-30782号公報
特開2007-87245号公報
【発明の概要】
【発明が解決しようとする課題】
【0006】
専用軌道に一般道から車両を進入させる場合、専用軌道を走行している車両と一般道から進入する車両が衝突することがないように両方の車両を制御する必要がある。
特に専用軌道が1つの車両が走行できる幅しかない場合には、一般道から進入した車両が、専用軌道を走行する車両と逆方向に走行すると正面衝突が発生する恐れがある。
特許文献1は、一般道から進入した車両を、専用軌道を走行している隊列に加える方法について開示している。しかし、特許文献1に記載の技術では、車両が在線しない区間に対しても、運行管理センターにおいて個別の車両ごとに侵入の可否を判断することが必要であり、効率性の点で改善の余地がある。
【0007】
一方で、特許文献2に記載の技術では、駅間を1つの閉そく区間として定義し、1つの閉塞には専用軌道の車両と一般道から進入した車両のどちらでも1つの車両しか進入を許可しないことで安全性を確保している。しかし、この方式では車両間の距離が閉塞の長さで制約されるため、輸送力の向上に限りがある。
そこで、本発明では、安全性を確保しつつ、効率的に輸送力の向上を図ることができる車両運行制御装置を提供することを目的とする。
【課題を解決するための手段】
【0008】
上記の課題を解決するために、代表的な本発明の車両運行制御装置の一つは、一般車両が、一般道路から専用軌道に進入することを可能にする車両運行制御装置である。
本開示の車両運行制御装置は、一般車両が進入しようとする専用軌道の区間において、前記区間内を走行する車両の走行状態に応じて、前記区間の車両の走行方向である区間方向を決定する区間方向決定部と、
決定された前記区間方向に基づいて、前記各区間への前記車両の進入を許可する進入進出制御部とを備え、
前記区間方向決定部は、前記区間における在線の車両数が0の場合には、前記区間方向を未定とし、
前記進入進出制御部は、前記区間方向が未定の場合には、前記区間の両端からの前記車両の進入を許可する。
【発明の効果】
【0009】
上記により、安全性を確保しつつ、効率的に輸送力の向上を図ることができる車両運行制御装置を提供することが可能となる。
上記した以外の課題、構成および効果は、以下の発明を実施をするための形態における説明により明らかにされる。
【図面の簡単な説明】
【0010】
図1は、本発明の概要を示す図である。
図2は、実施例1の車両制御システムの構成を示す図である。
図3は、実施例1の車両運行制御装置の処理フローを示す図である。
図4は、実施例2の車両運行制御システムの構成を示す図である。
図5は、実施例2の車両運行制御装置の処理フローを示す図である。
【発明を実施するための形態】
(【0011】以降は省略されています)
この特許をJ-PlatPat(特許庁公式サイト)で参照する
関連特許
株式会社日立製作所
軌条車両
4日前
株式会社日立製作所
回転電機
10日前
株式会社日立製作所
演算装置
10日前
株式会社日立製作所
冷却構造
4日前
株式会社日立製作所
電力変換装置
5日前
株式会社日立製作所
電力変換装置
4日前
株式会社日立製作所
環境負荷算出装置
3日前
株式会社日立製作所
システム検証方法
1か月前
株式会社日立製作所
電力変換システム
18日前
株式会社日立製作所
鉄道車両用空調装置
1か月前
株式会社日立製作所
情報提示装置及び方法
3日前
株式会社日立製作所
診断装置及び診断方法
3日前
株式会社日立製作所
分散電源管理システム
5日前
株式会社日立製作所
店舗管理装置および方法
1か月前
株式会社日立製作所
生産ライン設計システム
26日前
株式会社日立製作所
乗降床及び乗客コンベア
1か月前
株式会社日立製作所
施設管理装置および方法
18日前
株式会社日立製作所
署名照合システム及び方法
1か月前
株式会社日立製作所
乗りかご及びエレベーター
1か月前
株式会社日立製作所
検索システム及び検索方法
1か月前
株式会社日立製作所
乗りかご及びエレベーター
1か月前
株式会社日立製作所
飲食店提案装置および方法
1か月前
株式会社日立製作所
実行ハードウエア決定方法
3日前
株式会社日立製作所
ソフトエラー率評価システム
19日前
株式会社日立製作所
宇宙機、地上局及びアンテナ
18日前
株式会社日立製作所
モータ、及びロータ固定構造
10日前
株式会社日立製作所
ソースコードを生成する方法
26日前
株式会社日立製作所
生体認証装置、生体認証方法
1か月前
株式会社日立製作所
検証システムおよび検証方法
10日前
株式会社日立製作所
IT運用管理装置および方法
11日前
株式会社日立製作所
膜分離設備設計支援システム
18日前
株式会社日立製作所
設計支援装置及び設計支援方法
10日前
株式会社日立製作所
鉄道車両の排障器及び鉄道車両
5日前
株式会社日立製作所
物体検出装置および物体検出方法
1か月前
株式会社日立製作所
スカートモール及び乗客コンベア
18日前
株式会社日立製作所
購入関連行動分析装置および方法
1か月前
続きを見る
他の特許を見る