TOP
|
特許
|
意匠
|
商標
特許ウォッチ
Twitter
他の特許を見る
公開番号
2025177610
公報種別
公開特許公報(A)
公開日
2025-12-05
出願番号
2024084612
出願日
2024-05-24
発明の名称
生成支援システム、生成支援方法、および生成支援プログラム
出願人
株式会社日立製作所
代理人
藤央弁理士法人
主分類
G06F
16/332 20250101AFI20251128BHJP(計算;計数)
要約
【課題】ポストモーテムで確認すべき項目に対する回答文の有無の明確化を図ること。
【解決手段】プログラムを実行するプロセッサと、プログラムを記憶する記憶デバイスと、を有する生成支援システムは、自然言語のテキストデータである自然文が入力されると、自然文を解釈して自然文に対する回答文を確率的に予測する言語モデルにアクセス可能であり、プロセッサは、インシデントに関する自然文の生成元チケットと、インシデントについて確認すべき確認項目群と、生成元チケットを参照して確認項目群の各々の確認項目についての回答文の生成を要求する自然文である第1プロンプトとを、言語モデルに出力し、生成元チケットと確認項目群と第1プロンプトとを出力した結果、言語モデルが第1プロンプトにおける確認項目の各々の回答文の生成の第1試行結果を含むポストモーテムを取得し、ポストモーテムを出力する。
【選択図】図1
特許請求の範囲
【請求項1】
プログラムを実行するプロセッサと、前記プログラムを記憶する記憶デバイスと、を有する生成支援システムであって、
自然言語のテキストデータである自然文が入力されると、前記自然文を解釈して前記自然文に対する回答文を確率的に予測する言語モデルにアクセス可能であり、
前記プロセッサは、
インシデントに関する前記自然文の生成元チケットと、前記インシデントについて確認すべき確認項目群と、前記生成元チケットを参照して前記確認項目群の各々の確認項目についての回答文の生成を要求する前記自然文である第1プロンプトとを、前記言語モデルに出力する第1要求処理と、
前記第1要求処理により前記生成元チケットと前記確認項目群と前記第1プロンプトとを出力した結果、前記言語モデルが前記第1プロンプトにおける前記確認項目の各々の回答文の生成の第1試行結果を含むポストモーテムを取得する第1取得処理と、
前記第1取得処理によって取得されたポストモーテムを出力する第1出力処理と、
を実行することを特徴とする生成支援システム。
続きを表示(約 2,300 文字)
【請求項2】
請求項1に記載の生成支援システムであって、
前記プロセッサは、
前記第1取得処理によって取得された第1ポストモーテムに、前記確認項目群のうち前記第1試行結果が前記確認項目を確認可能な回答文ではない不足項目の存否を判定する第1判定処理を実行し、
前記第1出力処理では、前記プロセッサは、前記第1判定処理によって前記不足項目の存否が判定された前記第1ポストモーテムを出力する、
ことを特徴とする生成支援システム。
【請求項3】
請求項2に記載の生成支援システムであって、
前記プロセッサは、
前記不足項目に対する検索クエリに基づいて、チケット群から前記生成元チケットに関連する関連チケットを検索する検索処理と、
前記検索処理によって検索された関連チケットと前記関連チケットで前記不足項目について前記回答文の生成を要求する第2プロンプトとを、前記言語モデルに出力する第2要求処理と、
前記第2要求処理により前記関連チケットと前記第2プロンプトとを出力した結果、前記言語モデルが前記第2プロンプトにおける前記不足項目についての回答文の生成を試行した第2試行結果を取得する第2取得処理と、
前記第2取得処理によって取得された第2試行結果を出力する第2出力処理と、
を実行することを特徴とする生成支援システム。
【請求項4】
請求項3に記載の生成支援システムであって、
前記チケット群の各チケットは、前記チケットを要約したチケット要約テキストをエンベッディングによりベクトル化した埋め込み表現であるチケット要約ベクトルを含み、
前記検索処理では、前記プロセッサは、前記チケット群のうち、前記不足項目に対する検索クエリに該当し、かつ、チケット要約ベクトル間の距離が所定距離以内であるチケットを、前記関連チケットとして検索する、
ことを特徴とする生成支援システム。
【請求項5】
請求項3に記載の生成支援システムであって、
前記第2取得処理では、前記プロセッサは、前記確認項目群、前記第1試行結果、および前記第2試行結果を含む第2ポストモーテムを取得し、
前記第2出力処理では、前記プロセッサは、前記第2取得処理によって取得された第2ポストモーテムを出力する、
を実行することを特徴とする生成支援システム。
【請求項6】
請求項3に記載の生成支援システムであって、
前記プロセッサは、
前記第2取得処理によって取得された第2試行結果に基づいて、前記不足項目の存否を判定する第2判定処理を実行する、
ことを特徴とする生成支援システム。
【請求項7】
請求項6に記載の生成支援システムであって、
前記プロセッサは、
前記第2判定処理によって前記不足項目がなくなるまで、前記検索処理、前記第2要求処理、前記第2取得処理、および第2出力処理を繰り返し実行することを特徴とする生成支援システム。
【請求項8】
請求項1に記載の生成支援システムであって、
前記生成元チケットは、前記インシデントに対する作業内容を記述した作業メモを要約した作業メモ要約テキストを含む、
ことを特徴とする生成支援システム。
【請求項9】
プログラムを実行するプロセッサと、前記プログラムを記憶する記憶デバイスと、を有する生成支援システムが実行する生成支援方法であって、
自然言語のテキストデータである自然文が入力されると、前記自然文を解釈して前記自然文に対する回答文を確率的に予測する言語モデルにアクセス可能であり、
前記プロセッサは、
インシデントに関する前記自然文の生成元チケットと、前記インシデントについて確認すべき確認項目群と、前記生成元チケットを参照して前記確認項目群の各々の確認項目についての回答文の生成を要求する前記自然文である第1プロンプトとを、前記言語モデルに出力する第1要求処理と、
前記第1要求処理により前記生成元チケットと前記確認項目群と前記第1プロンプトとを出力した結果、前記言語モデルが前記第1プロンプトにおける前記確認項目の各々の回答文の生成の第1試行結果を含むポストモーテムを取得する第1取得処理と、
前記第1取得処理によって取得されたポストモーテムを出力する第1出力処理と、
を実行することを特徴とする生成支援方法。
【請求項10】
自然言語のテキストデータである自然文が入力されると、前記自然文を解釈して前記自然文に対する回答文を確率的に予測する言語モデルにアクセス可能なプロセッサに、
インシデントに関する前記自然文の生成元チケットと、前記インシデントについて確認すべき確認項目群と、前記生成元チケットを参照して前記確認項目群の各々の確認項目についての回答文の生成を要求する前記自然文である第1プロンプトとを、前記言語モデルに出力する第1要求処理と、
前記第1要求処理により前記生成元チケットと前記確認項目群と前記第1プロンプトとを出力した結果、前記言語モデルが前記第1プロンプトにおける前記確認項目の各々の回答文の生成の第1試行結果を含むポストモーテムを取得する第1取得処理と、
前記第1取得処理によって取得されたポストモーテムを出力する第1出力処理と、
を実行させることを特徴とする生成支援プログラム。
発明の詳細な説明
【技術分野】
【0001】
本発明は、文の生成を支援する生成支援システム、生成支援方法、および生成支援プログラムに関する。
続きを表示(約 2,100 文字)
【背景技術】
【0002】
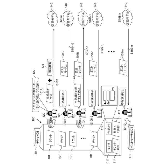
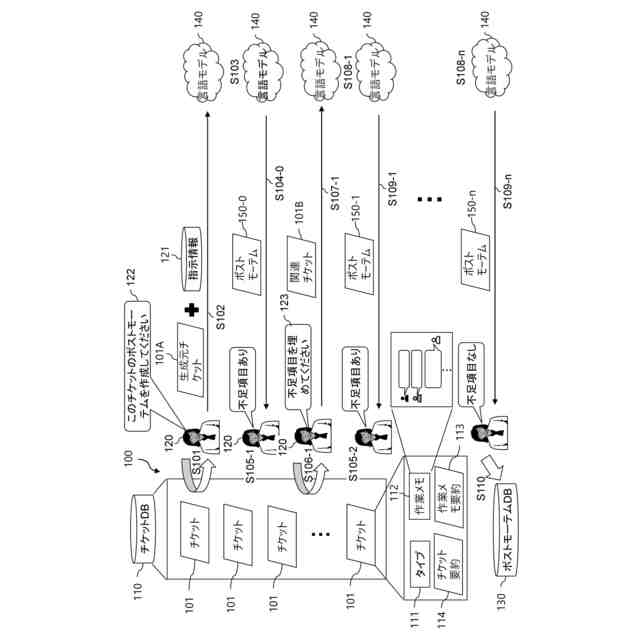
ポストモーテムとは、インシデント、インシデントのインパクト、インパクトの緩和や解消のために行われたアクション、インシデントの根本原因、および、インシデントの再発を避けるためのフォローアップのアクションを記録するために書かれるドキュメントである。
【0003】
特許文献1は、相関するインシデントのインシデントデータの集約をおこなう技術を開示する。特許文献1において、インシデントサービスは、IT環境内のインシデントを識別し、そのインシデントとIT環境内の他のインシデントとの間の相関関係を判断する。関連付けが完了すると、インシデントサービスは、そのインシデントのインシデントデータを他のインシデントのインシデントデータと集約し、集約されたインシデントデータを使用して概要を生成する。
【先行技術文献】
【特許文献】
【0004】
米国特許第11658863号公報
【発明の概要】
【発明が解決しようとする課題】
【0005】
特許文献1の技術は、インシデント間の関係である相関を自動的に検出し、検出した相関を集約して要約を作成する。インシデント間の関係の検出方法は、インシデントデータを構成する項目(IPアドレス、デバイス障害の識別、ネットワーク脆弱性の識別、サービス中断の識別など)のキーワードの一致度判定で検出する。
【0006】
しかしながら、特許文献1では、ポストモーテム生成に必要な情報(インシデント対応プロセス、対応に要した時間、調査情報)が不足する。また、特許文献1では、無関係なインシデントと相関付けて、不正なポストモーテムが生成される可能性がある。
【0007】
本発明は、ポストモーテムで確認すべき項目に対する回答文の有無の明確化を図ることを目的とする。
【課題を解決するための手段】
【0008】
本願において開示される発明の一側面となる生成支援システムは、プログラムを実行するプロセッサと、前記プログラムを記憶する記憶デバイスと、を有する生成支援システムであって、自然言語のテキストデータである自然文が入力されると、前記自然文を解釈して前記自然文に対する回答文を確率的に予測する言語モデルにアクセス可能であり、前記プロセッサは、インシデントに関する前記自然文の生成元チケットと、前記インシデントについて確認すべき確認項目群と、前記生成元チケットを参照して前記確認項目群の各々の確認項目についての回答文の生成を要求する前記自然文である第1プロンプトとを、前記言語モデルに出力する第1要求処理と、前記第1要求処理により前記生成元チケットと前記確認項目群と前記第1プロンプトとを出力した結果、前記言語モデルが前記第1プロンプトにおける前記確認項目の各々の回答文の生成の第1試行結果を含むポストモーテムを取得する第1取得処理と、前記第1取得処理によって取得されたポストモーテムを出力する第1出力処理と、を実行することを特徴とする。
【発明の効果】
【0009】
本発明の代表的な実施の形態によれば、ポストモーテムで確認すべき項目に対する回答文の有無の明確化を図ることができる。前述した以外の課題、構成及び効果は、以下の実施例の説明により明らかにされる。
【図面の簡単な説明】
【0010】
図1は、ポストモーテム生成例を示す説明図である。
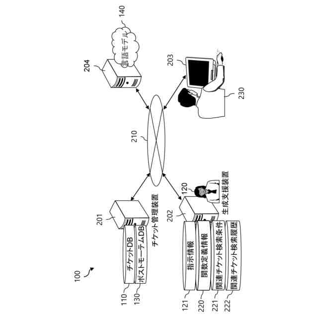
図2は、ポストモーテム生成システムのシステム構成例を示す説明図である。
図3は、計算機のハードウェア構成例を示すブロック図である。
図4は、チケット管理装置で実行される操作プログラムの一例を示す説明図である。
図5は、エージェントの一例を示す説明図である。
図6は、チケットDBの一例を示す説明図である。
図7は、確認項目群の一例を示す説明図である。
図8は、ポストモーテムのデータ構造例を示す説明図である。
図9は、関数定義情報の一例を示す説明図である。
図10は、関連チケット検索条件の一例を示す説明図である。
図11は、関連チケット検索履歴の一例を示す説明図である。
図12は、プロンプト解析シーケンスの一例を示すシーケンス図である。
図13は、作業メモ要約生成シーケンスの一例を示すシーケンス図である。
図14は、作業メモ要約テキストの一例を示す説明図である。
図15は、チケット要約生成シーケンスの一例を示すシーケンス図である。
図16は、チケット要約テキストの一例を示す説明図である。
図17は、ポストモーテム生成シーケンスの一例を示すシーケンス図である。
図18は、ポストモーテムの一例を示す説明図である。
図19は、生成支援画面例を示す説明図である。
【発明を実施するための形態】
(【0011】以降は省略されています)
この特許をJ-PlatPat(特許庁公式サイト)で参照する
関連特許
株式会社日立製作所
鉄道車両
1か月前
株式会社日立製作所
演算装置
10日前
株式会社日立製作所
冷却構造
4日前
株式会社日立製作所
回転電機
10日前
株式会社日立製作所
軌条車両
4日前
株式会社日立製作所
電力変換装置
5日前
株式会社日立製作所
放射線モニタ
1か月前
株式会社日立製作所
電力変換装置
4日前
株式会社日立製作所
環境負荷算出装置
3日前
株式会社日立製作所
ガス分離システム
1か月前
株式会社日立製作所
システム検証方法
1か月前
株式会社日立製作所
電力変換システム
18日前
株式会社日立製作所
調停案提示システム
1か月前
株式会社日立製作所
鉄道車両用空調装置
1か月前
株式会社日立製作所
分散電源管理システム
5日前
株式会社日立製作所
部品管理装置及び方法
1か月前
株式会社日立製作所
診断装置及び診断方法
3日前
株式会社日立製作所
情報提示装置及び方法
3日前
株式会社日立製作所
乗降床及び乗客コンベア
1か月前
株式会社日立製作所
施設管理装置および方法
18日前
株式会社日立製作所
生産ライン設計システム
26日前
株式会社日立製作所
店舗管理装置および方法
1か月前
株式会社日立製作所
検索システム及び検索方法
1か月前
株式会社日立製作所
飲食店提案装置および方法
1か月前
株式会社日立製作所
乗りかご及びエレベーター
1か月前
株式会社日立製作所
乗りかご及びエレベーター
1か月前
株式会社日立製作所
実行ハードウエア決定方法
3日前
株式会社日立製作所
署名照合システム及び方法
1か月前
株式会社日立製作所
データ変換装置および方法
1か月前
株式会社日立製作所
ソフトエラー率評価システム
19日前
株式会社日立製作所
IT運用管理装置および方法
11日前
株式会社日立製作所
生体認証装置、生体認証方法
1か月前
株式会社日立製作所
モータ、及びロータ固定構造
10日前
株式会社日立製作所
宇宙機、地上局及びアンテナ
18日前
株式会社日立製作所
ソースコードを生成する方法
26日前
株式会社日立製作所
膜分離設備設計支援システム
18日前
続きを見る
他の特許を見る