TOP
|
特許
|
意匠
|
商標
特許ウォッチ
Twitter
他の特許を見る
10個以上の画像は省略されています。
公開番号
2025177302
公報種別
公開特許公報(A)
公開日
2025-12-05
出願番号
2024083981
出願日
2024-05-23
発明の名称
材料提案システムおよび材料提案装置
出願人
株式会社日立製作所
代理人
弁理士法人湘洋特許事務所
主分類
G06F
30/10 20200101AFI20251128BHJP(計算;計数)
要約
【課題】デザイン表現に応じた材料の提案を行う技術を提供する。
【解決手段】 プロセッサと、メモリリソースと、を備える情報処理装置を含む材料提案システムであって、情報処理装置は、製品の基本色に応じて成形樹脂の基準材を選定する基準材選定部と、製品のデザイン表現に応じて基準材に混合する混合材を選定する混合材選定部と、少なくとも基準材と、混合材とを画面に表示する表示部と、を備えることを特徴とする。
【選択図】図1
特許請求の範囲
【請求項1】
プロセッサと、メモリリソースと、を備える情報処理装置を含む材料提案システムであって、
前記情報処理装置は、
製品の基本色に応じて成形樹脂の基準材を選定する基準材選定部と、
前記製品のデザイン表現に応じて前記基準材に混合する混合材を選定する混合材選定部と、
少なくとも前記基準材と、前記混合材とを画面に表示する表示部と、
を備えることを特徴とする材料提案システム。
続きを表示(約 1,600 文字)
【請求項2】
請求項1に記載の材料提案システムであって、
前記混合材選定部は、粒子配合、多色混合または均一色のいずれかの前記デザイン表現に応じて、前記混合材の選定を行う、
ことを特徴とする材料提案システム。
【請求項3】
請求項1に記載の材料提案システムであって、
前記混合材選定部は、前記デザイン表現が粒子配合の場合には、粒径を入力情報として受け付けて、前記粒径に応じて前記混合材の選定を行う、
ことを特徴とする材料提案システム。
【請求項4】
請求項1に記載の材料提案システムであって、
前記混合材選定部は、前記デザイン表現が多色混合または均一色の場合には、前記製品の部位による色差のばらつき度合を入力情報として受け付けて、前記色差のばらつき度合に応じて前記混合材の添加量を選定し、
前記表示部は、前記混合材の添加量を前記画面に表示する、
ことを特徴とする材料提案システム。
【請求項5】
請求項1に記載の材料提案システムであって、
前記混合材選定部は、前記デザイン表現が多色混合の場合には、前記製品の形状およびゲート位置を入力情報として受け付けると、前記製品の形状およびゲート位置に応じて前記混合材の流線をシミュレートして得られる前記製品のマーブル形状を特定し、
前記表示部は、前記マーブル形状を前記画面に表示する、
ことを特徴とする材料提案システム。
【請求項6】
請求項1に記載の材料提案システムであって、
前記混合材選定部は、前記デザイン表現が多色混合の場合には、前記製品の形状を入力情報として受け付けると、前記製品の形状および任意の一つまたは複数のゲート位置に応じた前記混合材の流線をシミュレートして得られる前記製品のマーブル形状を前記ゲート位置ごとに特定し、
前記表示部は、前記マーブル形状を前記ゲート位置ごとに前記画面に表示する、
ことを特徴とする材料提案システム。
【請求項7】
請求項1に記載の材料提案システムであって、
前記混合材選定部は、前記デザイン表現が均一色の場合には、前記製品の部位による色差のばらつき度合を入力情報として受け付けて、前記色差のばらつき度合に応じて前記混合材の添加量と成形条件の組み合わせの候補を選定し、
前記表示部は、前記混合材の添加量と成形条件の組み合わせの候補を前記画面に表示する、
ことを特徴とする材料提案システム。
【請求項8】
請求項1に記載の材料提案システムであって、
前記製品の表面の光沢度に応じて前記製品の表面仕上の種類を選定する表面仕上選定部を備え、
前記表示部は、前記表面仕上の種類を前記画面に表示する、
ことを特徴とする材料提案システム。
【請求項9】
製品の基本色に応じて成形樹脂の基準材を選定する基準材選定部と、
前記製品のデザイン表現に応じて前記基準材に混合する混合材を選定する混合材選定部と、
少なくとも前記基準材と、前記混合材とを画面に表示する表示部と、
を備えることを特徴とする材料提案装置。
【請求項10】
プロセッサと、メモリリソースと、を備える情報処理装置を用いる材料提案方法であって、
前記情報処理装置に、
製品の基本色に応じて成形樹脂の基準材を選定する基準材選定ステップと、
前記製品のデザイン表現に応じて前記基準材に混合する混合材を選定する混合材選定ステップと、
少なくとも前記基準材と、前記混合材とを画面に表示する表示ステップと、
を実施させることを特徴とする材料提案方法。
発明の詳細な説明
【技術分野】
【0001】
本発明は、材料提案システムおよび材料提案装置に関する。
続きを表示(約 1,600 文字)
【背景技術】
【0002】
近年、グローバルメジャー企業が再生材を活用したフラグシップ製品をリリースする等、再生材を利用する製品の高付加価値化に伴って、再生材需要が急増している。再生材の取引価格が上昇しつつあるものの、依然として再生材活用が環境価値として製品価格に反映できない局面も存在する。
【0003】
アプローチとして、再生材利用ならではの色調ばらつきをカジュアルなイメージに活用する製品デザインがなされつつ、一方で再生材を利用しつつも再生材らしさを感じさせない製品デザインも生まれており、適切な再生材の利用や使いこなしがデザインの重要なポイントとなりつつある。
【0004】
再生材を用いる場合に、大きく分類すると、粒子を配合することで天然石のような見栄えを得たり、色調の異なる素材を混合させてマーブル調の見栄えを得たり、あるいは単色になるまで混合させて単色に見えるようにするデザイン方法がある。
【0005】
特許文献1には、形温度以上に融点を有する結晶性熱可塑性ポリマーと特定の複素粘性率を有する熱可塑性ポリマーの混合物又はこれに着色剤を配合した模様形成材0.1~40重量%を熱可塑性ポリマーのベース材99.9~60重量%と混合し、所定の温度条件で成形する技術が記載されている。
【先行技術文献】
【特許文献】
【0006】
特開平9-31207号公報
【発明の概要】
【発明が解決しようとする課題】
【0007】
しかしながら、特許文献1に記載の技術では、マーブル調の表面外観を実現する材料構成は得られるものの、上述のような再生材の使いこなしをデザイン面でサポートすることについては開示がない。本発明の目的は、デザイン表現に応じた材料の提案を行う技術を提供することを目的とする。
【課題を解決するための手段】
【0008】
本願は、上記課題の少なくとも一部を解決する手段を複数含んでいるが、その例を挙げるならば、以下のとおりである。上記の課題を解決する本発明の一態様に係る材料提案システムは、プロセッサと、メモリリソースと、を備える情報処理装置を含む材料提案システムであって、前記情報処理装置は、製品の基本色に応じて成形樹脂の基準材を選定する基準材選定部と、前記製品のデザイン表現に応じて前記基準材に混合する混合材を選定する混合材選定部と、少なくとも前記基準材と、前記混合材とを画面に表示する表示部と、を備えることを特徴とする。
【発明の効果】
【0009】
本発明によれば、デザイン表現に応じた材料の提案を行う技術を提供することができる。上記した以外の課題、構成および効果は、以下の発明を実施するための形態の説明により明らかにされる。
【図面の簡単な説明】
【0010】
材料提案システムの構成例を示す図である。
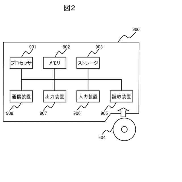
材料提案装置のハードウェア構成の例を示す図である。
基準材情報のデータ構造の例を示す図である。
マスターバッチ情報のデータ構造の例を示す図である。
表面加工情報のデータ構造の例を示す図である。
材料提案処理の処理フローの例を示す図である。
基準材選択処理の処理フローの例を示す図である。
マスターバッチ選択(粒子配合)処理の処理フローの例を示す図である。
マスターバッチ選択(多色混合)処理の処理フローの例を示す図である。
マスターバッチ選択(均一)処理の処理フローの例を示す図である。
材料提案画面(多色混合)の例を示す図である。
材料提案画面(均一)の例を示す図である。
【発明を実施するための形態】
(【0011】以降は省略されています)
この特許をJ-PlatPat(特許庁公式サイト)で参照する
関連特許
株式会社日立製作所
演算装置
9日前
株式会社日立製作所
鉄道車両
1か月前
株式会社日立製作所
軌条車両
3日前
株式会社日立製作所
冷却構造
3日前
株式会社日立製作所
回転電機
9日前
株式会社日立製作所
放射線モニタ
1か月前
株式会社日立製作所
電力変換装置
4日前
株式会社日立製作所
電力変換装置
3日前
株式会社日立製作所
電力変換システム
17日前
株式会社日立製作所
システム検証方法
1か月前
株式会社日立製作所
環境負荷算出装置
2日前
株式会社日立製作所
ガス分離システム
1か月前
株式会社日立製作所
鉄道車両用空調装置
1か月前
株式会社日立製作所
調停案提示システム
1か月前
株式会社日立製作所
情報提示装置及び方法
2日前
株式会社日立製作所
分散電源管理システム
4日前
株式会社日立製作所
診断装置及び診断方法
2日前
株式会社日立製作所
店舗管理装置および方法
1か月前
株式会社日立製作所
生産ライン設計システム
25日前
株式会社日立製作所
施設管理装置および方法
17日前
株式会社日立製作所
乗降床及び乗客コンベア
1か月前
株式会社日立製作所
乗りかご及びエレベーター
1か月前
株式会社日立製作所
署名照合システム及び方法
1か月前
株式会社日立製作所
データ変換装置および方法
1か月前
株式会社日立製作所
実行ハードウエア決定方法
2日前
株式会社日立製作所
乗りかご及びエレベーター
1か月前
株式会社日立製作所
飲食店提案装置および方法
1か月前
株式会社日立製作所
検索システム及び検索方法
1か月前
株式会社日立製作所
IT運用管理装置および方法
10日前
株式会社日立製作所
検証システムおよび検証方法
9日前
株式会社日立製作所
宇宙機、地上局及びアンテナ
17日前
株式会社日立製作所
生体認証装置、生体認証方法
1か月前
株式会社日立製作所
膜分離設備設計支援システム
17日前
株式会社日立製作所
ソフトエラー率評価システム
18日前
株式会社日立製作所
モータ、及びロータ固定構造
9日前
株式会社日立製作所
ソースコードを生成する方法
25日前
続きを見る
他の特許を見る