TOP
|
特許
|
意匠
|
商標
特許ウォッチ
Twitter
他の特許を見る
公開番号
2025175908
公報種別
公開特許公報(A)
公開日
2025-12-03
出願番号
2024100139
出願日
2024-06-21
発明の名称
円筒形リチウム電池キャップ、当該キャップ付きのリチウム電池および電池製造工程
出願人
深セン得道未来科技有限公司
代理人
個人
主分類
H02J
7/00 20060101AFI20251126BHJP(電力の発電,変換,配電)
要約
【課題】構造がコンパクトで合理的で、生産に便利で、小型で、BMS基板を設置する必要があるためにセルの容量が小さくなる影響を最小限に抑えることができる電池マネジメント管理システム(BMS)基板を内蔵する円筒形リチウム電池キャップ及び円筒形リチウム電池キャップ付きの円筒形リチウム電池を提供する。
【解決手段】円筒形リチウム電池キャップ付きの円筒形リチウム電池において、キャップ機構は、キャップケース11と、正極導電性金属キャップ12と、BMSコンポーネント13と、BMSコンポーネントの保護に用いるプラスチック製ブラケット14と、を含む。BMSコンポーネントは、BMSマザーボード部131と、正極絶縁キャップ部132と、を含み、BMSマザーボード部にはBMSマネジメントシステムを形成する複数の電子部品133が設けられ、正極絶縁キャップ部は円筒形リチウムの正極221側に向けて設置される。
【選択図】図3
特許請求の範囲
【請求項1】
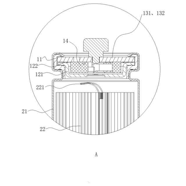
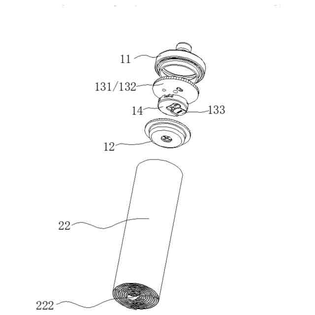
BMS基板を内蔵する円筒形リチウム電池キャップであって、キャップ機構(1)を含み、前記キャップ機構(1)はキャップケース(11)、正極導電性金属キャップ(12)、BMSコンポーネント(13)、BMSコンポーネント(13)の保護に用いるプラスチック製ブラケット(14)又は金属導電リング(15)からなり、
前記キャップケース(11)は円筒形リチウム電池の鋼製ケース(21)の内側に接続するために用いられ、
前記正極導電性金属キャップ(12)はキャップケース(11)の内側にあり、リチウム電池セル(22)の正極との電気接続に用いられ、
前記BMSコンポーネント(13)はBMSマザーボード部(131)、正極絶縁キャップ部(132)、BMSマザーボード部(131)の上に設置され、かつ、BMSマネジメントシステムを形成する複数の電子部品(133)からなり、正極絶縁キャップ部(132)は円筒形リチウム電池の正極側に向けて設置され、かつ、キャップケース(11)と、円筒形リチウム電池の鋼製ケース(21)と密閉接続され、BMSマザーボード(131)と正極絶縁キャップ部(132)は一体成形され、又は分割して設置され、
前記正極絶縁キャップ部(132)は正極導電性金属キャップ(12)の上方にあり、かつ、電池の正極側に向け、正極絶縁キャップ部(132)はキャップケース(11)と密閉嵌合し、かつ、BMSコンポーネント(13)は鋼製ケースと電気接続され、
前記正極導電性金属キャップ(12)は溝付きの本体部(121)と、本体部(121)と一体成型するフランジ部(122)とを含み、前記BMSマザーボード部(131)上の電子部品(133)は溝に向けて設置し、
プラスチック製ブラケット(14)を使用するとき、前記BMSマザーボード部(131)と、プラスチック製ブラケット(14)は正極導電性金属キャップ(12)と正極絶縁キャップ部(132)との間にあり、かつ、前記正極絶縁キャップ部(132)はフランジ部(122)に当接して接続し、
金属導電リング(15)を使用するとき、前記BMSマザーボード(131)、金属導電リング(15)は正極導電金属キャップ(12)と正極絶縁キャップ部(132)の間にあり、かつ、前記金属導電リング(15)はフランジ部(122)とBMSバザーボード部(131)の間にある、ことを特徴とする前記BMS基板を内蔵する円筒形リチウム電池キャップ。
続きを表示(約 2,100 文字)
【請求項2】
前記フランジ部(122)の正極絶縁キャップ部(132)に向ける側にはエンボス部(1221)が設けられる、ことを特徴とする請求項1に記載のBMS基板を内蔵する円筒形リチウム電池キャップ。
【請求項3】
前記正極導電性金属キャップ(12)は、正極絶縁キャップ部(132)と、キャップケース(11)と密閉接続される、ことを特徴とする請求項1に記載のBMS基板を内蔵する円筒形リチウム電池キャップ。
【請求項4】
前記正極導電性金属キャップ(12)は、プラスチック製ブラケット(14)と、キャップケース(11)と密閉接続される、ことを特徴とする、ことを特徴とする請求項1に記載のBMS基板を内蔵する円筒形リチウム電池キャップ。
【請求項5】
前記正極導電性金属キャップ(12)のセルの正極に向ける側の中央部には防爆逃がし部(123)が設けられ、防爆逃がし部(123)の厚さは正極導電性金属キャップ(12)の他の位置の厚さよりも薄く、かつ、セル(22)の内部圧力が閾値を超えると、防爆逃がし部(123)は電池内部の過大な圧力による爆発を防止することができる、ことを特徴とする請求項1に記載のBMS基板を内蔵する円筒形リチウム電池キャップ。
【請求項6】
前記BMSマザーボード部(131)と正極絶縁キャップ部(132)には外気と相互に連通する外気と溝穴が設けられ、防爆逃がし部が爆発した後、防爆逃がし部は溝穴と導通する、することを特徴とする請求項1に記載のBMS基板を内蔵する円筒形リチウム電池キャップ。
【請求項7】
円筒形リチウム電池であって、電池絶縁ケースと、電池絶縁ケースの内部に設置される鋼製ケース(21)と、鋼製ケース(21)の内部に設置されるセル(22)とを含み、セルの負極(222)は鋼製ケース(21)に電気接続され、前記鋼製ケース(21)の内部には請求項1?6のいずれか一項に記載のBMS基板を内蔵する円筒形リチウム電池キャップが設けられ、セルの正極(221)は正極導電性金属キャップ(12)に電気接続され、正極絶縁キャップ部(132)の電池に向ける正極導電柱側には一回りの半田部が設けられ、この半田部は鋼製ケース(21)に電気接続され、正極絶縁キャップ部(132)の電池の正極導電柱に向ける側には一回りの半田部が設けられ、この半田部は鋼製ケース(21)に電気接続される、ことを特徴とする前記円筒形リチウム電池。
【請求項8】
前記マザーボード部と正極絶縁キャップ部(132)には、リチウム電池を充放電させてリチウム電池を活性化するために用いられる相互に導通し、かつ、リチウム電池化成処理時に使用する化成孔が設けられる、ことを特徴とする請求項8に記載の円筒形リチウム電池。
【請求項9】
請求項8に記載する円筒形リチウム電池の製造に用い、以下の手順を含むことを特徴とする円筒形リチウム電池の製造工程であって、
キャップの製造工程は、以下を含み、
手順1、複数の電子部品(133)をBMSマザーボード部(131)に実装し、BMSマザーボード部(131)の実装処理を完了し、
手順2、プラスチック製ブラケット(14)の防水塗装を行ってから、シーラントを噴射し、シーラントが乾燥した後、プラスチック製ブラケットに対して軟化処理を行い、
手順3、正極導電性金属キャップ(12)をシーラントが乾燥したプラスチック製ブラケット(14)内に装入し、そしてBMSコンポーネント(13)を装着し、BMSコンポーネント(13)を内蔵するリチウム電池キャップの製造を完了し、
電池巻き芯の製造工程は、以下を含み、
手順1、材料配合、
手順2、塗布、
手順3、シート作成、
手順4、巻き取り、
完成品組立工程は、以下を含み、
手順1、セル(22)を鋼製ケース(21)に装入し、セルの負極(222)を鋼製ケース(21)の内側の底部にレーザー溶接し、
手順2、セル(22)が鋼製ケース(21)内部に固定されて落下しないように鋼製ケース(21)の溝を圧延し、
手順3、セルの正極(221)を正極導電性金属キャップ(12)の裏面の縁部にレーザー溶接し、
手順4、キャップを溶接したコンポーネントを乾燥して水分を除去し、電解液を注入し、
手順5、鋼製ケース(21)の開口部全体を内側に巻き、正極絶縁キャップ部(132)の半田部に押圧し、負極を導通するように密封し、
手順6、お客様の外観要件に応じて対応する印刷スリーブを覆設し、コードを印刷し、
手順7、キャビネットに入れて化成処理と老化化処理を行い、
手順8、老化処理後に充電可能なリチウム電池を完全充電し、異なる容量と電圧の電池を区分し、
手順9、安全に貯蔵し、輸送できるように充電可能リチウム電池専用梱包箱を用いて梱包する。
発明の詳細な説明
【技術分野】
【0001】
本発明は円筒形リチウム電池技術分野に関し、特にBMS基板を内蔵する円筒形リチウム電池キャップ及び当該キャップ付きの円筒形リチウム電池に関する。
続きを表示(約 2,600 文字)
【背景技術】
【0002】
円筒形リチウム電池は一般的な二次電池であり、リチウムイオン電池とも呼ばれる。このような電池は円筒形の容器で構成され、内部には正極、負極、電解質などがあり、電池キャップは円筒形リチウム電池の構成部分であり、その上部の密閉処理に用いる。
【0003】
現在、市販の円筒形リチウム電池にはBMSシステムを備えるものとBMSシステムを備えないものがある。電池マネジメント管理システム(Battery Management System BMS)は現代電池技術の重要な構成部分であり、特に電気自動車と再生可能エネルギー貯蔵システムにおいて重要な役割を果たしている。BMSの主な機能は、電池パックのエネルギー利用率を安全かつ安定に高めることを確保することである。
【0004】
リチウム電池の外形寸法には標準的なものがあり、例えば単3電池、単4電池がある。円筒形リチウム電池にBMSシステムを搭載するには、リチウム電池のセルを縮小し、独立して密封された電池セルと独立したBMSシステムを完了してからその両者を電池ケースに入れて電気的に接続する必要がある。こBMSシステム付きの円筒形リチウム電池は、BMSシステムと電池単体が別々に取り付けられているので、電池のセルが大幅に縮小し、電池容量が低下し、電池全体の重量が増加し、生産製造コストが高く、生産加工時の取り付けが複雑であるなどの問題が生じ、電池の応用範囲と性能を制限した。
したがって、BMS基板を内蔵する小型化された充電可能な円筒形リチウム電池をどのように製造することは、当分野の技術的難題となっている。
【0005】
本発明の出願者は出願番号がCN202310996046.2である「BMS基板を内蔵する円筒形リチウム電池キャップ」という発明特許を出願したことがあり、鋼製ケースと、鋼製ケースの内側に接続する BMS基板付きのキャップと、その下端はBMS基板付きのキャップの内部に接続するプラスチック製ブラケットと、その下端がプラスチック製ブラケットの内部に接続する正極導電性金属キャップと、正極導電性金属キャップの上端外縁に接続するPCBA基板とを含み、前記PCBA基板の下端中央部は正極導電性金属キャップの中央部に伸び、かつ、PCBA基板はBMSチップと、電源マネジメントチップと、電池制御チップと、表示チップとマルチプレクサとを含み、前記PCBA基板の上端外縁には負極金属リングが接続され、前記鋼製ケースの開口部全体は内側に巻き、かつ、負極金属リングに接触し、負極を導通する。前記負極金属リングの内側壁には正極プラスチック製キャップが接続されており、両者の間に減衰が存在し、かつ、正極プラスチック製キャップの中央部は開孔構造であり、外部の正極金属性柱と嵌め合う。本発明は従来の円筒形リチウム電池のキャップ構造を解決し、使用上のニーズを満たすために、監視に用いるBMSを内蔵しており、設置手順を簡略化した。
【0006】
しかし、上記の解決手段では、プラスチック製ブラケット構造の設置、負極金属リング、正極プラスチック製キャップの使用により、キャップ全体の構造は最も小型化されておらず、依然として改善の余地がある。
【発明の概要】
【発明が解決しようとする課題】
【0007】
本発明の第1の目的は、BMS基板を内蔵する円筒形リチウム電池キャップを提供することであり、その構造がコンパクトで合理的であり、生産製造に便利であり、小型化された内蔵BMS基板付きの円筒形リチウム電池の製造に有利であり、本発明に記載のBMS基板を内蔵する円筒形リチウム電池キャップ付きで、BMS基板を設置する必要があるためにセルの容量が小さくなる影響を最小限に抑えることができる。
【0008】
本発明の第2の目的は、円筒形リチウム電池を提供することであり、その内部にBMS基板付きの円筒形リチウム電池キャップは、小型化された内蔵BMS基板付きの円筒形リチウム電池の利点があり、BMS基板を設置することでセルの容量が小さくなる影響を最小限に抑え、かつ、その構造は簡単でコンパクトで、密封性が良く、電池の実用性が高く、安全で信頼性が高い。
【0009】
本発明の第3の目的は、円筒形リチウム電池の製造工程を提供し、簡単で便利な方式で前記の円筒形リチウム電池を製造する。
【課題を解決するための手段】
【0010】
第1の目的を達成する第1の発明は、BMS基板を内蔵する円筒形リチウム電池キャップであって、キャップ機構を含み、前記キャップ機構はキャップケースと、正極導電性金属キャップと、BMSコンポーネントと、BMSコンポーネントの保護に用いるプラスチック製ブラケットとを含み、
前記キャップケースは円筒形リチウム電池の鋼製ケースの内側に接続するために用いられ、
前記正極導電性金属キャップはキャップケースの内側にあり、リチウム電池セルの正極との電気接続に用いられ、
前記BMSコンポーネントはBMSマザーボード部と、正極絶縁キャップ部とを含み、BMSマザーボード部にはBMSマネジメントシステムを形成するための複数の電子部品が設けられ、正極絶縁キャップ部は円筒形リチウム電池の正極側に向けて設置され、かつ、キャップケースと、円筒形リチウム電池の鋼製ケースと密閉接続され、マザーボード部と正極絶縁キャップ部は一体成形され、又は分割して設置され、
前記正極導電性金属キャップは溝付きの本体部と、本体部と一体成型するフランジ部とを含み、前記BMSマザーボード部上の電子部品は溝に向けて設置され、プラスチック製ブラケットを使用するとき、前記BMSマザーボード部と、プラスチック製ブラケットは正極導電性金属キャップと正極絶縁キャップ部との間にあり、かつ、前記正極絶縁キャップ部はフランジ部に当接して接続し、
金属導電リングを使用するとき、前記BMSマザーボード、金属導電リングは正極導電金属キャップと正極絶縁キャップ部の間にあり、かつ、前記金属導電リングはフランジ部とBMSバザーボード部の間にある。
(【0011】以降は省略されています)
この特許をJ-PlatPat(特許庁公式サイト)で参照する
関連特許
個人
電気を重力で発電装置
28日前
個人
高圧電気機器の開閉器
15日前
キヤノン電子株式会社
モータ
1か月前
キヤノン電子株式会社
モータ
27日前
日星電気株式会社
ケーブル組立体
1か月前
コーセル株式会社
電源装置
1か月前
株式会社アイドゥス企画
減反モータ
15日前
トヨタ自動車株式会社
モータ
27日前
株式会社デンソー
端子台
8日前
個人
二次電池繰返パルス放電器用印刷基板
1か月前
株式会社デンソー
電力変換装置
1か月前
ローム株式会社
半導体集積回路
6日前
本田技研工業株式会社
回転電機
1日前
矢崎総業株式会社
電源回路
14日前
株式会社日立製作所
回転電機
6日前
株式会社TMEIC
制御装置
7日前
株式会社デンソー
非接触受電装置
1か月前
トヨタ自動車株式会社
固定子の加熱装置
1か月前
矢崎総業株式会社
給電装置
7日前
大和ハウス工業株式会社
敷設用機器
7日前
トヨタ自動車株式会社
ステータの製造装置
28日前
個人
非対称鏡像力を有する4層PWB電荷搬送体
22日前
ローム株式会社
モータドライバ回路
22日前
日産自動車株式会社
ロータシャフト
22日前
日産自動車株式会社
ロータシャフト
22日前
山洋電気株式会社
モータ
1か月前
トヨタ自動車株式会社
可変界磁ロータ
1か月前
個人
電線盗難防止方法及び電線盗難防止装置
1か月前
京商株式会社
模型用非接触電力供給システム
15日前
株式会社土井製作所
ケーブル保護管路
6日前
株式会社マキタ
電動作業機
1か月前
株式会社アイシン
電力変換装置
27日前
株式会社明治ゴム化成
ワイヤレス給電用部品
1か月前
株式会社TMEIC
電力変換装置
7日前
サンデン株式会社
モータ
今日
サンデン株式会社
モータ
今日
続きを見る
他の特許を見る