TOP
|
特許
|
意匠
|
商標
特許ウォッチ
Twitter
他の特許を見る
10個以上の画像は省略されています。
公開番号
2025175774
公報種別
公開特許公報(A)
公開日
2025-12-03
出願番号
2024082030
出願日
2024-05-20
発明の名称
分散リソース管理装置および分散リソース管理方法
出願人
株式会社日立システムズパワーサービス
代理人
ポレール弁理士法人
主分類
H02J
3/00 20060101AFI20251126BHJP(電力の発電,変換,配電)
要約
【課題】
DERMSとDMSの情報連携が無い状況において、地域脱炭素化を推進する自治体・事業者が、出力抑制による機会損失を回避することが可能な分散リソース管理装置1を提供する。
【解決手段】
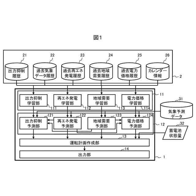
複数の分散リソース42を管理する分散リソース管理装置1において、複数の分散リソース42に対する出力抑制の履歴を示す出力抑制履歴21を記憶する記憶部17と、出力抑制履歴21を学習して、出力抑制学習モデルを作成する学習部11と、出力抑制学習モデルに基づいて、複数の分散リソース42についての出力抑制の発生を予測し、出力抑制予測結果を作成する予測部12と、前記出力抑制予測結果に基づいて、出力抑制に対する複数の分散リソース42の運転計画を作成する運転計画作成部13を有する。
【選択図】 図1
特許請求の範囲
【請求項1】
複数の分散リソースを管理する分散リソース管理装置において、
前記複数の分散リソースに対する出力抑制の履歴を示す出力抑制履歴を記憶する記憶部と、
前記出力抑制履歴を学習して、出力抑制学習モデルを作成する学習部と、
前記出力抑制学習モデルに基づいて、前記複数の分散リソースについての出力抑制の発生を予測し、出力抑制予測結果を作成する予測部と、
前記出力抑制予測結果に基づいて、出力抑制に対する前記複数の分散リソースの運転計画を作成する運転計画作成部を有する分散リソース管理装置。
続きを表示(約 1,700 文字)
【請求項2】
請求項1に記載の分散リソース管理装置において、
前記複数の分散リソースには、再生可能エネルギー発電設備が含まれ、
前記予測部は、
前記出力抑制予測結果を作成する出力抑制予測部と、
前記再生可能エネルギー発電設備の発電量を予測して、発電予測結果を作成する発電予測部と、
前記複数の分散リソースの電力需要を予測して、需要予測結果を作成する需要予測部を有し、
前記運転計画作成部は、前記発電予測結果および前記需要予測結果に基づき、前記運転計画を作成する分散リソース管理装置。
【請求項3】
請求項1に記載の分散リソース管理装置において、
前記予測部は、予め定められた時間帯における前記出力抑制が発生する確率を示す出力抑制確率を算出し、当該出力抑制確率に応じて、前記時間帯を出力抑制関連期間に区分する出力抑制予測部を有し、
前記運転計画作成部は、区分された前記出力抑制関連期間に応じた前記運転計画を作成する分散リソース管理装置。
【請求項4】
請求項3に記載の分散リソース管理装置において、
前記複数の分散リソースには、蓄電設備および再生可能エネルギー発電設備が含まれ、
前記出力抑制予測部は、前記出力抑制関連期間から、前記出力抑制確率が閾値以上である出力抑制リスク期間を抽出し、
前記運転計画作成部は、前記運転計画として、前記出力抑制リスク期間において、前記再生可能エネルギー発電設備の発電電力を前記蓄電設備に充電する運転計画、および、前記出力抑制リスク期間において、前記再生可能エネルギー発電設備が接続する配電系統への逆潮流を低減する運転計画のうち少なくとも一方を作成する分散リソース管理装置。
【請求項5】
請求項3に記載の分散リソース管理装置において、
前記複数の分散リソースには、蓄電設備が含まれ、
前記出力抑制予測部は、前記出力抑制関連期間から、前記出力抑制確率が閾値以上である出力抑制リスク期間より以前の事前準備期間を抽出し、
前記運転計画作成部は、前記運転計画として、前記事前準備期間において、前記蓄電設備から放電する運転計画を作成する分散リソース管理装置。
【請求項6】
請求項4に記載の分散リソース管理装置において、
さらに、前記予測部は、電力価格を予測し、電力価格予測結果を作成する電力価格予測部を有する分散リソース管理装置。
【請求項7】
請求項6に記載の分散リソース管理装置において、
前記電力価格予測部は、前記電力価格予測結果において、電力価格が予め定められた売電促進閾値を上回る売電促進期間および予め定められた買電促進閾値を下回る買電促進期間を抽出する分散リソース管理装置。
【請求項8】
請求項7に記載の分散リソース管理装置において、
前記出力抑制予測部は、前記出力抑制関連期間から、前記出力抑制リスク期間より以前の事前準備期間を抽出し、
前記運転計画作成部は、前記事前準備期間と前記売電促進期間とが重複する重複期間が存在する場合に、前記運転計画として、前記重複期間に前記蓄電設備から放電される電力を売却する運転計画を作成する分散リソース管理装置。
【請求項9】
請求項8に記載の分散リソース管理装置において、
前記学習部は、さらに、前記再生可能エネルギー発電設備の発電履歴を示す過去再エネ発電履歴を学習して、再エネ発電モデルを作成する再エネ発電学習部を有し、
前記予測部は、前記再エネ発電モデルに基づき、需要予測結果を作成する需要予測部を有する分散リソース管理装置。
【請求項10】
請求項1に記載の分散リソース管理装置において、
前記学習部は、前記分散リソースに含まれる再生可能エネルギー発電設備が接続する配電系統内に設置される第2の複数の分散リソースの出力抑制履歴を学習する出力抑制学習部を有する分散リソース管理装置。
(【請求項11】以降は省略されています)
発明の詳細な説明
【技術分野】
【0001】
本発明は、複数の分散エネルギーリソース(以下、単に分散リソースと称する)を管理する分散リソース管理装置、および分散リソース管理方法に関する。
続きを表示(約 1,800 文字)
【背景技術】
【0002】
脱炭素化に向け、今後、再生可能エネルギー(以下、再エネ)設備の大量導入が見込まれる。配電系統では、各地域で発電された再エネ電力の上位系統への逆潮流の増加や、需要家サイトにおける電気自動車(Electric Vehicle:EV)の急速充電等の急激な負荷に伴う順潮流の増加が見込まれており、これらを適切に管理し、系統安定性を維持する必要がある。
【0003】
需要家サイトの発電・蓄電・負荷設備、および系統に直接接続される発電・蓄電設備を総称して分散エネルギーリソース(Distributed Energy Resource:DER)と呼ぶ。配電系統に点在するDERを運用管理するシステムを分散エネルギーリソース管理システム(Distributed Energy Resource Management System:DERMS)と呼ぶ。DERMSを適切に運用して配電系統の混雑管理を行うことで、配電設備への投資を抑制しつつ、再エネ導入を進めることが可能と期待されている。
【0004】
特許文献1には、DERMSの構成例および動作例が開示されている。具体的には、特許文献1では、系統の需給調整のために、系統の電圧および電流の制約を満たしながら、各DERの有効電力制御量の範囲をVPPアグリゲータに提供することができる分散型エネルギーリソース管理装置が開示されている。
【先行技術文献】
【特許文献】
【0005】
特開2023-088158号公報
【発明の概要】
【発明が解決しようとする課題】
【0006】
ここで、一般的にはDERMSはDMSと情報連携して運用される。具体的には、DERMSはDMSから配電系統の電圧や潮流等の安定性に関わる情報を受信し、それに基づき、DERの運転計画作成と制御を行うことで、系統安定化とDER活用の両面において貢献する。一般送配電事業者がDERMSを運用する場合には、DMSとDERMSの情報連携は問題なく行うことができる。
【0007】
一方で、近年、自治体が民間事業者と連携して地域の脱炭素化を推進する取組みが活発化しているが、そうした自治体や事業者がDMSと情報連携するための法整備やプラットフォームは未確立である。この場合、DERMSとDMSの情報連携が無い状態で、DERの運転計画を作成する必要がある。
【0008】
近年、再エネ普及に伴い、需給バランスや系統混雑に起因して、再エネ発電設備の出力抑制(または出力制御とも呼ばれる)の頻度が高まる傾向にある。図2に、出力抑制の判断に至るまでのフローの典型例を示す。地域脱炭素化を推進する自治体・事業者は、再エネ発電計画を発電前日に一般送配電事業者に提出する(ステップS11)。図示していないが、別途、小売電気事業者などが、需要計画を需要前日に一般送配電事業者に提出する。一般送配電事業者は、提出された需給計画、および系統混雑予測に基づき、提出された計画の修正指示を行う(ステップS12~ステップS14)。最終的に、実需給の1時間前(ゲートクローズ)までに、需給を一致させる計画となるよう修正を行う。
【0009】
但し、最終計画において、系統混雑の発生が予測される場合は、再エネ発電設備に対して出力抑制が指示される(ステップS15)。例えば、再エネ発電設備のパワーコンディショナーに対するオンライン制御が行われる。このことで、再エネ発電設備での発電が抑制される。抑制された発電分に対しては補償がなされないため、出力抑制は発電事業者にとって機会損失となる。出力抑制スケジュールは出力抑制直前に送付されるため、地域脱炭素化を推進する自治体・事業者は出力抑制回避の対策を行うことが出来ない。したがって、DERMSとDMSの情報連携が無い状況下では、地域脱炭素化を推進する自治体・事業者は、出力抑制による機会損失を回避することが困難である。
【0010】
そこで、本発明の目的は、上記のような、自治体・事業者の機会損失を低減し、分散リソースのより効率的な運用を可能とすることを課題とする。
【課題を解決するための手段】
(【0011】以降は省略されています)
この特許をJ-PlatPat(特許庁公式サイト)で参照する
関連特許
個人
高圧電気機器の開閉器
15日前
個人
電気を重力で発電装置
28日前
キヤノン電子株式会社
モータ
27日前
キヤノン電子株式会社
モータ
1か月前
日星電気株式会社
ケーブル組立体
1か月前
コーセル株式会社
電源装置
1か月前
株式会社アイドゥス企画
減反モータ
15日前
トヨタ自動車株式会社
モータ
27日前
株式会社デンソー
端子台
8日前
株式会社デンソー
回転機
1か月前
個人
二次電池繰返パルス放電器用印刷基板
1か月前
株式会社デンソー
電力変換装置
1か月前
株式会社ミツバ
回転電機
1か月前
本田技研工業株式会社
回転電機
1日前
ローム株式会社
半導体集積回路
6日前
トヨタ自動車株式会社
固定子の加熱装置
1か月前
矢崎総業株式会社
電源回路
14日前
株式会社日立製作所
回転電機
6日前
矢崎総業株式会社
給電装置
7日前
株式会社TMEIC
制御装置
7日前
株式会社デンソー
非接触受電装置
1か月前
ローム株式会社
モータドライバ回路
22日前
大和ハウス工業株式会社
敷設用機器
7日前
個人
非対称鏡像力を有する4層PWB電荷搬送体
22日前
日産自動車株式会社
ロータシャフト
22日前
山洋電気株式会社
モータ
1か月前
トヨタ自動車株式会社
ステータの製造装置
28日前
日産自動車株式会社
ロータシャフト
22日前
株式会社マキタ
電動作業機
1か月前
株式会社明治ゴム化成
ワイヤレス給電用部品
1か月前
京商株式会社
模型用非接触電力供給システム
15日前
トヨタ自動車株式会社
可変界磁ロータ
1か月前
トヨタ紡織株式会社
ロータの製造装置
1か月前
個人
電線盗難防止方法及び電線盗難防止装置
1か月前
株式会社TMEIC
電力変換装置
1か月前
株式会社土井製作所
ケーブル保護管路
6日前
続きを見る
他の特許を見る